TOP
|
特許
|
意匠
|
商標
特許ウォッチ
Twitter
他の特許を見る
10個以上の画像は省略されています。
公開番号
2025158010
公報種別
公開特許公報(A)
公開日
2025-10-16
出願番号
2024060429
出願日
2024-04-03
発明の名称
攻撃監視装置、攻撃監視システム及び攻撃監視方法
出願人
Astemo株式会社
代理人
弁理士法人平木国際特許事務所
主分類
G06F
21/55 20130101AFI20251008BHJP(計算;計数)
要約
【課題】より低リソースな車載システムでサイバー攻撃の監視を継続できる攻撃監視装置、攻撃監視システム及び攻撃監視方法を提供する。
【解決手段】車両Vに実装された攻撃監視装置100であって、脅威シナリオに基づいて第1監視対象501のログを分析することによりサイバー攻撃の発生可能性を算出する車両側攻撃分析部122と、車両Vの外部のサーバ200に実装されて脅威シナリオに基づいて第2監視対象502のログを分析することによりサイバー攻撃の発生可能性を算出するサーバ側攻撃分析部222に、車両側攻撃分析部122による第1監視対象501のログの分析の処理のオフロードを実行させるか否かを判断するオフロード判断部124とを有する。
【選択図】図2
特許請求の範囲
【請求項1】
車両に実装された攻撃監視装置であって、
脅威シナリオに基づいて第1監視対象のログを分析することによりサイバー攻撃の発生可能性を算出する車両側攻撃分析部と、
前記車両の外部のサーバに実装されて前記脅威シナリオに基づいて第2監視対象のログを分析することによりサイバー攻撃の発生可能性を算出するサーバ側攻撃分析部に、前記車両側攻撃分析部による前記第1監視対象のログの分析の処理のオフロードを実行させるか否かを判断するオフロード判断部と、
を有することを特徴とする攻撃監視装置。
続きを表示(約 2,200 文字)
【請求項2】
前記攻撃監視装置の処理負荷を測定する処理負荷測定部をさらに有し、
前記オフロード判断部は、前記処理負荷測定部が測定した前記処理負荷が第1の処理負荷閾値を超えているときに、前記サーバ側攻撃分析部に、前記車両側攻撃分析部による前記第1監視対象のログの分析の処理のオフロードを実行させると判断することを特徴とする請求項1に記載の攻撃監視装置。
【請求項3】
前記車両側攻撃分析部は、複数の前記脅威シナリオに基づいて前記第1監視対象のログを分析することにより前記脅威シナリオのそれぞれで想定されたサイバー攻撃の発生可能性を算出し、
前記脅威シナリオのそれぞれに基づいた前記第1監視対象のログの分析の処理ごとのオフロード優先度が記録されたオフロードリストをさらに有し、
前記オフロード判断部は、前記処理負荷測定部が測定した前記処理負荷が前記第1の処理負荷閾値を超えているときに、前記オフロードリストの前記オフロード優先度が高い前記脅威シナリオに基づいた前記第1監視対象のログの分析の処理の順に、前記サーバ側攻撃分析部に、前記車両側攻撃分析部による前記脅威シナリオに基づいた前記第1監視対象のログの分析の処理のオフロードを実行させると判断することを特徴とする請求項2に記載の攻撃監視装置。
【請求項4】
前記オフロード判断部は、前記処理負荷測定部が測定した前記処理負荷が第2の処理負荷閾値以下であるときに、前記オフロードリストの前記オフロード優先度が低い前記脅威シナリオに基づいた前記第1監視対象のログの分析の処理の順に、前記サーバ側攻撃分析部に、前記車両側攻撃分析部による前記脅威シナリオに基づいた前記第1監視対象のログの分析の処理のオフロードを停止させると判断することを特徴とする請求項3に記載の攻撃監視装置。
【請求項5】
前記脅威シナリオで想定されたサイバー攻撃の重点監視を実行するか否かを判断する重点監視判断部をさらに有し、
前記重点監視判断部は、前記脅威シナリオで想定されたサイバー攻撃の発生可能性が発生可能性閾値を超えているときに、前記車両側攻撃分析部に、前記車両側攻撃分析部による前記脅威シナリオに基づいたログの分析の処理を行う前記第1監視対象の範囲及び前記車両側攻撃分析部による前記脅威シナリオに基づいた前記第1監視対象のログの分析の処理の内容のいずれかの変更を伴う前記重点監視を実行させると判断することを特徴とする請求項4に記載の攻撃監視装置。
【請求項6】
前記脅威シナリオのそれぞれで想定されたサイバー攻撃ごとの重点監視優先度が記録された重点監視リストをさらに有し、
前記重点監視判断部は、前記脅威シナリオで想定されたサイバー攻撃の前記発生可能性が前記発生可能性閾値を超えているときに、前記重点監視リストの前記重点監視優先度が高い前記脅威シナリオで想定されたサイバー攻撃の順に、前記車両側攻撃分析部に、前記脅威シナリオで想定されたサイバー攻撃の前記重点監視を実行させると判断することを特徴とする請求項5に記載の攻撃監視装置。
【請求項7】
前記重点監視判断部は、前記重点監視を実行している前記脅威シナリオで想定されたサイバー攻撃の前記発生可能性が前記発生可能性閾値以下であるときに、前記車両側攻撃分析部に、前記発生可能性が前記発生可能性閾値以下である前記脅威シナリオで想定されたサイバー攻撃の前記重点監視を停止させると判断することを特徴とする請求項6に記載の攻撃監視装置。
【請求項8】
前記重点監視判断部は、前記処理負荷測定部が測定した前記処理負荷が前記第1の処理負荷閾値を超えており、前記サーバ側攻撃分析部に前記車両側攻撃分析部による前記第1監視対象のログの分析の処理のオフロードを実行させていない前記脅威シナリオに基づいた前記第1監視対象のログの分析の処理が無いときは、前記重点監視リストの前記重点監視優先度が低い前記脅威シナリオで想定されたサイバー攻撃の順に、前記車両側攻撃分析部に、前記脅威シナリオで想定されたサイバー攻撃の前記重点監視を強制停止させると判断することを特徴とする請求項7に記載の攻撃監視装置。
【請求項9】
前記重点監視判断部は、
前記重点監視を強制停止させた前記脅威シナリオで想定されたサイバー攻撃について、
規定時間の経過前は、前記脅威シナリオで想定されたサイバー攻撃の前記発生可能性が前記発生可能性閾値を超えているときであっても、前記車両側攻撃分析部に、前記脅威シナリオで想定されたサイバー攻撃の前記重点監視を実行させないと判断し、
前記規定時間の経過後に、前記脅威シナリオで想定されたサイバー攻撃の前記発生可能性が前記発生可能性閾値を超えているときに、前記車両側攻撃分析部に、前記脅威シナリオで想定されたサイバー攻撃の前記重点監視を実行させると判断することを特徴とする請求項8に記載の攻撃監視装置。
【請求項10】
前記処理負荷測定部が測定した前記処理負荷を、前記車両の外部の前記サーバへ送信する通信部をさらに有することを特徴とする請求項9に記載の攻撃監視装置。
(【請求項11】以降は省略されています)
発明の詳細な説明
【技術分野】
【0001】
本発明は、攻撃監視装置、攻撃監視システム及び攻撃監視方法に関する。
続きを表示(約 2,300 文字)
【背景技術】
【0002】
近年、車載システムでは、インターネット等の通信網を介して車外の装置と繋がることにより、ユーザに様々なサービスを提供する。このため、近年の車載システムでは、外部からのサイバー攻撃に対する備えが重要である。例えば、特許文献1には、車両の外部の監視サーバと、車両に実装された車載システムとを備え、監視サーバと車載システムとは外部ネットワークを介して接続される監視システムが開示されている。車載システムは、3以上の監視部を備える。3以上の監視部は、それぞれ信頼性が異なる実行権限にて動作し、実行権限の信頼性の高い監視部が実行権限の信頼性の低い監視部のソフトウェアを監視する。
【先行技術文献】
【特許文献】
【0003】
特開2023-2832号公報
【発明の概要】
【発明が解決しようとする課題】
【0004】
ところで、特許文献1の監視システムのような計算リソースに制約のある車載システムでサイバー攻撃を検知する際には、サイバー攻撃の状況、不正侵入検知システム(IDS:Intrusion Detection System)の動作状況及びセキュリティ以外の車両機能の動作状況によっては、車載システムの計算リソースが不足する可能性がある。
【0005】
本発明は、上記の点を鑑みてなされたものであり、より低リソースな車載システムでサイバー攻撃の監視を継続できる攻撃監視装置、攻撃監視システム及び攻撃監視方法を提供することを目的とする。
【課題を解決するための手段】
【0006】
本発明に係る攻撃監視装置は、車両に実装された攻撃監視装置であって、脅威シナリオに基づいて第1監視対象のログを分析することによりサイバー攻撃の発生可能性を算出する車両側攻撃分析部と、車両の外部のサーバに実装されて脅威シナリオに基づいて第2監視対象のログを分析することによりサイバー攻撃の発生可能性を算出するサーバ側攻撃分析部に、車両側攻撃分析部による第1監視対象のログの分析の処理のオフロードを実行させるか否かを判断するオフロード判断部とを有することを特徴とする。
【発明の効果】
【0007】
本発明によれば、より低リソースな車載システムでサイバー攻撃の監視を継続できる。
本発明に関連する更なる特徴は、本明細書の記述、添付図面から明らかになるものである。また、上記した以外の課題、構成および効果は以下の実施形態の説明により明らかにされる。
【図面の簡単な説明】
【0008】
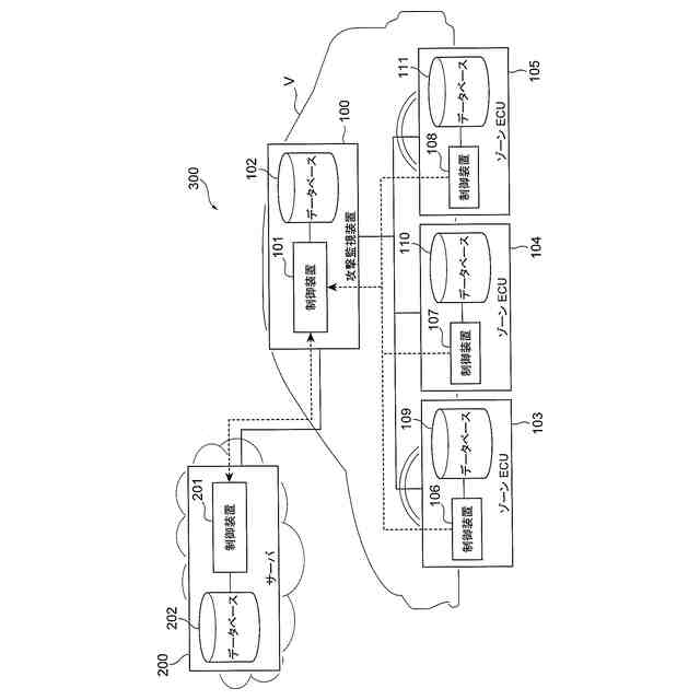
実施形態に係る攻撃監視システムを示す概略図。
図1の攻撃監視装置の機能ブロック図。
図2の脅威シナリオ表の例を示す表。
図2のシナリオ進行管理表の例を示す表。
図2の重点監視リストの例を示す表。
図2のオフロードリストの例を示す表。
図1のサーバの機能ブロック図。
図7の監視状態表の例を示す表。
図7の処理負荷グラフの例を示すグラフ。
(A)、(B)及び(C)は、脅威シナリオで想定されるサイバー攻撃ごとのセキュリティセンサのマッピングを示す図。
(A)、(B)及び(C)は、平常時における脅威シナリオで想定されるサイバー攻撃ごとのログの統合分析の分担を示す図。
攻撃監視装置における重点監視の実行及び停止の処理を示すフローチャート。
攻撃監視装置におけるオフロードを実行させる処理、オフロードを停止させる処理及び重点監視を強制停止する処理を示すフローチャート。
サーバにおけるオフロードの実行及び停止の処理を示すフローチャート。
攻撃監視装置における重点監視の実行の処理を示すフローチャート。
攻撃監視装置における重点監視の停止の処理を示すフローチャート。
攻撃監視装置におけるオフロードの実行の処理を示すフローチャート。
攻撃監視装置におけるオフロードの停止の処理を示すフローチャート。
攻撃監視装置における重点監視の強制停止の処理を示すフローチャート。
(A)、(B)及び(C)は、攻撃監視装置の高負荷時における脅威シナリオで想定されるサイバー攻撃ごとのログの統合分析の分担を示す図。
(A)、(B)及び(C)は、攻撃発生時における脅威シナリオで想定されるサイバー攻撃ごとのログの統合分析の分担を示す図。
【発明を実施するための形態】
【0009】
以下、図面を参照して本発明に係る攻撃監視装置、攻撃監視システム及び攻撃監視方法の実施形態について説明する。
【0010】
まず、本実施形態の攻撃監視システム300について説明する。図1に示すように、本実施形態の攻撃監視システム300は、車両Vに実装された攻撃監視装置100と、車両Vの外部のサーバ200とを備える。本実施形態の攻撃監視システム300は、車両Vの内部の攻撃監視装置100と、車両Vの外部のサーバ200とが連携してサイバー攻撃の分析を行う。攻撃監視装置100は、車両Vの統合ECU(Electronic Control Unit)であり、ゾーンECU103,104,105での攻撃の検知を統合する。攻撃監視装置100は、高性能な車載分析エンジンである。
(【0011】以降は省略されています)
この特許をJ-PlatPat(特許庁公式サイト)で参照する
関連特許
Astemo株式会社
撮像装置
5日前
Astemo株式会社
電子制御装置
10日前
Astemo株式会社
学習システム及び学習方法
4日前
Astemo株式会社
画像処理装置および画像処理方法
6日前
Astemo株式会社
車両制御プログラム決定方法および通信制御装置
5日前
Astemo株式会社
攻撃監視装置、攻撃監視システム及び攻撃監視方法
4日前
本田技研工業株式会社
車両の制御装置及び制御方法
10日前
Astemo株式会社
バッテリーマネージメントシステム、および、バッテリーマネージメント方法
3日前
Astemo株式会社
緩衝器用ピストンロッドの製造方法
6日前
Astemo株式会社
減衰力調整式緩衝器の製造方法およびソレノイドの製造方法
3日前
個人
詐欺保険
6日前
個人
縁伊達ポイン
6日前
個人
工程設計支援装置
2か月前
個人
QRコードの彩色
10日前
個人
地球保全システム
19日前
個人
フラワーコートA
2か月前
個人
為替ポイント伊達夢貯
1か月前
個人
冷凍食品輸出支援構造
1か月前
個人
農作物用途分配システム
5日前
個人
残土処理システム
12日前
個人
表変換編集支援システム
1か月前
個人
携帯情報端末装置
2か月前
個人
知財出願支援AIシステム
1か月前
個人
結婚相手紹介支援システム
2か月前
個人
知的財産出願支援システム
13日前
個人
AIによる情報の売買の仲介
1か月前
個人
行動時間管理システム
1か月前
個人
パスワード管理支援システム
1か月前
個人
パスポートレス入出国システム
1か月前
株式会社キーエンス
受発注システム
18日前
株式会社キーエンス
受発注システム
18日前
株式会社アジラ
進入判定装置
1か月前
株式会社キーエンス
受発注システム
18日前
個人
AIキャラクター制御システム
1か月前
個人
食品レシピ生成システム
18日前
個人
海外支援型農作物活用システム
1か月前
続きを見る
他の特許を見る