TOP
|
特許
|
意匠
|
商標
特許ウォッチ
Twitter
他の特許を見る
公開番号
2025154032
公報種別
公開特許公報(A)
公開日
2025-10-10
出願番号
2024056808
出願日
2024-03-29
発明の名称
車両の制御装置及び制御方法
出願人
本田技研工業株式会社
,
Astemo株式会社
代理人
弁理士法人航栄事務所
主分類
B60W
40/105 20120101AFI20251002BHJP(車両一般)
要約
【課題】レーダ装置又はLiDARにより検知された静止物の相対速度に基づく車速の補正を高精度に行うことができる車両の制御装置及び制御方法を提供する。
【解決手段】外界の複数の物標100を検知可能なレーダ装置33又はLiDARを備えた車両1の制御装置10であって、車両1に搭載された車速センサ21により検出される車速を取得する車速取得部11と、レーダ装置33又はLiDARの検出結果に基づいて車速を補正する車速補正部13と、を備える。車速補正部13は、静止物110の数が所定数以上である場合に、レーダ装置33又はLiDARにより検出された車両1に対する複数の静止物110の相対速度に基づいて車速を補正する。
【選択図】図1
特許請求の範囲
【請求項1】
外界の複数の物標を検知可能なレーダ装置又はLiDARを備えた車両の制御装置であって、
前記車両に搭載された車速センサにより検出される車速を取得する車速取得部と、
前記レーダ装置又は前記LiDARの検出結果に基づいて前記車速を補正する車速補正部と、を備え、
前記車速補正部は、
前記レーダ装置又は前記LiDARの検出結果に基づいて前記複数の物標の中から静止していると推定された複数の静止物の情報を取得し、
所定条件が成立した場合に、前記レーダ装置又は前記LiDARにより検出された前記車両に対する前記複数の静止物の相対速度に基づいて前記車速を補正し、
前記所定条件は、前記静止物の数が所定数以上であることを含む、
車両の制御装置。
続きを表示(約 1,500 文字)
【請求項2】
請求項1に記載の車両の制御装置であって、
前記車速補正部は、前記複数の静止物の前記相対速度の分散又は標準偏差を算出し、
前記所定条件は、前記分散又は前記標準偏差が所定値未満であることをさらに含む、
車両の制御装置。
【請求項3】
請求項1又は2に記載の車両の制御装置であって、
前記所定条件は、前記静止物の数が前記所定数以上である状態が所定時間以上継続することをさらに含む、
車両の制御装置。
【請求項4】
請求項1又は2に記載の車両の制御装置であって、
前記所定条件は、前記複数の静止物が前記車両の直進中に前記レーダ装置又は前記LiDARにより検知されたものであることをさらに含む、
車両の制御装置。
【請求項5】
請求項1又は2に記載の車両の制御装置であって、
前記所定条件は、前記複数の静止物が前記車両の第1速度以上での走行中に前記レーダ装置又は前記LiDARにより検知されたものであることをさらに含む、
車両の制御装置。
【請求項6】
請求項1又は2に記載の車両の制御装置であって、
前記所定条件は、前記複数の静止物が前記車両の所定加速度以下での走行中に前記レーダ装置又は前記LiDARにより検知されたものであることをさらに含む、
車両の制御装置。
【請求項7】
請求項1又は2に記載の車両の制御装置であって、
前記車速補正部は、
前記所定条件が成立した場合に前記相対速度に基づいて補正値を算出し、
算出された前記補正値が所定範囲外にある場合又は補正後の車速が前記車速取得部により取得された車速に対して所定範囲外にある場合、前記補正値又は前記補正後の車速に制限を加える、
車両の制御装置。
【請求項8】
請求項1又は2に記載の車両の制御装置であって、
前記所定条件は、前記車速補正部により算出された補正後の車速が前記車速取得部により取得された車速に対して所定範囲内にあること、又は前記車速補正部により算出された補正値が所定範囲内にあることをさらに含む、
車両の制御装置。
【請求項9】
請求項1又は2に記載の車両の制御装置であって、
前記車速補正部は、
前記所定条件が成立した場合に前記相対速度に基づいて補正値を算出し、前記補正値に基づいて前記車速を補正し、
前記車両のイグニッションがON状態からOFF状態になるまでの間、前記補正値の算出後であって次に前記所定条件が成立するまで前記補正値を維持する、
車両の制御装置。
【請求項10】
外界の複数の物標を検知可能なレーダ装置又はLiDARを備えた車両の制御方法であって、
前記車両に搭載された車速センサにより検出される車速を取得する車速取得ステップと、
前記レーダ装置又は前記LiDARの検出結果に基づいて前記複数の物標の中から静止していると推定された複数の静止物の情報を取得する静止物情報取得ステップと、
推定された前記静止物の数が所定数以上であることを含む所定条件が成立したか否かを判定する条件判定ステップと、
前記所定条件が成立した場合に、前記レーダ装置又は前記LiDARにより検出された前記車両に対する前記複数の静止物の相対速度に基づいて前記車速を補正する車速補正ステップと、をコンピュータに実行させる、
車両の制御方法。
発明の詳細な説明
【技術分野】
【0001】
本発明は、外界の複数の物標を検知可能なレーダ装置又はLiDARを備えた車両の制御装置及び制御方法に関する。
続きを表示(約 1,700 文字)
【背景技術】
【0002】
近年、交通参加者の中でも脆弱な立場にある人々にも配慮した持続可能な輸送システムへのアクセスを提供する取り組みが活発化している。この実現に向けて運転支援技術や予防安全技術に関する研究開発を通して交通の安全性や利便性をより一層改善する研究開発に注力している。運転支援技術や予防安全技術においては、車両の走行制御を正確に行うために自車両の速度を高精度に算出することが要望される。
【0003】
例えば、特許文献1には、車輪の回転に基づいて検出される検出自車速を、車両周囲の静止物の相対速度に基づいて補正するレーダ装置が記載されている。
【先行技術文献】
【特許文献】
【0004】
特許第6832166号公報
【発明の概要】
【発明が解決しようとする課題】
【0005】
特許文献1のように静止物の相対速度に基づいて検出車速を補正する技術においては、静止物と推定される物標の中に仮に低速で移動する物標が含まれる可能性がある。このような場合であっても、車速の補正精度を低下させず、車速を高精度に算出できる点について改善の余地があった。
【0006】
本発明は、レーダ装置又はLiDARにより検知された静止物の相対速度に基づく車速の補正を高精度に行うことができる車両の制御装置及び制御方法を提供する。
【課題を解決するための手段】
【0007】
本発明は、
外界の複数の物標を検知可能なレーダ装置又はLiDARを備えた車両の制御装置であって、
前記車両に搭載された車速センサにより検出される車速を取得する車速取得部と、
前記レーダ装置又は前記LiDARの検出結果に基づいて前記車速を補正する車速補正部と、を備え、
前記車速補正部は、
前記レーダ装置又は前記LiDARの検出結果に基づいて前記複数の物標の中から静止していると推定された複数の静止物の情報を取得し、
所定条件が成立した場合に、前記レーダ装置又は前記LiDARにより検出された前記車両に対する前記複数の静止物の相対速度に基づいて前記車速を補正し、
前記所定条件は、前記静止物の数が所定数以上であることを含む。
【0008】
また、本発明は、
外界の複数の物標を検知可能なレーダ装置又はLiDARを備えた車両の制御方法であって、
前記車両に搭載された車速センサにより検出される車速を取得する車速取得ステップと、
前記レーダ装置又は前記LiDARの検出結果に基づいて前記複数の物標の中から静止していると推定された複数の静止物の情報を取得する静止物情報取得ステップと、
推定された前記静止物の数が所定数以上であることを含む所定条件が成立したか否かを判定する条件判定ステップと、
前記所定条件が成立した場合に、前記レーダ装置又は前記LiDARにより検出された前記車両に対する前記複数の静止物の相対速度に基づいて前記車速を補正する車速補正ステップと、をコンピュータに実行させる。
【発明の効果】
【0009】
本発明によれば、レーダ装置又はLiDARにより検知された静止物の相対速度に基づく車速の補正を高精度に行うことができる。
【図面の簡単な説明】
【0010】
本発明の一実施形態の制御装置10を備える車両1のブロック図である。
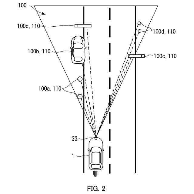
レーダ装置33により車両1の前方の複数の物標100を検知する様子を概念的に示す一例である。
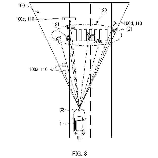
レーダ装置33により車両1の前方の複数の物標100(移動している物標を含む)を検知する様子を概念的に示す他の一例である。
複数の静止物110の相対速度の分散を説明するためのグラフである。
検出車速の補正を行う処理の一例を示すフローチャートである。
補正条件判定の処理の一例を示すフローチャートである。
【発明を実施するための形態】
(【0011】以降は省略されています)
この特許をJ-PlatPat(特許庁公式サイト)で参照する
関連特許
個人
タイヤレバー
2か月前
個人
前輪キャスター
1か月前
個人
上部一体型自動車
9日前
個人
ホイルのボルト締結
3か月前
個人
タイヤ脱落防止構造
1か月前
個人
ルーフ付きトライク
2か月前
日本精機株式会社
表示装置
1か月前
個人
マスタシリンダ
16日前
日本精機株式会社
表示装置
2か月前
個人
車両通過構造物
2か月前
日本精機株式会社
表示装置
2か月前
日本精機株式会社
表示装置
2か月前
個人
乗合路線バスの客室装置
2か月前
個人
アクセルのソフトウェア
3か月前
個人
車両用スリップ防止装置
3か月前
株式会社ニフコ
照明装置
1か月前
株式会社豊田自動織機
産業車両
2か月前
個人
円湾曲ホイール及び球体輪
2か月前
個人
車載小物入れ兼雨傘収納具
3か月前
株式会社ニフコ
収納装置
1か月前
日本精機株式会社
車室演出装置
1か月前
日本精機株式会社
車載表示装置
3か月前
株式会社ニフコ
保持装置
3か月前
日本精機株式会社
車載表示装置
24日前
個人
音声ガイド、音声サービス
2か月前
日本精機株式会社
画像投映装置
5日前
日本精機株式会社
車両用表示装置
5日前
日本精機株式会社
車両用表示装置
2か月前
日本無線株式会社
取付金具
2か月前
株式会社SUBARU
車両
3日前
井関農機株式会社
作業車両
3か月前
日本精機株式会社
車両用表示装置
3か月前
日本精機株式会社
車両用投射装置
10日前
極東開発工業株式会社
車両
2か月前
日本精機株式会社
車両用投影装置
23日前
井関農機株式会社
作業車両
23日前
続きを見る
他の特許を見る