TOP
|
特許
|
意匠
|
商標
特許ウォッチ
Twitter
他の特許を見る
公開番号
2025156769
公報種別
公開特許公報(A)
公開日
2025-10-15
出願番号
2024059420
出願日
2024-04-02
発明の名称
車両制御プログラム決定方法および通信制御装置
出願人
Astemo株式会社
代理人
弁理士法人桐朋
主分類
G06F
9/445 20180101AFI20251007BHJP(計算;計数)
要約
【課題】プログラムの作成工数が抑えられる車両制御プログラム決定方法及び通信制御装置を提供する。
【解決手段】車両の種別に応じた車両制御プログラムを、車両に搭載された通信制御装置の演算部で決定する車両制御プログラム決定方法は、種別を示す種別情報を取得する種別情報取得ステップと、取得した種別情報に基づいて、種別に応じた車両制御プログラムを決定する決定ステップと、を含む。
【選択図】図3
特許請求の範囲
【請求項1】
車両の種別に応じた車両制御プログラムを、前記車両に搭載された通信制御装置の演算部が決定する車両制御プログラム決定方法であって、
前記種別を示す種別情報を取得する種別情報取得ステップと、
取得された前記種別情報に基づいて、前記種別に応じた前記車両制御プログラムを決定する決定ステップと、
を備える、車両制御プログラム決定方法。
続きを表示(約 1,400 文字)
【請求項2】
請求項1に記載の車両制御プログラム決定方法であって、
前記決定ステップでは、前記種別情報に基づいて、前記種別にそれぞれ応じた第1制御プログラムおよび第2制御プログラムのうちのいずれか一方が、前記車両制御プログラムとして決定される、
車両制御プログラム決定方法。
【請求項3】
請求項1に記載の車両制御プログラム決定方法であって、
前記決定ステップでは、前記種別情報に基づいて、前記種別にそれぞれ応じた第1制御プログラムおよび第2制御プログラムのうちのいずれか一方と、前記種別に共通する共通制御プログラムとの組合せが、前記車両制御プログラムとして決定される、
車両制御プログラム決定方法。
【請求項4】
請求項1に記載の車両制御プログラム決定方法であって、
前記車両に搭載された各個別制御装置を識別するための装置識別情報を取得する識別情報取得ステップをさらに備え、
前記種別情報は、前記各個別制御装置と前記通信制御装置との間の通信に用いられるバスを識別するためのバス識別情報と、前記装置識別情報とに基づいて得られる、
車両制御プログラム決定方法。
【請求項5】
請求項1に記載の車両制御プログラム決定方法であって、
前記車両に搭載された各個別制御装置と前記通信制御装置との間の通信を識別するための通信識別情報を取得する識別情報取得ステップをさらに備え、
前記種別情報は、前記通信に用いられるバスのバス識別情報と、前記通信識別情報とに基づいて得られる、
車両制御プログラム決定方法。
【請求項6】
請求項1に記載の車両制御プログラム決定方法であって、
前記車両に搭載された各個別制御装置を識別するための装置識別情報と、前記車両に搭載された各個別制御装置と前記通信制御装置との間の通信を識別するための通信識別情報とを取得する識別情報取得ステップをさらに備え、
前記種別情報は、前記装置識別情報と前記通信識別情報とに基づいて得られる、
車両制御プログラム決定方法。
【請求項7】
請求項1に記載の車両制御プログラム決定方法であって、
前記車両に搭載された各個別制御装置を識別するための装置識別情報と、前記車両に搭載された各個別制御装置と前記通信制御装置との間の通信を識別するための通信識別情報とを取得する識別情報取得ステップをさらに備え、
前記種別情報は、前記通信に用いられるバスのバス識別情報と、前記装置識別情報と、前記通信識別情報とに基づいて得られる、
車両制御プログラム決定方法。
【請求項8】
請求項7に記載の車両制御プログラム決定方法であって、
前記識別情報取得ステップでは、前記装置識別情報および前記通信識別情報が、前記通信制御装置内の書き換え可能なメモリから取得される、
車両制御プログラム決定方法。
【請求項9】
車両の種別に応じた車両制御プログラムを決定する通信制御装置であって、
前記種別を示す種別情報を取得する種別情報取得部と、
取得された前記種別情報に基づいて、前記種別に応じた前記車両制御プログラムを決定する決定部と、
を備える、通信制御装置。
発明の詳細な説明
【技術分野】
【0001】
本発明は、車両制御プログラム決定方法および通信制御装置に関する。
続きを表示(約 1,100 文字)
【背景技術】
【0002】
特許文献1には、車両用電子制御装置に実装されるソフトウェアの検査に関する複数種の検査仕様の中から、車両用電子制御装置の機種に対応する検査仕様を選択する、車両用ソフトウェアの検査システムが開示されている。車両用電子制御装置には、車種等に対応して様々な機種がある。
【先行技術文献】
【特許文献】
【0003】
特開2006-209354号公報
【発明の概要】
【発明が解決しようとする課題】
【0004】
従来、車種に対応した制御装置の機種に応じてプログラムが個別に作成されるため、プログラムの作成に多くの工数を要する。
【0005】
本発明は、上述した課題を解決することを目的とする。
【課題を解決するための手段】
【0006】
本発明の第1の態様は、車両の種別に応じた車両制御プログラムを、前記車両に搭載された通信制御装置の演算部が決定する車両制御プログラム決定方法であって、前記種別を示す種別情報に基づいて、前記種別に応じた前記車両制御プログラムを決定する決定ステップを備える。
【0007】
本発明の第2の態様は、車両の種別に応じた車両制御プログラムを決定する通信制御装置であって、前記種別を示す種別情報に基づいて、前記種別に応じた前記車両制御プログラムを決定する決定部を備える。
【発明の効果】
【0008】
本発明によれば、プログラムの作成工数が抑えられ得る。
【図面の簡単な説明】
【0009】
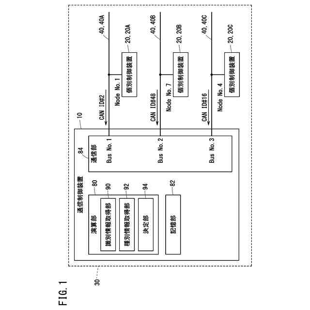
図1は、通信制御装置と個別制御装置とを有する車両を例示する図である。
図2Aおよび図2Bは、車両の種別情報を説明するための図である。
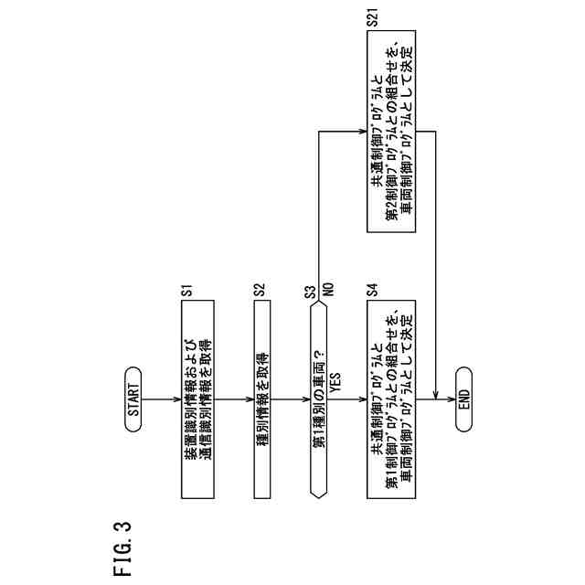
図3は、車両制御プログラム決定方法に係る処理手順の一例を示すフローチャートである。
【発明を実施するための形態】
【0010】
図1は、通信制御装置10と個別制御装置20とを有する車両30を例示する図である。通信制御装置10は、例えば車両30内の制御用通信に用いられるECU(Electronic Control Unit)である。本実施形態において、制御用通信の通信プロトコルとしてCAN(Controller Area Network)(登録商標)が用いられるが、LIN(Local Interconnect Network)、Ethernet(登録商標)等の他の通信プロトコルが用いられてもよい。
(【0011】以降は省略されています)
この特許をJ-PlatPat(特許庁公式サイト)で参照する
関連特許
Astemo株式会社
緩衝器
1か月前
Astemo株式会社
緩衝器
26日前
Astemo株式会社
緩衝器
18日前
Astemo株式会社
緩衝器
3日前
Astemo株式会社
電子装置
12日前
Astemo株式会社
車両制御装置
3日前
Astemo株式会社
管制システム
3日前
Astemo株式会社
電子制御装置
3日前
Astemo株式会社
充電制御装置
10日前
Astemo株式会社
ゲート駆動回路
26日前
Astemo株式会社
接合方法、構造物
18日前
Astemo株式会社
車載電力分配装置
10日前
Astemo株式会社
ノイズフィルタ装置
3日前
Astemo株式会社
減衰力調整式緩衝器
3日前
Astemo株式会社
内燃機関の制御装置
18日前
Astemo株式会社
電力変換装置の制御装置
18日前
Astemo株式会社
半導体装置及び電力変換装置
18日前
株式会社日立製作所
冷却構造
4日前
Astemo株式会社
電子制御装置及び環境認識方法
3日前
株式会社日立製作所
電力変換装置
4日前
株式会社日立製作所
電力変換装置
5日前
Astemo株式会社
モータ制御装置およびモータ制御方法
3日前
Astemo株式会社
電動ブレーキ及び電動ブレーキの組立方法
10日前
Astemo株式会社
電池管理システム、および、電池管理方法
18日前
Astemo株式会社
半導体装置、電力変換装置、半導体装置の製造方法
26日前
Astemo株式会社
データ収集装置、車両制御装置及びデータ収集システム
1か月前
Astemo株式会社
バルブ装置
18日前
株式会社日立製作所
電力変換装置、電力変換装置の製造方法
5日前
Astemo株式会社
更新管理システム
1か月前
Astemo株式会社
制御装置及び制御システム
1か月前
Astemo株式会社
車両制御装置、車両制御方法および車両制御システム
24日前
Astemo株式会社
車載情報処理装置、自動運転システムおよび車載システム
20日前
Astemo株式会社
タスク分割システム、及び、車載タスク分割システム、タスク分割方法
24日前
Astemo株式会社
燃料インジェクタの制御方法および制御ユニット、コンピュータプログラム製品、ならびに燃料インジェクタの制御装置
7日前
個人
詐欺保険
1か月前
個人
縁伊達ポイン
1か月前
続きを見る
他の特許を見る