TOP
|
特許
|
意匠
|
商標
特許ウォッチ
Twitter
他の特許を見る
10個以上の画像は省略されています。
公開番号
2025158270
公報種別
公開特許公報(A)
公開日
2025-10-17
出願番号
2024060648
出願日
2024-04-04
発明の名称
バッテリーマネージメントシステム、および、バッテリーマネージメント方法
出願人
Astemo株式会社
代理人
ポレール弁理士法人
主分類
G01R
31/389 20190101AFI20251009BHJP(測定;試験)
要約
【課題】 車載バッテリーの交流インピーダンス測定時間を短縮し、交流インピーダンス測定時の車載バッテリーに対する充放電負荷を軽減できる、バッテリーマネージメントシステムを提供する。
【解決手段】 車載バッテリーの電圧を測定して電圧データを伝送する電圧データ伝送ステップと、車載バッテリーに充放電される電流を測定して電流データを伝送する電流データ伝送ステップと、電圧データと電流データに基づいて車載バッテリーを管理するバッテリー管理ステップと、を備え、バッテリー管理ステップでは、所定の交流信号を車載バッテリーへ印加せずに測定した、電圧データと電流データに基づいて、単電池セルの交流インピーダンスを演算する第1演算モードと、所定の交流信号を車載バッテリーへ印加して測定した、電圧データと電流データに基づいて、単電池セルの交流インピーダンスを演算する第2演算モードと、を実行可能であるバッテリーマネージメント方法。
【選択図】 図8
特許請求の範囲
【請求項1】
移動体の車載バッテリーを管理するバッテリーマネージメントシステムであって、
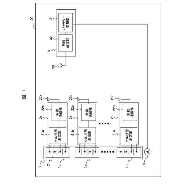
複数の単電池セルを内蔵する車載バッテリーと、
各単電池セルの電圧を測定して電圧データを伝送するデータ伝送装置と、
前記車載バッテリーに充放電される電流を測定して電流データを伝送する電流センサと、
前記電圧データと前記電流データに基づいて前記車載バッテリーを管理するバッテリー管理装置と、を備え、
前記バッテリー管理装置は、
所定の交流信号を前記車載バッテリーへ印加または重畳せずに測定した、前記電圧データと前記電流データに基づいて、前記単電池セルの交流インピーダンスを演算する第1演算モードと、
所定の交流信号を前記車載バッテリーへ印加または重畳して測定した、前記電圧データと前記電流データに基づいて、前記単電池セルの交流インピーダンスを演算する第2演算モードと、
を実行可能であることを特徴とするバッテリーマネージメントシステム。
続きを表示(約 1,100 文字)
【請求項2】
前記第1演算モードでは、FFT法で交流インピーダンスを演算し、
前記第2演算モードでは、FRA法で交流インピーダンスを演算することを特徴とする、請求項1に記載のバッテリーマネージメントシステム。
【請求項3】
前記電圧データおよび前記電流データに様々な周波数を含む前記車載バッテリーの非定常状態時に前記第1演算モードを実行し、
前記車載バッテリーの定常状態時に、前記第2演算モードを実行することを特徴とする、請求項1に記載のバッテリーマネージメントシステム。
【請求項4】
前記第2演算モードは、前記第1演算モードの実行の結果、
所定の周波数で交流インピーダンスを測定できなかった場合、
前記車載バッテリーの容量劣化が所定の値以下となった場合、
または、前記単電池セルの充電率のバランシングが必要となった場合、
の少なくとも一つに該当する場合に実行されることを特徴とする、請求項1に記載のバッテリーマネージメントシステム。
【請求項5】
前記第2演算モードで演算した交流インピーダンスを用いて、前記第1演算モードで演算した交流インピーダンスを補正することを特徴とする、請求項1に記載のバッテリーマネージメントシステム。
【請求項6】
請求項1に記載のバッテリーマネージメントシステムにおいて、
前記電圧データおよび前記電流データの取得時刻に時間差がある場合は、その時間差を補正した電圧データおよび前記電流データに基づいて、前記単電池セルの交流インピーダンスを演算することを特徴とするバッテリーマネージメントシステム。
【請求項7】
複数の単電池セルを内蔵する車載バッテリーを管理するバッテリーマネージメント方法であって、
各単電池セルの電圧を測定して電圧データを伝送する電圧データ伝送ステップと、
前記車載バッテリーに充放電される電流を測定して電流データを伝送する電流データ伝送ステップと、
前記電圧データと前記電流データに基づいて前記車載バッテリーを管理するバッテリー管理ステップと、を備え、
前記バッテリー管理ステップでは、
所定の交流信号を前記車載バッテリーへ印加または重畳せずに測定した、前記電圧データと前記電流データに基づいて、前記単電池セルの交流インピーダンスを演算する第1演算モードと、
所定の交流信号を前記車載バッテリーへ印加または重畳して測定した、前記電圧データと前記電流データに基づいて、前記単電池セルの交流インピーダンスを演算する第2演算モードと、
を実行可能であることを特徴とするバッテリーマネージメント方法。
発明の詳細な説明
【技術分野】
【0001】
本発明は、車載バッテリーを管理する、バッテリーマネージメントシステム、および、バッテリーマネージメント方法に関する。
続きを表示(約 1,700 文字)
【背景技術】
【0002】
電気自動車(BEV)やハイブリッド自動車(HEV)等の移動体に搭載するバッテリー(以下、「車載バッテリー」と称する)には、使用状況に応じて経時劣化するという性質がある。ここで、バッテリーの劣化程度や劣化原因の検査方法の一種として、バッテリーの交流インピーダンスの変化を監視する方法が知られている。また、バッテリーの交流インピーダンスの測定方法の一種として、FRA(Frequency Response Analyzer)法が知られている。
【0003】
このFRA法は、定常状態のバッテリーに、1Hz以下から数kHzに亘る広い周波数範囲で複数の交流信号(交流電流、または、交流電圧)を順次印加または順次重畳し、その時に測定された電流時系列データと電圧時系列データに基づいて交流インピーダンスを演算するという、交流インピーダンス測定器でも使用される高精度な測定方法である。
【0004】
しかし、上記の機序を採用するFRA法では、交流インピーダンスの測定完了までに相当の時間を要するため、連続的または散発的な充放電の影響でバッテリーの定常状態を長く維持できない移動体の走行時には、FRA法を利用して交流インピーダンスを測定することは難しかった。
【0005】
また、FRA法による交流インピーダンス測定時には、本来不要な交流信号をバッテリーに印加または重畳する必要があるため、バッテリーで発生する本来不要な充放電負荷に起因し、バッテリーの容量が少なくなったり、発熱によるバッテリー劣化が促進したりする懸念もある。
【0006】
ここで、FRA法以外の交流インピーダンス測定方法に関し、特許文献1の段落0034には、「インピーダンス演算部(測定手段)140は、電圧センサ141によって検出される燃料電池40の電圧(FC電圧)Vf及び電流センサ142によって検出される燃料電池40の電流(FC電流)Ifを所定のサンプリングレートでサンプリングし、フーリエ変換処理(FFT演算処理やDFT演算処理)などを施す。インピーダンス演算部140は、フーリエ変換処理後のFC電圧信号をフーリエ変換処理後のFC電流信号で除するなどして燃料電池40のインピーダンスを求める。」との記載があり、フーリエ変換処理を利用した交流インピーダンスの測定方法が開示されている。
【先行技術文献】
【特許文献】
【0007】
特開2007-12414号公報
【発明の概要】
【発明が解決しようとする課題】
【0008】
しかしながら、特許文献1の段落0032で「図4は、重畳信号生成部125によって生成されるインピーダンス測定用信号の信号波形を例示した図である。図4に示すように、重複信号生成部125は、振幅値が徐々に変化(徐変)するインピーダンス測定信号(例えば特定周波数のサイン波など)を生成する。」と説明されるように、特許文献1で利用するインピーダンス測定用信号は、固定周波数の信号である。
【0009】
そのため、1回の測定だけでは、フーリエ変換処理による交流インピーダンス演算に必要なFC電圧データとFC電流データを揃えることができず、異なる周波数のインピーダンス測定用信号を用いた複数回のデータ採取を実施して十分なFC電圧データとFC電流データを取得する必要があった。従って、特許文献1の技術を利用して交流インピーダンスを演算する場合も、上記のFRA法と同様に、交流インピーダンスの測定に要する時間が長くなるという問題があった。
【0010】
そこで、本発明は、車載バッテリーの交流インピーダンス測定時間を短縮し、さらに、交流インピーダンス測定時の車載バッテリーに対する充放電負荷を軽減することができる、バッテリーマネージメントシステム、および、バッテリーマネージメント方法を提供することにある。
【課題を解決するための手段】
(【0011】以降は省略されています)
この特許をJ-PlatPat(特許庁公式サイト)で参照する
関連特許
Astemo株式会社
緩衝器
5日前
Astemo株式会社
電磁弁
1か月前
Astemo株式会社
緩衝器
11日前
Astemo株式会社
緩衝器
1か月前
Astemo株式会社
撮像装置
26日前
Astemo株式会社
緩衝装置
1か月前
Astemo株式会社
操舵装置
12日前
Astemo株式会社
電子制御装置
1か月前
Astemo株式会社
外界認識装置
19日前
Astemo株式会社
プロペラシャフト
17日前
Astemo株式会社
学習システム及び学習方法
25日前
Astemo株式会社
歯車の研磨装置及び研磨方法
14日前
Astemo株式会社
画像処理装置及び画像処理方法
14日前
Astemo株式会社
画像処理装置および画像処理方法
27日前
Astemo株式会社
車両データ収集装置および車両データ収集方法
14日前
Astemo株式会社
車両制御プログラム決定方法および通信制御装置
26日前
Astemo株式会社
攻撃監視装置、攻撃監視システム及び攻撃監視方法
25日前
本田技研工業株式会社
車両の制御装置及び制御方法
1か月前
Astemo株式会社
データ収集装置、車両制御装置及びデータ収集システム
3日前
日産自動車株式会社
車両制御方法および車両制御装置
12日前
日産自動車株式会社
車両制御方法および車両制御装置
12日前
日産自動車株式会社
車両制御方法および車両制御装置
12日前
Astemo株式会社
回転電機の回転子、回転電機、インホイールモータ、車両
18日前
Astemo株式会社
半導体装置
1か月前
Astemo株式会社
更新管理システム
3日前
Astemo株式会社
制御装置及び制御システム
11日前
Astemo株式会社
バッテリーマネージメントシステム、および、バッテリーマネージメント方法
24日前
Astemo株式会社
緩衝器用ピストンロッドの製造方法
27日前
Astemo株式会社
外界認識装置、および、外界認識方法
1か月前
Astemo株式会社
減衰力調整式緩衝器の製造方法およびソレノイドの製造方法
24日前
個人
メジャー文具
1か月前
個人
採尿及び採便具
11日前
日本精機株式会社
検出装置
5日前
個人
アクセサリー型テスター
27日前
個人
計量機能付き容器
今日
個人
高精度同時多点測定装置
26日前
続きを見る
他の特許を見る