TOP
|
特許
|
意匠
|
商標
特許ウォッチ
Twitter
他の特許を見る
10個以上の画像は省略されています。
公開番号
2025148615
公報種別
公開特許公報(A)
公開日
2025-10-07
出願番号
2025127731,2024505799
出願日
2025-07-30,2022-03-11
発明の名称
外界認識装置、および、外界認識方法
出願人
Astemo株式会社
代理人
ポレール弁理士法人
主分類
G08G
1/16 20060101AFI20250930BHJP(信号)
要約
【課題】 レーダ、LiDAR、超音波センサ、赤外線センサ等の距離センサを搭載しない車両であっても、複数のカメラを併用することで、特定車両の認識時に自車両が安全に待避できる場所を決定することができる、外界認識装置を提供する。
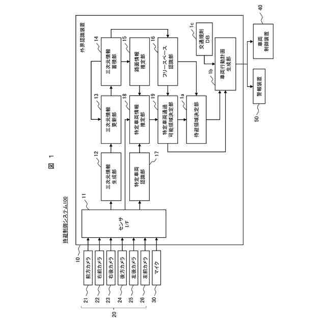
【解決手段】 自車両の周辺において視野領域の少なくとも一部が重複するステレオ視領域を複数有するように設置された複数のカメラと、複数の前記ステレオ視領域の各々においてステレオマッチング処理を行って三次元情報を生成する三次元情報生成部と、前記自車両の走行中に生成された前記三次元情報を時系列に蓄積する三次元情報蓄積部と、前記三次元情報生成部で新たに生成された三次元情報を用いて前記三次元情報蓄積部に蓄積された前記三次元情報を更新する三次元情報更新部と、を備える外界認識装置とした。
【選択図】 図1
特許請求の範囲
【請求項1】
自車両の周辺において視野領域の少なくとも一部が重複するステレオ視領域を複数有するように設置された複数のカメラと、
複数の前記ステレオ視領域の各々においてステレオマッチング処理を行って三次元情報を生成する三次元情報生成部と、
前記自車両の走行中に生成された前記三次元情報を時系列に蓄積する三次元情報蓄積部と、
前記三次元情報生成部で新たに生成された三次元情報を用いて前記三次元情報蓄積部に蓄積された前記三次元情報を更新する三次元情報更新部と、
を備えることを特徴とする外界認識装置。
続きを表示(約 1,200 文字)
【請求項2】
請求項1に記載の外界認識装置において、
少なくとも一つの前記カメラで取得した画像を用いて自車両周辺の他車両のうち制御対象とする特定車両を認識する特定車両認識部と、
前記三次元情報蓄積部に蓄積された前記三次元情報に基づいて、路面形状を推定する路面情報推定部と、
前記カメラで取得した画像と、前記路面情報推定部によって推定された路面形状と、に基づいて前記特定車両の位置及び大きさを推定する特定車両情報推定部と、
前記三次元情報蓄積部に蓄積された前記三次元情報に基づいて、車両が走行可能なフリースペースを認識するフリースペース認識部と、
前記特定車両情報推定部が推定した前記特定車両の位置及び大きさに基づいて、前記フリースペースのうち前記特定車両が通過可能な特定車両通過可能領域を決定する特定車両通過可能領域決定部と、
前記特定車両通過可能領域と、前記フリースペースと、に基づいて、前記自車両が待避する待避領域を決定する待避領域決定部と、
前記待避領域に基づいて、前記自車両の行動計画を生成する車両行動計画生成部と、
を更に備えることを特徴とする外界認識装置。
【請求項3】
請求項2に記載の外界認識装置において、
更に、交通規則を登録した交通規則データベースを備えており、
前記車両行動計画生成部は、前記交通規則に則って、前記行動計画を生成することを特徴とする外界認識装置。
【請求項4】
請求項2に記載の外界認識装置において、
更に、道路情報を登録した地図データベースを備えており、
前記車両行動計画生成部は、前記道路情報に則って、前記行動計画を生成することを特徴とする外界認識装置。
【請求項5】
請求項2に記載の外界認識装置において、
前記特定車両認識部は、前記画像内の回転灯の明滅の有無に基づいて、緊急走行中の特定車両を認識することを特徴とする外界認識装置。
【請求項6】
請求項2に記載の外界認識装置において、
前記特定車両認識部は、バス優先道路を走行中のバスを前記特定車両として認識することを特徴とする外界認識装置。
【請求項7】
自車両の周辺において視野領域の少なくとも一部が重複するステレオ視領域を複数有するように設置された複数のカメラで撮像した画像に基づいて外界を認識する外界認識方法であって、
複数の前記ステレオ視領域の各々においてステレオマッチング処理を行って三次元情報を生成する三次元情報生成ステップと、
前記自車両の走行中に生成された前記三次元情報を時系列に蓄積する三次元情報蓄積ステップと、
新たに生成された三次元情報を用いて蓄積された三次元情報を更新する三次元情報更新ステップと、
を備えることを特徴とする外界認識方法。
発明の詳細な説明
【技術分野】
【0001】
本発明は、複数のカメラを併用して自車両の外界を認識する外界認識装置、および、外界認識方法に関する。
続きを表示(約 1,900 文字)
【背景技術】
【0002】
レベル3以上の自動運転システムでは、警察車両や消防車両などの緊急車両に代表される、進路を譲るべき車両(以下「特定車両」と称する)が自車両に接近してくる場合、その特定車両の走行の妨げにならぬように、減速や停車などの待避制御を自律実行する必要がある。このような自律的な待避制御を実行する従来技術として、特許文献1の緊急車両待避制御装置が知られている。
【0003】
同文献の要約書には、課題として「より高精度に緊急車両の位置を認識できる緊急車両待避制御装置を提供する。」と記載されており、解決手段として「第1の方法で取得された情報、及び、第2の方法で取得された情報に基づき緊急車両を認識する緊急車両認識部38と、自車両10周辺の他車両を認識する他車両認識部40と、緊急車両を認識した場合には、自車両10を待避させるように待避制御を行う待避制御部44と、を有する、緊急車両待避制御装置32であって、緊急車両認識部38は、自車両10に対して所定距離未満の範囲に位置する他車両の台数に応じて、第1の方法で取得された情報、及び、第2の方法で取得された情報のうち一方を用いて、緊急車両を認識する。」と記載されている。
【0004】
また、同文献の明細書と図面では、カメラ(上記の第1の方法に相当)またはマイク(上記の第2の方法に相当)を使用して緊急車両を認識したかを判定し(明細書の段落0027~0030、および、図3のS3~S6など)、緊急車両が認識された場合は、走行制御を中断して待避制御に移行する(明細書の段落0035、図3のS9など)と説明されている。
【先行技術文献】
【特許文献】
【0005】
特開2021-128399号公報
【発明の概要】
【発明が解決しようとする課題】
【0006】
しかしながら、特許文献1は、緊急車両の認識時に自車両をどこへ待避させるかに関し、段落0022で「待避動作とは、例えば、車両10を道路の端に移動させるとともに停止させる動作である。また、待避動作とは、例えば、交差点において車両10の走行車線の信号が青信号(交差点内への進入を許可する信号)であっても、車両10を交差点の手前で停止させる動作である。」と説明するが、待避先たる「道路の端」や「交差点の手前」が実際に待避可能であるかを判定する具体的な手法は説明していない。
【0007】
一方、同文献の段落0012では「車両10は、カメラ14a~14dに加えて、車両10と物体との距離に応じた情報を取得するレーダ、LiDAR、超音波センサ、赤外線センサ等を有していてもよい。」とも記載されているため、レーダ、LiDAR、超音波センサ、赤外線センサ等を利用すれば、実際に待避可能な「道路の端」や「交差点の手前」を特定できるとも考えられる。しかし、複数のカメラに加えて複数の距離センサを設ける場合、緊急車両待避制御システムとしての製造コストがアップするという問題があった。
【0008】
そこで、本発明は、レーダ、LiDAR、超音波センサ、赤外線センサ等の距離センサを搭載しない車両であっても、複数のカメラを併用することで、特定車両の認識時に自車両が安全に待避できる場所を決定することができる、外界認識装置、および、外界認識方法を提供することを目的とする。
【課題を解決するための手段】
【0009】
上記課題を解決するため、本発明の外界認識装置は、自車両の周辺において視野領域の少なくとも一部が重複するステレオ視領域を複数有するように設置された複数のカメラと、複数の前記ステレオ視領域の各々においてステレオマッチング処理を行って三次元情報を生成する三次元情報生成部と、前記自車両の走行中に生成された前記三次元情報を時系列に蓄積する三次元情報蓄積部と、前記三次元情報生成部で新たに生成された三次元情報を用いて前記三次元情報蓄積部に蓄積された前記三次元情報を更新する三次元情報更新部と、を備える外界認識装置とした。
【発明の効果】
【0010】
本発明の外界認識装置、および、外界認識方法によれば、レーダ、LiDAR、超音波センサ、赤外線センサ等の距離センサを搭載しない車両であっても、複数のカメラを併用することで、特定車両の認識時に自車両が安全に待避できる場所を決定することができる。
【図面の簡単な説明】
(【0011】以降は省略されています)
この特許をJ-PlatPat(特許庁公式サイト)で参照する
関連特許
日本精機株式会社
警報システム
1か月前
個人
自動電動車椅子
24日前
株式会社SUBARU
車両
3日前
スズキ株式会社
運転支援装置
1か月前
エムケー精工株式会社
車両誘導装置
1か月前
ニッタン株式会社
検知器
1か月前
ニッタン株式会社
検知器
10日前
株式会社国際電気
防災システム
1か月前
ニッタン株式会社
発信機
2か月前
ニッタン株式会社
検知器
1か月前
ニッタン株式会社
検知器
1か月前
個人
磁気路上での車両の路線離脱防御
13日前
ニッタン株式会社
発信機
2か月前
トヨタ自動車株式会社
車両
2か月前
株式会社SUBARU
運転支援装置
11日前
個人
乗り物の移動を支援する方法及び装置
2か月前
株式会社小糸製作所
移動体検出装置
1か月前
日本信号株式会社
異常走行検出装置
17日前
トヨタ自動車株式会社
サーバ
17日前
大阪瓦斯株式会社
音声出力システム
9日前
日本精機株式会社
報知装置及び報知システム
23日前
株式会社小糸製作所
車両検出システム
1か月前
株式会社デンソー
運航管理装置
2日前
三菱自動車工業株式会社
制御システム
9日前
株式会社CCT
通信装置及び表示方法
10日前
能美防災株式会社
火災感知器
1か月前
個人
現示内容に関する情報放送機能付き信号機
2か月前
日本信号株式会社
交通信号制御システム
3か月前
株式会社SUBARU
事故情報収集装置
3日前
能美防災株式会社
非常伝達装置
1か月前
本田技研工業株式会社
情報提供装置
2か月前
本田技研工業株式会社
運転評価装置
2か月前
本田技研工業株式会社
物体検出装置
1か月前
株式会社SUBARU
車室内異常検知装置
3日前
ホーチキ株式会社
火災検出システム
5日前
本田技研工業株式会社
情報提供装置
2か月前
続きを見る
他の特許を見る