TOP
|
特許
|
意匠
|
商標
特許ウォッチ
Twitter
他の特許を見る
10個以上の画像は省略されています。
公開番号
2025147933
公報種別
公開特許公報(A)
公開日
2025-10-07
出願番号
2024048451
出願日
2024-03-25
発明の名称
緩衝装置
出願人
Astemo株式会社
代理人
個人
主分類
F16F
9/32 20060101AFI20250930BHJP(機械要素または単位;機械または装置の効果的機能を生じ維持するための一般的手段)
要約
【課題】低廉を図ることができる緩衝装置を提供すること。
【解決手段】周面に第一の溝を有する筒形状に形成され、シリンダ部の外周に剛体結合される保持部材と、外周面に第一の溝と対向可能な第二の溝を有する筒形状に形成され、少なくとも一部がシリンダ部の外周面から露出する外装部品と、シリンダ部から離れる方向の力を印加するばね部材と、第一の溝および第二の溝が対向した状態で、双方に亘って配置される留め金部材と、を有する緩衝装置。
【選択図】図2
特許請求の範囲
【請求項1】
内周面に第一の溝を有する筒形状に形成され、シリンダ部の外周に剛体結合される保持部材と、
外周面に前記第一の溝と対向可能な第二の溝を有する筒形状に形成され、少なくとも一部が前記シリンダ部の外周面から露出する外装部品と、
前記シリンダ部から離れる方向の力を印加するばね部材と、
前記第一の溝および前記第二の溝が対向した状態で、双方に亘って配置される留め金部材と、
を有する緩衝装置。
続きを表示(約 310 文字)
【請求項2】
前記外装部品に印加される前記シリンダ部から離れる方向の力は、前記シリンダ部によって印加される、
請求項1に記載の緩衝装置。
【請求項3】
前記シリンダ部は、前記保持部材に対向する位置に前記保持部材の内寸よりも小さい貫通孔を有し、
前記外装部品は前記貫通孔に一部が挿入されるとともに、前記シリンダ部の前記貫通孔および前記保持部材との間の領域によって、前記シリンダ部から離れる方向の力を印加される、
請求項2に記載の緩衝装置。
【請求項4】
前記外装部品は、前記緩衝装置の特性を調節可能なソレノイド弁である、
請求項1に記載の緩衝装置。
発明の詳細な説明
【技術分野】
【0001】
本発明は、緩衝装置に関する。
続きを表示(約 2,100 文字)
【背景技術】
【0002】
例えば、特許文献1に記載された油圧緩衝装置は、シリンダ部の外部に設けられて減衰力を発生させる外側減衰部を備える。外側減衰部は、第2軸方向に沿って進退するプランジャと、電磁石を用いて、プランジャを進退させるソレノイド部とを有する。また、外側減衰部は、プランジャの先端部に取り付けられて、ソレノイド部に供給される電流量に対応して発生する力にてコントロールバルブを押す弁体を有する。そして、プランジャやソレノイド部が、弁体を移動させるアクチュエータとして機能する。また、外側減衰部においては、プランジャやソレノイド部を収容するソレノイドケースが、例えば溶接等によってシリンダ部に固定された外側ハウジングにねじにて締め付けられている。
【先行技術文献】
【特許文献】
【0003】
特開2022-129991号公報
【発明の概要】
【発明が解決しようとする課題】
【0004】
シリンダ部の外部に設けられる物(特許文献1においては外側減衰部)をシリンダ部に固定するためにねじ締め付けを採用すると、雄ねじや雌ねじを形成するための加工が必要となる。そのため、特許文献1に記載された装置においては、低廉を図るという点において改善の余地があった。
本発明は、低廉を図ることができる緩衝装置を提供することを目的とする。
【課題を解決するための手段】
【0005】
かかる目的のもと完成させた本発明は、内周面に第一の溝を有する筒形状に形成され、シリンダ部の外周に剛体結合される保持部材と、外周面に前記第一の溝と対向可能な第二の溝を有する筒形状に形成され、少なくとも一部が前記シリンダ部の外周面から露出する外装部品と、前記シリンダ部から離れる方向の力を印加するばね部材と、前記第一の溝および前記第二の溝が対向した状態で、双方に亘って配置される留め金部材と、を有する緩衝装置である。
【発明の効果】
【0006】
本発明によれば、低廉を図ることができる緩衝装置を提供ことができる。
【図面の簡単な説明】
【0007】
第1実施形態に係る懸架装置の概略構成の一例を示す図である。
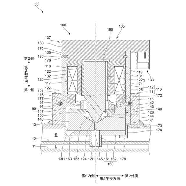
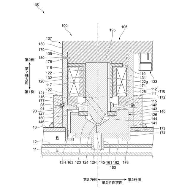
第1実施形態の減衰力発生装置の断面の一例を示す図である。
弁体を第1側から第2軸方向に見た図の一例を示す図である。
圧力操作室および流路の一例を示す図である。
コイルに流れる電流値と、第1流路の開口面積および第2流路の開口面積との関係を示す図である。
異常時におけるオイルの流れの一例を示す図である。
第2実施形態に係る電磁弁の断面の一例を示す図である。
第3実施形態に係る電磁弁の断面の一例を示す図である。
第4実施形態に係る緩衝装置の断面の一例を示す図である。
【発明を実施するための形態】
【0008】
以下、添付図面を参照して、本発明の実施形態について詳細に説明する。
<第1実施形態>
図1は、第1実施形態に係る懸架装置1の概略構成の一例を示す図である。
懸架装置1は、乗用自動車等の車両に用いられるサスペンションであり、図1に示すように、油圧式の緩衝装置2と、緩衝装置2の外側に配置されたコイルスプリング3とを備える。また、懸架装置1は、コイルスプリング3における、後述するロッド20の軸方向の一方側(図1では下側)の端部を支持する下スプリングシート4と、コイルスプリング3における、ロッド20の軸方向の他方側(図1では上側)の端部を支持する上スプリングシート5とを備える。
【0009】
また、懸架装置1は、懸架装置1を車両に取り付けるための車体側ブラケット6と、懸架装置1を車輪に取り付けるための車輪側ブラケット7と、シリンダ部10およびロッド20の少なくとも一部を覆うダストカバー8とを備える。
以下では、ロッド20の軸方向を、単に「軸方向」と称する場合がある。また、軸方向の一方側(図1では下側)、軸方向の他方側(図1では上側)を、それぞれ、単に「一方側」、「他方側」と称する場合がある。また、軸方向に交差する方向(例えば、直交方向)を、「半径方向」と称する。半径方向において、シリンダ11の中心線側を単に「内側」と称し、中心線から離れる側を単に「外側」と称する場合がある。
【0010】
緩衝装置2は、オイルを収容するシリンダ部10と、他方側がシリンダ部10から突出して設けられるとともに一方側がシリンダ部10内にスライド可能に挿入されるロッド20とを備える。また、緩衝装置2は、ロッド20の一方側の端部に設けられるピストン部30と、シリンダ部10の一方側の端部に設けられるボトム部40とを備える。さらに、緩衝装置2は、シリンダ部10の外部に設けられて減衰力を発生させる減衰力発生装置50を備える。
(【0011】以降は省略されています)
この特許をJ-PlatPat(特許庁公式サイト)で参照する
関連特許
Astemo株式会社
緩衝器
3日前
Astemo株式会社
電子制御装置
2日前
本田技研工業株式会社
車両の制御装置及び制御方法
2日前
個人
鍋虫ねじ
1か月前
個人
ホース保持具
5か月前
個人
回転伝達機構
2か月前
個人
紛体用仕切弁
1か月前
個人
差動歯車用歯形
3か月前
個人
トーションバー
6か月前
個人
給排気装置
5日前
個人
ジョイント
23日前
個人
地震の揺れ回避装置
2か月前
株式会社不二工機
電磁弁
5か月前
株式会社不二工機
電磁弁
3か月前
個人
ナット
24日前
個人
吐出量監視装置
1か月前
カヤバ株式会社
ダンパ
3か月前
柿沼金属精機株式会社
分岐管
1か月前
株式会社三協丸筒
枠体
6か月前
カヤバ株式会社
ダンパ
3か月前
カヤバ株式会社
緩衝器
3か月前
カヤバ株式会社
緩衝器
3か月前
カヤバ株式会社
緩衝器
4日前
株式会社ニフコ
クリップ
9日前
個人
固着具と固着具の固定方法
4か月前
株式会社奥村組
制振機構
13日前
株式会社ノーリツ
分配弁
5か月前
株式会社奥村組
制振機構
13日前
株式会社不二工機
電磁弁
1か月前
個人
固着具と固着具の固定方法
4か月前
個人
固着具と固着具の固定方法
4か月前
株式会社不二工機
電動弁
6か月前
株式会社ノーリツ
分配弁
9日前
アズビル株式会社
回転弁
17日前
株式会社ノーリツ
分配弁
5か月前
株式会社フジキン
ボールバルブ
4か月前
続きを見る
他の特許を見る