TOP
|
特許
|
意匠
|
商標
特許ウォッチ
Twitter
他の特許を見る
公開番号
2025177319
公報種別
公開特許公報(A)
公開日
2025-12-05
出願番号
2024084029
出願日
2024-05-23
発明の名称
発電装置
出願人
国立大学法人横浜国立大学
代理人
弁理士法人はるか国際特許事務所
主分類
H02K
35/06 20060101AFI20251128BHJP(電力の発電,変換,配電)
要約
【課題】より発電性能の高い発電装置1を提供することにある。
【解決手段】発電装置1は、永久磁石30A、30Bと、コイル20と、コイル20内に配置されており、外力に応じて永久磁石30A、30Bに対向しない基準位置と永久磁石30A、30Bに対向する対向位置との間で変位する先端部10aを含む軟磁性板10と、を有する。
【選択図】図3
特許請求の範囲
【請求項1】
永久磁石と、
コイルと、
前記コイル内に配置されており、外力に応じて、少なくとも前記永久磁石に対向しない基準位置と前記永久磁石に対向する対向位置との間で変位する先端部を含む軟磁性部材と、
を有する発電装置。
続きを表示(約 880 文字)
【請求項2】
前記永久磁石は、第1磁極部を有する第1永久磁石と、前記第1磁極部と磁性が異なる第2磁極部を有する第2永久磁石と、を含み、
前記先端部は、前記外力に応じて、少なくとも前記基準位置と前記第1磁極部に対向する第1対向位置との間、及び、少なくとも前記基準位置と前記第2磁極部に対向する第2対向位置との間で変位する、
請求項1に記載の発電装置。
【請求項3】
前記第1永久磁石のうち前記第1対向位置にある前記先端部の先端面と対向する対向面は、前記基準位置にある前記先端部の先端面よりも前方、かつ前記先端部が前記基準位置にある前記軟磁性部材の上面よりも上方に配置されており、
前記第2永久磁石のうち前記第2対向位置にある前記先端部の先端面と対向する対向面は、前記基準位置にある前記先端部の先端面よりも前方、かつ前記先端部が前記基準位置にある前記軟磁性部材の下面よりも下方に配置されている、
請求項2に記載の発電装置。
【請求項4】
前記第1永久磁石は、前記第1対向位置にある前記先端部の先端面と対向する対向面を有するように、前記先端部が前記基準位置にある前記軟磁性部材に対して傾斜して配置されており、
前記第2永久磁石は、前記第2対向位置にある前記先端部の先端面と対向する対向面を有するように、前記先端部が前記基準位置にある前記軟磁性部材に対して傾斜して配置されている、
請求項2に記載の発電装置。
【請求項5】
前記第1永久磁石は、前記第1対向位置にある前記先端部の前記先端面に対して垂直に入射する周辺磁界を発生させることにより、前記軟磁性部材の延伸方向に第1面内磁界を発生させるように配置されており、
前記第2永久磁石は、前記第2対向位置にある前記先端部の前記先端面に対して垂直に入射する周辺磁界を発生させることにより、前記第1面内磁界と反対方向に第2面内磁界を発生させるように配置されている、
請求項2~4のいずれか1項に記載の発電装置。
発明の詳細な説明
【技術分野】
【0001】
本発明は、発電装置に関する。
続きを表示(約 1,200 文字)
【背景技術】
【0002】
特許文献1には、逆磁歪に基づく発電が可能な素子を備える磁歪発電デバイスが開示されている。また、特許文献2には、特許文献1に開示される構成よりも製造が容易な発電装置が開示されている。
【先行技術文献】
【特許文献】
【0003】
特開2021-103940号公報
特開2023-174153号公報
【発明の概要】
【発明が解決しようとする課題】
【0004】
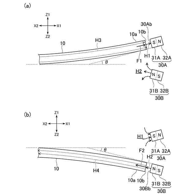
本出願の発明者らは、より発電性能の高い発電装置を実現することを検討している。特許文献2の発電装置においては、軟磁性板の振動により軟磁性板に対して垂直に働く垂直磁界Hがわずかに垂直方向からズレることで、軟磁性板に発生する内面磁性成分に基づいて発電を行っている。軟磁性板のズレ角度をθとすると、面内磁界成分はHsinθで表される。このように、垂直磁界Hにsinθを乗算した値に基づいて面内磁界成分が発生する。そのため、特許文献2の発電装置における発電性能を向上するためには、垂直磁界Hと振幅(sinθ)を大きくすることが考えられる。
【0005】
しかしながら、垂直磁界Hを大きくするために磁力の強い永久磁石を用いた場合、永久磁石と軟磁性板との間に強い引力が働き、軟磁性体の振動が抑制され、振幅(sinθ)が小さくなってしまう。その結果、発電性能が低下してしまうこととなる。
【0006】
本発明の目的は、より発電性能の高い発電装置を提供することにある。
【課題を解決するための手段】
【0007】
上記課題を解決すべく本出願において開示される発明は種々の側面を有しており、それら側面の代表的なものの概要は以下の通りである。
【0008】
(1)永久磁石と、コイルと、前記コイル内に配置されており、外力に応じて前記永久磁石に対向しない基準位置と前記永久磁石に対向する対向位置との間で変位する先端部を含む軟磁性部材と、を有する発電装置。
【0009】
(2)(1)において、前記永久磁石は、第1磁極部を有する第1永久磁石と、前記第1磁極部と磁性が異なる第2磁極部を有する第2永久磁石と、を含み、前記先端部は、前記外力に応じて、前記基準位置と前記第1磁極部に対向する第1対向位置との間、及び、前記基準位置と前記第2磁極部に対向する第2対向位置との間で変位する、発電装置。
【0010】
(3)(2)において、前記第1永久磁石は、前記基準位置にある前記先端部の先端面よりも前方、かつ前記先端部が前記基準位置にある前記軟磁性部材の上面よりも上方に配置されており、前記第2永久磁石は、前記基準位置にある前記先端部の先端面よりも前方、かつ前記先端部が前記基準位置にある前記軟磁性部材の下面よりも下方に配置されている、発電装置。
(【0011】以降は省略されています)
特許ウォッチbot のツイートを見る
この特許をJ-PlatPat(特許庁公式サイト)で参照する
関連特許
国立大学法人横浜国立大学
発電装置
2日前
国立大学法人横浜国立大学
数列生成装置、および処理方法
11日前
国立大学法人横浜国立大学
波形検出システム、波形検出方法
1か月前
国立大学法人横浜国立大学
識別装置、識別方法およびプログラム
2か月前
株式会社京三製作所
制御器の設計方法
1か月前
三菱マテリアル株式会社
液位計測装置
6か月前
東急建設株式会社
位置および力制御装置
2か月前
国立大学法人横浜国立大学
情報処理システム、情報処理方法、プログラム
5か月前
LQUOM株式会社
量子もつれ光子対生成装置
4か月前
国立大学法人横浜国立大学
船舶システム、船舶、制御方法およびプログラム
2日前
株式会社小松製作所
計画装置、作業機械、運搬車両および計画方法
5か月前
株式会社小松製作所
作業現場の管理システム及び作業現場の管理方法
2か月前
株式会社NTTドコモ
誘導体イメージ線路アンテナ及びアンテナ装置
2か月前
三菱マテリアル株式会社
液体検出センサ素子、及び、液体検出センサ
1か月前
Mywayプラス株式会社
電源装置、並びに、その制御装置及び制御方法
5か月前
国立大学法人横浜国立大学
セラミックス粉末、セラミックス焼結体、及び、セラミックス焼結体の治癒方法
6か月前
日本ペイントコーポレートソリューションズ株式会社
氷核形成抑制または着氷抑制用の部材
1か月前
横河電機株式会社
光スペクトル測定プログラム、光スペクトル測定方法、及び光スペクトラムアナライザ
1か月前
株式会社協同インターナショナル
運動性精子選別デバイス、及び運動性精子の選別方法
5か月前
個人
電気を重力で発電装置
1か月前
個人
高圧電気機器の開閉器
18日前
キヤノン電子株式会社
モータ
1か月前
キヤノン電子株式会社
モータ
1か月前
コーセル株式会社
電源装置
1か月前
トヨタ自動車株式会社
モータ
1か月前
株式会社アイドゥス企画
減反モータ
18日前
株式会社デンソー
端子台
11日前
株式会社デンソー
回転電機
2日前
株式会社ダイヘン
送配電装置
2日前
個人
二次電池繰返パルス放電器用印刷基板
1か月前
本田技研工業株式会社
回転電機
4日前
富士電機株式会社
電力変換装置
2日前
ローム株式会社
半導体集積回路
9日前
富士電機株式会社
電力変換装置
2日前
株式会社不二越
空冷式油圧装置
2日前
株式会社デンソー
電力変換装置
1か月前
続きを見る
他の特許を見る