TOP
|
特許
|
意匠
|
商標
特許ウォッチ
Twitter
他の特許を見る
10個以上の画像は省略されています。
公開番号
2025177789
公報種別
公開特許公報(A)
公開日
2025-12-05
出願番号
2024084892
出願日
2024-05-24
発明の名称
モータ及び無人機
出願人
ミネベアミツミ株式会社
代理人
弁理士法人NYTパートナーズ
主分類
H02K
9/06 20060101AFI20251128BHJP(電力の発電,変換,配電)
要約
【課題】さらに放熱性を高めることができるモータ及び無人機を提供する。
【解決手段】ステータ46と、ロータ51と、前記ロータ51に固定されたカバー52と、を備え、前記カバー52は、1又は複数のフィン56を備え、回転軸方向において、前記ロータ51と前記フィン56との間に前記ステータ46が配置されている。
【選択図】図2
特許請求の範囲
【請求項1】
ステータと、
ロータと、
前記ロータに固定されたカバーと、を備え、
前記カバーは、1又は複数のフィンを備え、
回転軸方向において、前記ロータと前記フィンとの間に前記ステータが配置されている、モータ。
続きを表示(約 370 文字)
【請求項2】
請求項1に記載のモータと、
外部につながる開口を有するベースと、
前記ベースを支持するアタッチメントと、を備え、
径方向において、前記カバーと前記ベースの間には間隙が形成されており、
前記間隙及び前記カバーの開口を介して、前記カバーの内側の空間と外部とがつながっている、無人機。
【請求項3】
基板と、
前記基板に設けられた電子部品と、を備え、
前記ベースにはヒートシンクが設けられており、
前記電子部品は前記ヒートシンクに対向している、請求項2に記載の無人機。
【請求項4】
前記アタッチメントに接続されるロッドを備え、
前記ロッドの内側の空間と前記ベースの開口とがつながっている、請求項2又は3に記載の無人機。
発明の詳細な説明
【技術分野】
【0001】
本発明は、モータ及び無人機に関する。
続きを表示(約 1,600 文字)
【背景技術】
【0002】
例えば特許文献1には、航空機の推進装置が開示されている。この推進装置は、プロペラを回転させるモータと、モータ用のインバータと、を有している。
【先行技術文献】
【特許文献】
【0003】
特開2024-4442号公報
【発明の概要】
【発明が解決しようとする課題】
【0004】
モータやインバータのハウジングには複数の放熱フィンが設けられている。モータやインバータの発熱の抑制にあたって、さらに放熱性を高めることが重要である。
【0005】
そこで、本発明は、さらに放熱性を高めることができるモータ及び無人機を提供することを課題の1つとする。
【課題を解決するための手段】
【0006】
本発明の一態様に係るモータは、ステータと、ロータと、前記ロータに固定されたカバーと、を備え、前記カバーは、1又は複数のフィンを備え、回転軸方向において、前記ロータと前記フィンとの間に前記ステータが配置されている。
【0007】
本発明の一態様に係る無人機は、前述したモータと、外部につながる開口を有するベースと、前記ベースを支持するアタッチメントと、を備え、径方向において、前記カバーと前記ベースの間には間隙が形成されており、前記間隙及び前記カバーの開口を介して、前記カバーの内側の空間と外部とがつながっている。
【図面の簡単な説明】
【0008】
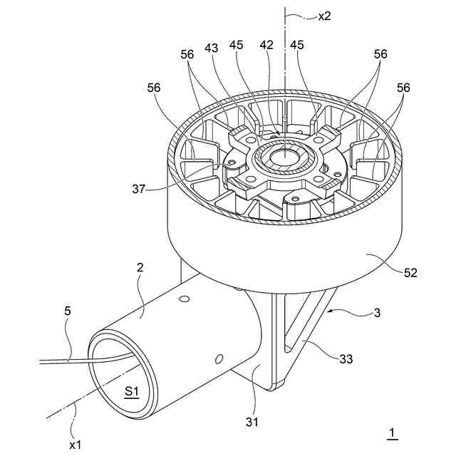
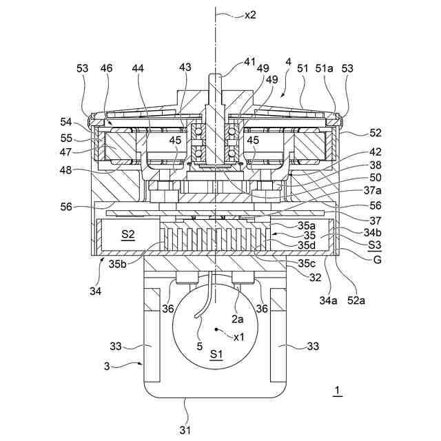
本発明の一実施形態に係る無人機1の構造を概略的に示す斜視図である。
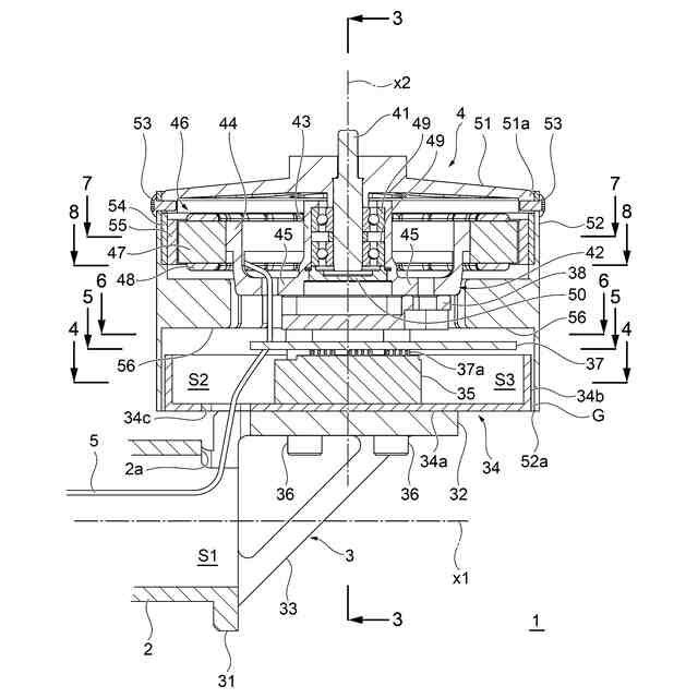
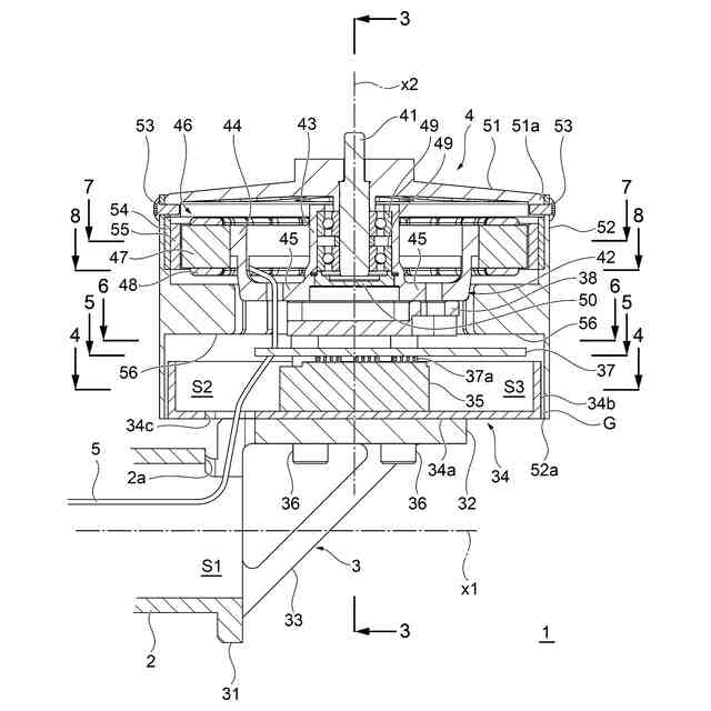
図1の2-2線に沿った断面図である。
図2の3-3線に沿った断面図である。
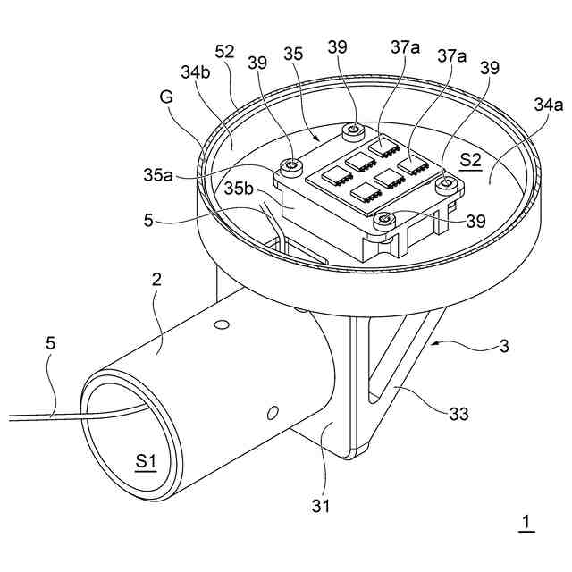
図2の4-4線に沿った断面斜視図である。
図2の5-5線に沿った断面斜視図である。
図2の6-6線に沿った断面図である。
図2の7-7線に沿った断面斜視図である。
図2の8-8線に沿った断面斜視図である。
図2に対応し、空気の流れを示す無人機1の断面図である。
【発明を実施するための形態】
【0009】
以下、添付図面を参照して、本発明の一実施形態について説明する。図1は、本発明の一実施形態に係る無人機1の構造を概略的に示す斜視図である。無人機1は、複数の推進装置が搭載されたいわゆるマルチコプタである。無人機1は、本体(図示せず)と、本体から所定の方向に延在する複数のロッド2と、各ロッド2の先端に配置されたアタッチメント3と、アタッチメント3に取り付けられたモータ4と、モータ4に取り付けられたプロペラ(図示せず)と、を備えている。モータ4及びプロペラが無人機1の推進装置を構成する。なお、図1には複数のロッド2のうちの1つのロッド2の先端部分のみを示している。なお、以下の説明において、「上」及び「下」の記載は必ずしも重力方向における上及び下と一致しなくてもよい。
【0010】
無人機1の本体内には、無人機1の駆動を制御する制御装置やバッテリ、各種のセンサ、カメラ等の部品が組み込まれる。この本体から、複数のロッド2が例えば放射状に延在している。この例では、ロッド2は、中心軸線x1を中心とする円筒状の例えば金属材料又は樹脂材料から形成される。ロッド2の先端は開放されている。ロッド2の内側の内部空間S1には配線5が収容される。配線5は、本体に組み込まれたバッテリ等とモータ4とを接続する。なお、ロッド2は、円筒状以外の形状を有してもよい。また、1本のロッド2が本体から直接延在している必要はなく、例えば、H型等のように、2つの先端を有するT字状のロッドが用いられてもよい。また、1本の配線5が図示されているが、ロッド2の内部空間S1には複数本の配線5が収容されてもよい。
(【0011】以降は省略されています)
この特許をJ-PlatPat(特許庁公式サイト)で参照する
関連特許
個人
高圧電気機器の開閉器
20日前
株式会社東光高岳
充電器
今日
株式会社アイドゥス企画
減反モータ
20日前
株式会社デンソー
端子台
13日前
株式会社デンソー
回転電機
4日前
株式会社ダイヘン
送配電装置
4日前
富士電機株式会社
電力変換装置
4日前
ローム株式会社
半導体集積回路
11日前
本田技研工業株式会社
回転電機
6日前
富士電機株式会社
電力変換装置
4日前
株式会社不二越
空冷式油圧装置
4日前
矢崎総業株式会社
給電装置
12日前
株式会社東光高岳
充電対象切換システム
今日
株式会社日立製作所
回転電機
11日前
矢崎総業株式会社
電源回路
19日前
株式会社TMEIC
制御装置
12日前
日産自動車株式会社
ロータシャフト
27日前
日産自動車株式会社
ロータシャフト
27日前
ローム株式会社
モータドライバ回路
27日前
個人
非対称鏡像力を有する4層PWB電荷搬送体
27日前
大和ハウス工業株式会社
敷設用機器
12日前
株式会社イノコンバンク
無線給電システム
4日前
京商株式会社
模型用非接触電力供給システム
20日前
株式会社土井製作所
ケーブル保護管路
11日前
株式会社TMEIC
電力変換装置
12日前
西芝電機株式会社
緊急切断方法及び軸発電機
今日
サンデン株式会社
モータ
5日前
サンデン株式会社
モータ
5日前
ローム株式会社
半導体装置
11日前
多摩川精機株式会社
モータ
4日前
ジヤトコ株式会社
治具
4日前
トヨタ自動車株式会社
熱利用回路
13日前
矢崎総業株式会社
電気接続箱
6日前
本田技研工業株式会社
回転電機用ロータ
20日前
株式会社日立産機システム
回転電機
11日前
Astemo株式会社
充電制御装置
11日前
続きを見る
他の特許を見る