TOP
|
特許
|
意匠
|
商標
特許ウォッチ
Twitter
他の特許を見る
10個以上の画像は省略されています。
公開番号
2025178052
公報種別
公開特許公報(A)
公開日
2025-12-05
出願番号
2024174596
出願日
2024-10-03
発明の名称
光発電フレーム及び光発電モジュール
出願人
瑞旭実業有限公司
代理人
弁理士法人はなぶさ特許商標事務所
主分類
H02S
30/10 20140101AFI20251128BHJP(電力の発電,変換,配電)
要約
【課題】積層体の受光面に対する干渉や遮蔽等の影響をなくし、積層体の光発電フレームへの接着強度を向上させる。
【解決手段】光発電フレームは、支持板、及び支持板の対向する両側にそれぞれ接続される第1サイド板と第2サイド板を含み、第1サイド板は、支持板から張り出す張り出し部を有し、張り出し部と支持板により、積層体を収容するための取付溝が囲まれて形成され、張り出し部及び/又は支持板に取付溝と連通する接着剤溝構造が設けられ、第2サイド板の第1サイド板から離れる側に接着剤オーバーフロープレートが突出して設けられ、接着剤オーバーフロープレートは、第1サイド板から離れる側へ張り出し、且つそれと第2サイド板とにより、取付溝と連通する第1接着剤オーバーフロー溝が囲まれて形成され、積層体が光発電フレームに取り付けられた時、張り出し部の上端は、積層体の受光面よりも低くなり、又は積層体の受光面と面一になる。
【選択図】図2
特許請求の範囲
【請求項1】
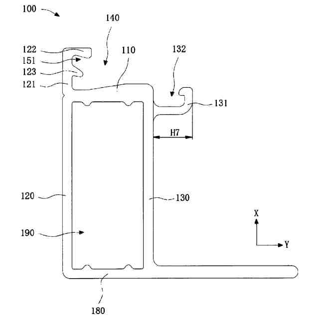
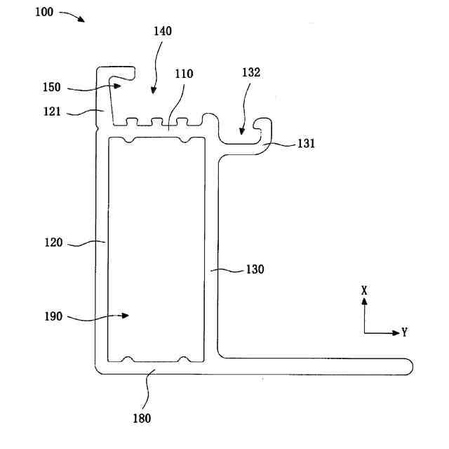
積層体の取り付けのために用いられる光発電フレームであって、
前記積層体のバックライト面を支持するために用いられる支持板と、
前記支持板の対向する両側にそれぞれ接続される第1サイド板及び第2サイド板と、を含み、前記第1サイド板は、前記支持板から張り出す張り出し部を有し、前記張り出し部と前記支持板によって、前記積層体を収容するための取付溝が囲まれて形成され、前記張り出し部及び/又は前記支持板には、前記取付溝と連通する接着剤溝構造が設けられ、前記第2サイド板の前記第1サイド板から離れる側には接着剤オーバーフロープレートが突出して設けられ、前記接着剤オーバーフロープレートは前記第1サイド板から離れる側に向けて張り出しており、且つ、前記接着剤オーバーフロープレートと前記第2サイド板とによって、前記取付溝と連通する第1接着剤オーバーフロー溝が囲まれて形成され、
前記積層体が前記光発電フレームに取り付けられたとき、前記張り出し部の上端は、前記積層体の受光面よりも低くなり、または前記積層体の受光面と面一になることを特徴とする光発電フレーム。
続きを表示(約 2,000 文字)
【請求項2】
前記支持板は、前記積層体を支持する支持面を有し、
前記張り出し部の前記支持板から離れる端部に接着剤バリア板が折り曲がって形成され、前記接着剤バリア板は、前記取付溝の内部に向かって張り出しており、且つ前記接着剤バリア板と前記張り出し部と前記支持板とによって第2接着剤オーバーフロー溝が囲まれて形成され、前記第2接着剤オーバーフロー溝と前記取付溝とは連通しており、前記接着剤バリア板は、前記張り出し部と接続される第1端、前記取付溝の内部まで延在する第2端、及び前記第1端と前記第2端とを接続する移行面を有し、前記移行面は、傾斜面又は曲面であり、前記接着剤バリア板の前記支持板に近い側にあり、
前記張り出し部の張り出す方向において、前記移行面と前記第1端との接続部から前記支持面までの距離をH1とし、前記移行面と前記第2端との接続部から前記支持面までの距離をH2とすると、H1>H2を満たすことを特徴とする請求項1に記載の光発電フレーム。
【請求項3】
前記張り出し部の前記取付溝に近い側の側面には、少なくとも1つの第1突起が設けられ、前記第1突起と前記接着剤バリア板と前記張り出し部とによって前記第2接着剤オーバーフロー溝が囲まれて形成され、且つ前記第1突起と前記支持板と前記張り出し部とによっても前記第2接着剤オーバーフロー溝が囲まれて形成され、
前記第1突起が複数ある場合には、隣り合う2つの第1突起と前記張り出し部とによっても、前記第2接着剤オーバーフロー溝が囲まれて形成されることを特徴とする請求項2に記載の光発電フレーム。
【請求項4】
前記支持板の前記取付溝に近い側の端面には、複数の第2突起が設けられ、隣り合う2つの前記第2突起と前記支持板とによって第3接着剤オーバーフロー溝が囲まれて形成され、前記第3接着剤オーバーフロー溝と前記取付溝とは連通していることを特徴とする請求項3に記載の光発電フレーム。
【請求項5】
前記支持板の前記取付溝に近い側の端面には、さらに前記第2サイド板に対応する第3突起が設けられ、前記第2突起、前記第3突起、及び前記支持板によって、前記取付溝と連通する第4接着剤オーバーフロー溝が囲まれて形成されることを特徴とする請求項4に記載の光発電フレーム。
【請求項6】
前記接着剤オーバーフロー板は、接着剤収容部と、前記接着剤収容部の端部に折り曲がって形成された支持部とを含み、前記接着剤収容部の前記支持部から離れた側は前記第2サイド板に接続され、且つ前記第1サイド板から離れる方向に向かって張り出しており、前記支持部は、前記張り出し部の張り出す方向に延在し、且つ前記支持部と前記第2サイド板と前記接着剤収容部とによって前記第1接着剤オーバーフロー溝が囲まれて形成され、
前記積層体が前記光発電フレームに取り付けられたときに、前記積層体のバックライト面が、前記支持部の前記接着剤収容部から離れる側の端部に当接することを特徴とする請求項1に記載の光発電フレーム。
【請求項7】
補強板をさらに含み、前記補強板は、両側がそれぞれ前記第2サイド板および前記接着剤収容部の前記取付溝とは反対側の面に接続され、前記接着剤オーバーフロー板を支持するために用いられることを特徴とする請求項6に記載の光発電フレーム。
【請求項8】
前記接着剤オーバーフロープレートは接着剤集積部をさらに含み、前記接着剤集積部は、前記支持部の前記接着剤収容部から離れる端部に接続されて、前記第1サイド板側に近づく方向に張り出すものであり、前記接着剤集積部と前記第2サイド板との間には接着剤通過口が設けられ、前記接着剤通過口は、前記第1接着剤オーバーフロー溝、前記取付溝のいずれとも連通していることを特徴とする請求項6に記載の光発電フレーム。
【請求項9】
位置規制プレートをさらに含み、前記位置規制プレートは、前記光発電フレームの長手方向に延在する端部に設けられ、且つ当接面を有し、
前記積層体が前記光発電フレームに取り付けられた時、前記積層体の隣接する2つの側壁は、それぞれ前記張り出し部及び前記当接面と対向することを特徴とする請求項1に記載の光発電フレーム。
【請求項10】
前記第1サイド板、前記第2サイド板、及び前記支持板は、いずれも光発電フレームの長手方向に沿って長尺に延びるように構成され、
前記位置規制板は1つであり、且つ前記第1サイド板の、その延在方向端部に近い側に配置され、又は、前記位置規制板は、前記支持板の、その延在方向端部に近い側に配置され、
前記位置規制板は、前記接着剤溝構造の前記光発電フレームの長手方向に沿った端部において塞いで設けられることを特徴とする請求項9に記載の光発電フレーム。
(【請求項11】以降は省略されています)
発明の詳細な説明
【技術分野】
【0001】
本願は光発電モジュールの技術分野に関し、特に光発電フレーム及び光発電モジュールに関する。
続きを表示(約 2,500 文字)
【背景技術】
【0002】
光発電モジュールは、一般に光発電積層体及び積層体を取り付けるための光発電フレームからなり、そのうち、光発電フレームは、光発電モジュールの重要な構成部分として、光発電モジュールの輸送及び取り付けを容易にするように、積層体を固定して密封するなどの役割を果たしており、光発電モジュールのフレーム構造は、光発電モジュールの取り付け及び耐用年数に大きく影響する。
【0003】
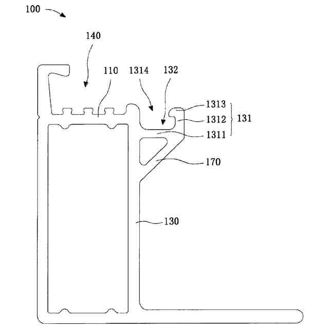
通常の光発電フレーム(01)は積層体を3面で固定するC型部材であり、図1に示すように、光発電フレームは、一般的にA面(011)構造を有する。積層体がこのような光発電フレームに取り付けられた時、A面は積層体の受光面よりも高い位置にあり、A面の遮蔽により、長時間の使用中に積層体に多くの塵埃が溜まり、雨水や露などの自然洗浄後に塵埃が積層体のA面に近い領域まで洗い流され、積層体の受光面に水溜まりや灰溜まりなどの不具合が生じる。光発電フレームによって積層体に対する遮蔽効果を低減するために、A面構造設計をキャンセルした光発電フレームが市販されているが、このようなフレーム構造は、積層体に対する接着強度が不十分であり、且つ積層体を接着する間に接着剤が積層体の表面にこぼれ出しやすく、積層体の表面に遮蔽の影響を及ぼし、且つ美観に不利である。
【発明の概要】
【発明が解決しようとする課題】
【0004】
このことに鑑みて、従来において、積層体が光発電フレームに取り付けられた時、積層体の受光面は水溜まりや灰溜まりなどの不具合を引き起こしやすく、且つ光発電フレームの積層体に対する接着強度が不十分であるという問題に対して、光発電フレーム及び光発電モジュールを提供する必要がある。
【課題を解決するための手段】
【0005】
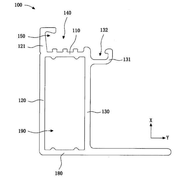
積層体の取り付けのために用いられる光発電フレームであって、
前記積層体のバックライト面を支持するために用いられる支持板と、
前記支持板の対向する両側にそれぞれ接続される第1サイド板及び第2サイド板と、を含み、前記第1サイド板は、前記支持板から張り出す張り出し部を有し、前記張り出し部と前記支持板によって、前記積層体を収容するための取付溝が囲まれて形成され、前記張り出し部及び/又は前記支持板には、前記取付溝と連通する接着剤溝構造が設けられ、前記第2サイド板の前記第1サイド板から離れる側には接着剤オーバーフロープレートが突出して設けられ、前記接着剤オーバーフロープレートは前記第1サイド板から離れる側に向けて張り出しており、且つ、前記接着剤オーバーフロープレートと前記第2サイド板とによって、前記取付溝と連通する第1接着剤オーバーフロー溝が囲まれて形成され、
前記積層体が前記光発電フレームに取り付けられたとき、前記張り出し部の上端は、前記積層体の受光面よりも低くなり、または前記積層体の受光面と面一になる。
【0006】
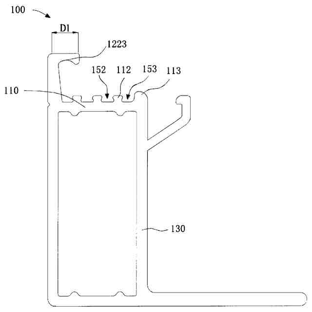
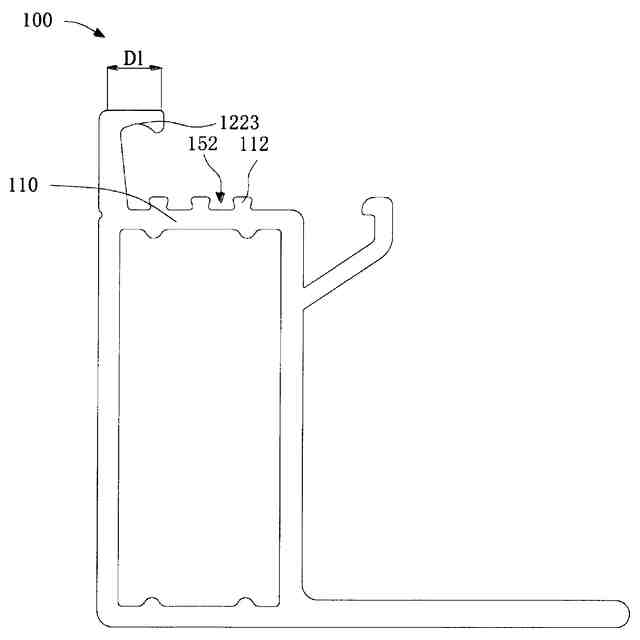
一実施例では、前記支持板は、前記積層体を支持する支持面を有し、
前記張り出し部の前記支持板から離れる端部に接着剤バリア板が折り曲がって形成され、前記接着剤バリア板は、前記取付溝の内部に向かって張り出しており、且つ前記接着剤バリア板と前記張り出し部と前記支持板とによって第2接着剤オーバーフロー溝が囲まれて形成され、前記第2接着剤オーバーフロー溝と前記取付溝とは連通しており、前記接着剤バリア板は、前記張り出し部と接続される第1端、前記取付溝の内部まで延在する第2端、及び前記第1端と前記第2端とを接続する移行面を有し、前記移行面は、傾斜面又は曲面であり、前記接着剤バリア板の前記支持板に近い側にあり、
前記張り出し部の張り出す方向において、前記移行面と前記第1端との接続部から前記支持面までの距離をH1とし、前記移行面と前記第2端との接続部から前記支持面までの距離をH2とすると、H1>H2を満たす。
【0007】
一実施例では、前記張り出し部の前記取付溝に近い側の側面には、少なくとも1つの第1突起が設けられ、前記第1突起と前記接着剤バリア板と前記張り出し部とによって前記第2接着剤オーバーフロー溝が囲まれて形成され、且つ前記第1突起と前記支持板と前記張り出し部とによっても前記第2接着剤オーバーフロー溝が囲まれて形成され、
前記第1突起が複数ある場合には、隣り合う2つの第1突起と前記張り出し部とによっても、前記第2接着剤オーバーフロー溝が囲まれて形成される。
【0008】
一実施例では、前記支持板の前記取付溝に近い側の端面には、複数の第2突起が設けられ、隣り合う2つの前記第2突起と前記支持板とによって第3接着剤オーバーフロー溝が囲まれて形成され、前記第3接着剤オーバーフロー溝と前記取付溝とは連通している。
【0009】
一実施例では、前記支持板の前記取付溝に近い側の端面には、さらに前記第2サイド板に対応する第3突起が設けられ、前記第2突起、前記第3突起、及び前記支持板によって、前記取付溝と連通する第4接着剤オーバーフロー溝が囲まれて形成される。
【0010】
一実施例では、前記接着剤オーバーフロー板は、接着剤収容部と、前記接着剤収容部の端部に折り曲がって形成された支持部とを含み、前記接着剤収容部の前記支持部から離れた側は前記第2サイド板に接続され、且つ前記第1サイド板から離れる方向に向かって張り出しており、前記支持部は、前記張り出し部の張り出す方向に延在し、且つ前記支持部と前記第2サイド板と前記接着剤収容部とによって前記第1接着剤オーバーフロー溝が囲まれて形成され、
前記積層体が前記光発電フレームに取り付けられたときに、前記積層体のバックライト面が、前記支持部の前記接着剤収容部から離れる側の端部に当接する。
(【0011】以降は省略されています)
この特許をJ-PlatPat(特許庁公式サイト)で参照する
関連特許
瑞旭実業有限公司
光発電フレーム及び光発電モジュール
4日前
個人
高圧電気機器の開閉器
20日前
個人
電気を重力で発電装置
1か月前
キヤノン電子株式会社
モータ
1か月前
株式会社東光高岳
充電器
今日
株式会社アイドゥス企画
減反モータ
20日前
トヨタ自動車株式会社
モータ
1か月前
株式会社デンソー
端子台
13日前
株式会社デンソー
回転電機
4日前
株式会社ダイヘン
送配電装置
4日前
株式会社不二越
空冷式油圧装置
4日前
富士電機株式会社
電力変換装置
4日前
ローム株式会社
半導体集積回路
11日前
本田技研工業株式会社
回転電機
6日前
富士電機株式会社
電力変換装置
4日前
矢崎総業株式会社
給電装置
12日前
株式会社TMEIC
制御装置
12日前
株式会社日立製作所
回転電機
11日前
矢崎総業株式会社
電源回路
19日前
株式会社東光高岳
充電対象切換システム
今日
日産自動車株式会社
ロータシャフト
27日前
大和ハウス工業株式会社
敷設用機器
12日前
日産自動車株式会社
ロータシャフト
27日前
株式会社イノコンバンク
無線給電システム
4日前
ローム株式会社
モータドライバ回路
27日前
個人
非対称鏡像力を有する4層PWB電荷搬送体
27日前
トヨタ自動車株式会社
ステータの製造装置
1か月前
株式会社アイシン
電力変換装置
1か月前
サンデン株式会社
モータ
5日前
サンデン株式会社
モータ
5日前
株式会社土井製作所
ケーブル保護管路
11日前
京商株式会社
模型用非接触電力供給システム
20日前
西芝電機株式会社
緊急切断方法及び軸発電機
今日
トヨタ自動車株式会社
可変界磁ロータ
1か月前
株式会社TMEIC
電力変換装置
12日前
本田技研工業株式会社
回転電機用ロータ
20日前
続きを見る
他の特許を見る