TOP
|
特許
|
意匠
|
商標
特許ウォッチ
Twitter
他の特許を見る
公開番号
2025176772
公報種別
公開特許公報(A)
公開日
2025-12-05
出願番号
2024083071
出願日
2024-05-22
発明の名称
太陽光発電設備の施工方法及び太陽光発電設備
出願人
株式会社ニチモ
代理人
個人
,
個人
主分類
H02S
40/22 20140101AFI20251128BHJP(電力の発電,変換,配電)
要約
【課題】建築物の屋上又は屋根に設置される両面太陽電池パネルの発電効率をより向上させることができる太陽光発電設備の施工方法を提供すること。
【解決手段】太陽光発電設備の施工方法は、建築物の屋上又は屋根の躯体に、両面発電型の太陽電池パネルを支持する架台の基礎を設ける工程と、前記基礎を含む躯体上であって、前記太陽電池パネルの設置領域よりも広い光反射領域の全面に、少なくとも光反射性を有する光反射層を形成する工程と、前記光反射層の形成後、前記基礎の上に前記架台と共に前記太陽電池パネルを設置する工程と、を有する。
【選択図】図4
特許請求の範囲
【請求項1】
建築物の屋上又は屋根の躯体に、両面発電型の太陽電池パネルを支持する架台の基礎を設ける工程と、
前記基礎を含む躯体上であって、前記太陽電池パネルの設置領域よりも広い光反射領域の全面に、少なくとも光反射性を有する光反射層を形成する工程と、
前記光反射層の形成後、前記基礎の上に前記架台と共に前記太陽電池パネルを設置する工程と、
を有する太陽光発電設備の施工方法。
続きを表示(約 570 文字)
【請求項2】
前記光反射層は、少なくともポリアミン、イソシアネート、光反射性材料を含む樹脂化合物である、
請求項1に記載の太陽光発電設備の施工方法。
【請求項3】
前記光反射層の反射率は、80~95%である、
請求項1又は2に記載の太陽光発電設備の施工方法。
【請求項4】
前記架台の基礎を設ける工程と、前記光反射層を形成する工程との間に、前記光反射層との密着性を高めるプライマー層を形成する工程を含む、
請求項1又は2に記載の太陽光発電設備の施工方法。
【請求項5】
建築物の屋上又は屋根の躯体に設けられた、両面発電型の太陽電池パネルを支持する架台の基礎と、
前記基礎を含む躯体上に設定された、前記太陽電池パネルの設置領域よりも広い光反射領域の全面を覆う光反射層と、
前記基礎に支持された架台と、
前記架台に設置された前記太陽電池パネルと、
を備える太陽光発電設備。
【請求項6】
前記光反射層の反射率は、80~95%である、
請求項5に記載の太陽光発電設備。
【請求項7】
前記太陽電池パネルは、東西方向に沿って離間して複数設置される、
請求項5又は6に記載の太陽光発電設備。
発明の詳細な説明
【技術分野】
【0001】
本開示は、太陽光発電設備の施工方法及び太陽光発電設備に関する。
続きを表示(約 1,600 文字)
【背景技術】
【0002】
近年、太陽電池素子(セル)をパネル面の表側と裏側にそれぞれに敷き詰めた両面発電型の太陽電池パネル(以下、「両面太陽電池パネル」又は単に「パネル」ともいう)が普及しつつある。このような両面太陽電池パネルを用いた太陽光発電設備では、パネルの裏側により多くの太陽光が入射するように、両面太陽電池パネルの下方に反射板を設けることが行われている(例えば、特許文献1,2参照)。
【先行技術文献】
【特許文献】
【0003】
特開平11-330523号公報
特開平11-340491号公報
【発明の概要】
【発明が解決しようとする課題】
【0004】
上記特許文献に記載された太陽光発電設備において、パネルの下方に設けられる反射板の大きさは、パネルの設置スペースと同じか、それよりも狭い範囲に制限される。パネルの設置、保守点検等のため、パネルの周囲に通路や作業スペースが必要となるためである。両面太陽電池パネルを建築物の屋上や屋根に設置した場合、地面に設置した場合と比べて太陽光を遮られにくいため、発電効率の向上が見込まれる。しかし、両面太陽電池パネルを建築物の屋上や屋根に設置した場合でも、パネルの下方に設けられる反射板の大きさは、地面に設置した場合と同様に制約を受ける。そのため、両面太陽電池パネルを建築物の屋上や屋根に設置した場合において、発電効率をより向上させることが課題となる。
【0005】
本開示の目的は、建築物の屋上又は屋根に設置される両面太陽電池パネルの発電効率をより向上させることができる太陽光発電設備の施工方法及び太陽光発電設備を提供することにある。
【課題を解決するための手段】
【0006】
第1の開示に係わる太陽光発電設備の施工方法は、建築物の屋上又は屋根の躯体に、両面発電型の太陽電池パネルを支持する架台の基礎を設ける工程と、前記基礎を含む躯体上であって、前記太陽電池パネルの設置領域よりも広い光反射領域の全面に、少なくとも光反射性を有する光反射層を形成する工程と、前記光反射層の形成後、前記基礎の上に前記架台と共に前記太陽電池パネルを設置する工程と、を有する。
【0007】
第2の開示に係わる太陽光発電設備は、建築物の屋上又は屋根の躯体に設けられた、両面発電型の太陽電池パネルを支持する架台の基礎と、前記基礎を含む躯体上に設定された、前記太陽電池パネルの設置領域よりも広い光反射領域の全面を覆う光反射層と、前記基礎に支持された架台と、前記架台に設置された前記太陽電池パネルと、を備える。
【発明の効果】
【0008】
本開示に係る太陽光発電設備の施工方法及び太陽光発電設備によれば、建築物の屋上又は屋根に設置される両面太陽電池パネルの発電効率をより向上させることができる。
【図面の簡単な説明】
【0009】
太陽光発電設備1の斜視図である。
太陽光発電ユニット10の配置を説明する図である。
光反射部20及び躯体2の概略断面図である。
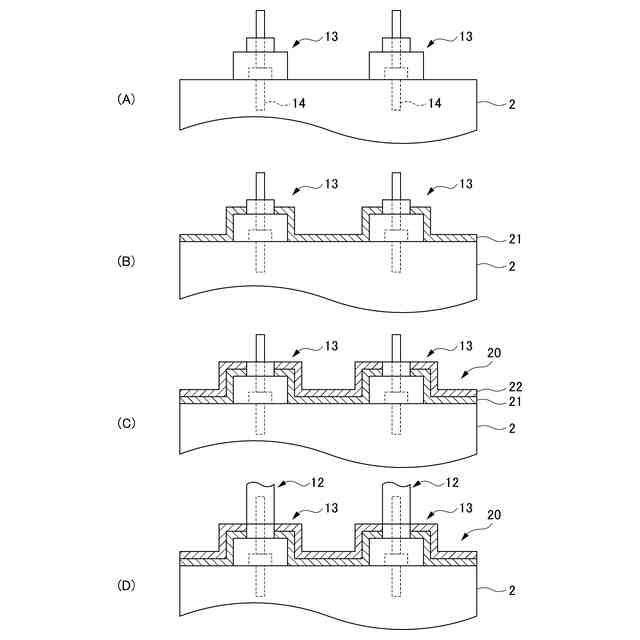
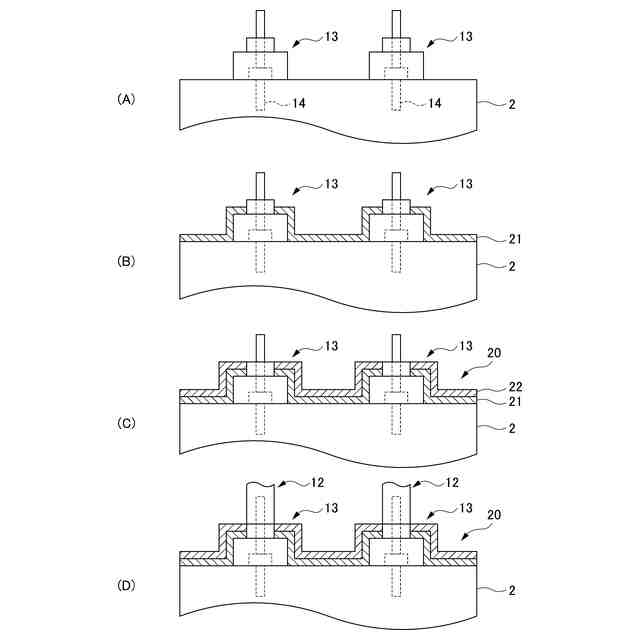
(A)~(D)は、基礎13を含む躯体2上に光反射部20を形成する手順を説明する概念図である。
【発明を実施するための形態】
【0010】
以下、本開示の一態様に係る太陽光発電設備の施工方法及び太陽光発電設備の実施形態について説明する。本明細書に添付した図面は、いずれも模式図又は概念図であり、理解しやすさ等を考慮して、各部の形状、縮尺、縦横の寸法比等を、実物から変更又は誇張している。また、図面においては、部材の断面を示すハッチングを適宜に省略する。
(【0011】以降は省略されています)
この特許をJ-PlatPat(特許庁公式サイト)で参照する
関連特許
株式会社ニチモ
太陽光発電設備の施工方法及び太陽光発電設備
4日前
個人
高圧電気機器の開閉器
20日前
個人
電気を重力で発電装置
1か月前
キヤノン電子株式会社
モータ
1か月前
キヤノン電子株式会社
モータ
1か月前
株式会社東光高岳
充電器
今日
コーセル株式会社
電源装置
1か月前
株式会社アイドゥス企画
減反モータ
20日前
トヨタ自動車株式会社
モータ
1か月前
株式会社デンソー
端子台
13日前
株式会社デンソー
回転電機
4日前
株式会社ダイヘン
送配電装置
4日前
ローム株式会社
半導体集積回路
11日前
本田技研工業株式会社
回転電機
6日前
株式会社不二越
空冷式油圧装置
4日前
富士電機株式会社
電力変換装置
4日前
富士電機株式会社
電力変換装置
4日前
株式会社TMEIC
制御装置
12日前
矢崎総業株式会社
給電装置
12日前
株式会社東光高岳
充電対象切換システム
今日
矢崎総業株式会社
電源回路
19日前
株式会社日立製作所
回転電機
11日前
トヨタ自動車株式会社
固定子の加熱装置
1か月前
日産自動車株式会社
ロータシャフト
27日前
大和ハウス工業株式会社
敷設用機器
12日前
株式会社イノコンバンク
無線給電システム
4日前
個人
非対称鏡像力を有する4層PWB電荷搬送体
27日前
ローム株式会社
モータドライバ回路
27日前
トヨタ自動車株式会社
ステータの製造装置
1か月前
日産自動車株式会社
ロータシャフト
27日前
株式会社マキタ
電動作業機
1か月前
株式会社アイシン
電力変換装置
1か月前
西芝電機株式会社
緊急切断方法及び軸発電機
今日
株式会社TMEIC
電力変換装置
12日前
個人
電線盗難防止方法及び電線盗難防止装置
1か月前
トヨタ紡織株式会社
ロータの製造装置
1か月前
続きを見る
他の特許を見る