TOP
|
特許
|
意匠
|
商標
特許ウォッチ
Twitter
他の特許を見る
公開番号
2025178375
公報種別
公開特許公報(A)
公開日
2025-12-05
出願番号
2025161130,2023042700
出願日
2025-09-29,2023-03-17
発明の名称
箔押し印刷型、印刷装置、及び、車両用内装部品
出願人
森六株式会社
代理人
個人
,
個人
,
個人
,
個人
,
個人
主分類
B29C
59/02 20060101AFI20251128BHJP(プラスチックの加工;可塑状態の物質の加工一般)
要約
【課題】小型でありながら効率よく箔押し印刷を行うことのできる箔押し印刷技術を提供すること。
【解決手段】箔押し印刷型(20A)は、印刷対象物(11)の上面に載置された箔(12)に向かって押し当てることにより、印刷対象物(11)の表面に縫い目模様(11a)を付けながら箔(12)を転写する。箔押し印刷型(20A)は、回転可能に設けられる基部(21)と、この基部(21)の外周面に設けられ縫い目模様(11a)に対応した部位である模様形状部(22)と、を有している。
【選択図】図6
特許請求の範囲
【請求項1】
印刷対象物の上面に載置された箔に向かって押し当てることにより、前記印刷対象物の表面に縫い目模様を付けながら前記箔を転写し、
回転可能に設けられる基部と、この基部の外周面に設けられ前記縫い目模様に対応した部位である模様形状部と、を有している箔押し印刷型。
続きを表示(約 470 文字)
【請求項2】
前記模様形状部は、一縫い分の縫い目模様に対応し、
前記印刷対象物の表面において前記縫い目模様の延びる方向に対応する方向を長手方向、長手方向に直交する方向を幅方向とした場合に、
前記模様形状部の長手方向の端部において、前記模様形状部よりも高く突出している突出部をさらに有し、
前記模様形状部と前記突出部とが前記基部の外周面に交互に設けられている、請求項1に記載の箔押し印刷型。
【請求項3】
請求項1に記載の箔押し印刷型が設けられている印刷装置において、
前記箔を送る搬送ローラ、及び/又は、前記印刷対象物を送るための搬送ローラを備えている。
【請求項4】
請求項3に記載の印刷装置において、
前記箔押し印刷型を加熱するためのヒータが設けられている。
【請求項5】
請求項2に記載の箔押し印刷型を用いて印刷が行われ、
前記縫い目模様と、前記縫い目模様よりも深く凹んでいる部位とが交互に形成されている車両用内装部品。
発明の詳細な説明
【技術分野】
【0001】
本発明は、箔押し印刷に用いる箔押し印刷型、印刷装置、及び、箔押し印刷型を用いた車両用内装部品に関する。
続きを表示(約 1,300 文字)
【背景技術】
【0002】
特許文献1には、自動車内装材等の表皮材に型を押し付けることにより、縫い目模様等の凹凸状の模様を形成することが開示されている。
【先行技術文献】
【特許文献】
【0003】
特開2020-176341号公報
【発明の概要】
【発明が解決しようとする課題】
【0004】
特許文献1に開示されているような型を、印刷対象物に向かって複数回昇降させて連続的に模様を付すことが考えられる。この場合、印刷対象物及び/又は型を正確な位置に移動させながら作業を行う必要がある。正確な位置決めを行いながら作業を繰り返さなければならず、作業の効率性が低下する虞がある。一方、少ない回数で模様を付そうとした場合、より広い範囲の模様に対応した型を準備することが考えられる。この場合には、型が大型化すると共に、印刷対象物の形状等が制限される。このことは、印刷対象物に箔を載せて転写する箔押し印刷についても同様のことが言える。小型でありながら効率よく箔押し印刷を行うことのできる箔押し印刷型の提供が望まれる。
【0005】
本開示は、小型でありながら効率よく箔押し印刷を行うことのできる箔押し印刷技術の提供を課題とする。
【課題を解決するための手段】
【0006】
本開示によれば、印刷対象物の上面に載置された箔に向かって押し当てることにより、前記印刷対象物の表面に縫い目模様を付けながら前記箔を転写し、
回転可能に設けられる基部と、この基部の外周面に設けられ前記縫い目模様に対応した部位である模様形状部と、を有している箔押し印刷型が提供される。
【発明の効果】
【0007】
本開示によれば、小型でありながら効率よく箔押し印刷を行うことのできる箔押し印刷技術を提供することができる。
【図面の簡単な説明】
【0008】
参考例1による箔押し印刷型の要部を説明する斜視図である。
図1に示した箔押し印刷型を用いた箔押し印刷について説明する図である。
図1の底面図である。
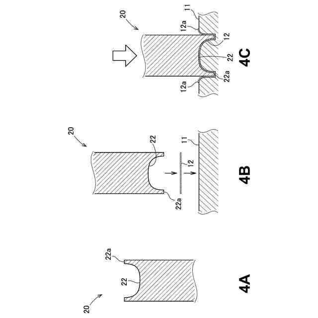
図4Aは、図3の4A-4A線断面図、図4Bは、準備工程について説明する図、図4Cは、箔押し印刷工程について説明する図である。
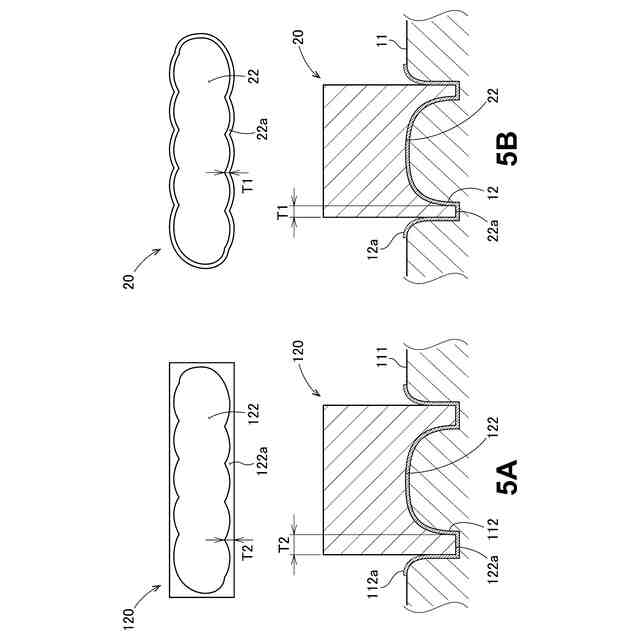
図5Aは、比較例による問題点について説明する図、図5Bは、参考例1による効果について説明する図である。
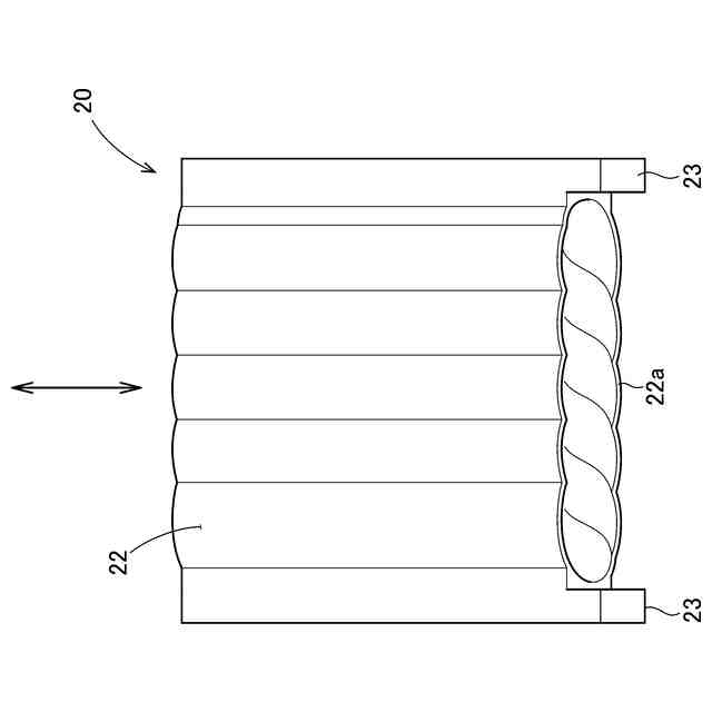
実施例による箔押し印刷型の斜視図である。
図6に示した箔押し印刷型を用いた箔押し印刷について説明する図である。
参考例2による箔押し印刷型の断面図である。
【発明を実施するための形態】
【0009】
本発明の実施の形態を添付図に基づいて以下に説明する。
【0010】
<参考例1>
実施例を説明するのに先立ち、実施例のベースとなっている参考例1を図面に基づいて説明する。
(【0011】以降は省略されています)
この特許をJ-PlatPat(特許庁公式サイト)で参照する
関連特許
森六株式会社
樹脂成形品
1か月前
森六株式会社
衝撃吸収体
3か月前
森六株式会社
車両用蓋構造
3か月前
森六株式会社
車両用蓋構造
3か月前
森六株式会社
空調用吹出装置
1か月前
森六株式会社
空調用吹出装置
2か月前
森六株式会社
樹脂成形品の製造方法、樹脂成形型、及び、樹脂成形品
1か月前
森六株式会社
箔押し印刷型、印刷装置、及び、車両用内装部品
5日前
個人
気泡緩衝材減容装置
2か月前
豊田鉄工株式会社
金型
4か月前
CKD株式会社
型用台車
11か月前
シーメット株式会社
光造形装置
11か月前
東レ株式会社
フィルムの製造方法
5か月前
東レ株式会社
フィルムの製造方法
5か月前
株式会社 型善
射出成形型
21日前
グンゼ株式会社
ピン
12か月前
東レ株式会社
フィルムの製造方法
8か月前
日機装株式会社
加圧システム
7か月前
株式会社カワタ
計量混合装置
6か月前
東レ株式会社
フィルムの製造方法。
4か月前
東レ株式会社
複合成形体の製造方法
1か月前
株式会社FTS
ロッド
10か月前
個人
樹脂可塑化方法及び装置
10か月前
株式会社エフピコ
賦形シート
1か月前
株式会社FTS
成形装置
11か月前
NOK株式会社
樹脂ゴム複合体
3か月前
トヨタ自動車株式会社
射出装置
9か月前
東レ株式会社
樹脂フィルムの製造方法
6か月前
株式会社漆原
シートの成形方法
6か月前
株式会社日本製鋼所
監視システム
12日前
株式会社不二越
射出成形機
8か月前
株式会社不二越
射出成形機
8か月前
株式会社コスメック
射出成形装置
6か月前
株式会社神戸製鋼所
混練機
10か月前
株式会社不二越
射出成形機
6か月前
株式会社不二越
射出成形機
8か月前
続きを見る
他の特許を見る