TOP
|
特許
|
意匠
|
商標
特許ウォッチ
Twitter
他の特許を見る
10個以上の画像は省略されています。
公開番号
2025150209
公報種別
公開特許公報(A)
公開日
2025-10-09
出願番号
2024050983
出願日
2024-03-27
発明の名称
空調用吹出装置
出願人
森六株式会社
代理人
個人
,
個人
,
個人
,
個人
,
個人
主分類
B60H
1/34 20060101AFI20251002BHJP(車両一般)
要約
【課題】快適性を向上させることができる空調用吹出装置を提供すること。
【解決手段】空調用吹出装置(10)は、吹出口(22)が形成されているハウジング(20)と、ハウジング(20)の内部に設けられたフィン本体(30)と、このフィン本体(30)を風の流れ方向に沿って変位させる第1フィン機構(40)と、を備えている。ハウジング(20)は、吹出口(22)の面積よりも面積が狭い狭小部(23)を有している。フィン本体(30)は、通常モードにおいて吹出口(22)と狭小部(23)との間に位置していると共に、上流側から下流側に向かって幅方向へ幅が広がるテーパ形状部(33)を有している。
【選択図】図3
特許請求の範囲
【請求項1】
内部に空気が送風され、送風される空気の流れる方向を基準として、下流側の端部に空気が吹き出される吹出口が形成されているハウジングと、
このハウジングの内部に変位可能に設けられたフィン本体と、を有し、
前記ハウジングは、前記吹出口の面積よりも面積が狭い狭小部を有し、
前記吹出口は、略矩形状を呈し、
前記吹出口の長辺に平行な方向を第1方向、前記長辺よりも短い辺である短辺に平行な方向を第2方向とした場合に、前記フィン本体は、前記第1方向に亘って設けられ、通常モードにおいて前記吹出口と前記狭小部との間に位置していると共に、上流側から下流側に向かって前記第2方向への幅が広がるテーパ形状部を有する空調用吹出装置。
続きを表示(約 1,000 文字)
【請求項2】
前記ハウジングの内部に、前記狭小部から前記吹出口まで前記フィン本体に沿って延びている内壁部が形成されている、請求項1に記載の空調用吹出装置。
【請求項3】
前記フィン本体の前記第2方向の幅は、前記吹出口の前記短辺の幅よりも小さい、請求項1に記載の空調用吹出装置。
【請求項4】
前記フィン本体を送風方向に沿って変位させる第1フィン機構を有する、請求項1に記載の空調用吹出装置。
【請求項5】
前記フィン本体は送風及び送風停止を切り替え可能であり、前記吹出口からの空気の吹き出しを停止する状態を送風停止モードとした場合に、前記通常モードから前記送風停止モードへの変更は、前記フィン本体を上流側に向かって変位させ、流路を塞ぐことにより行われる、請求項4に記載の空調用吹出装置。
【請求項6】
前記第1フィン機構は、通電することにより回転方向の駆動力を発生させる第1モータと、この第1モータの駆動力を直線方向の運動に変換するラック部と、を有し、
前記フィン本体は、前記ラック部に連結されている、請求項5に記載の空調用吹出装置。
【請求項7】
前記フィン本体を第2方向に変位させるための第2フィン機構をさらに有する、請求項5に記載の空調用吹出装置。
【請求項8】
前記第2フィン機構は、通電することにより回転方向の駆動力を発生させる第2モータと、この第2モータの駆動力によって第2方向に変位すると共に前記フィン本体を支持可能なフィン支持部と、を有する、請求項7に記載の空調用吹出装置。
【請求項9】
前記フィン支持部は、第2方向に直線的に変位するようギヤが直線状に配置された直線ギヤ部と、第2方向に円弧状に変位するようギヤが円弧状に配置された円弧ギヤ部と、を有し、これらの直線ギヤ部と円弧ギヤ部とが連続して形成されている、請求項8に記載の空調用吹出装置。
【請求項10】
前記フィン本体に向かって変位可能に設けられ、前記吹出口から吹き出される空気の方向をガイドする送風ガイド機構をさらに有し、
前記送風ガイド機構は、前記フィン本体に沿って延び、前記フィン本体に向かって変位可能なガイドフィンを有する、請求項5に記載の空調用吹出装置。
(【請求項11】以降は省略されています)
発明の詳細な説明
【技術分野】
【0001】
本発明は、空調用吹出装置に関する。
続きを表示(約 1,500 文字)
【背景技術】
【0002】
車両に用いられる空調用吹出装置に関する従来技術として、特許文献1に開示される技術がある。
【0003】
特許文献1に示されるような、空調用吹出装置は、下流側の端部に吹出口が形成されているハウジングと、ハウジングの内部に設けられ回転させることにより流路の方向を変更可能なフィン機構と、を備えている。
【先行技術文献】
【特許文献】
【0004】
特開平5-203252号公報
【発明の概要】
【発明が解決しようとする課題】
【0005】
特許文献1に開示された空調用吹出装置のハウジングは、吹出口の流路面積が狭まっている。特許文献1の図3に示されているように、吹出口の流路面積が狭まっていることにより、吹出口において風速が上がる。乗員に最も近い位置に位置する吹出口で風速が上がることにより、乗員には風速の速い風が局所的に当たり、乗員が不快に感じる虞がある。快適性の点について改善の余地がある。
【0006】
本開示は、快適性を向上させることができる空調用吹出装置の提供を課題とする。
【課題を解決するための手段】
【0007】
本開示によれば、内部に空気が送風され、送風される空気の流れる方向を基準として、下流側の端部に空気が吹き出される吹出口が形成されているハウジングと、
このハウジングの内部に変位可能に設けられたフィン本体と、を有し、
前記ハウジングは、前記吹出口の面積よりも面積が狭い狭小部を有し、
前記吹出口は、略矩形状を呈し、
前記吹出口の長辺に平行な方向を第1方向、前記長辺よりも短い辺である短辺に平行な方向を第2方向とした場合に、前記フィン本体は、前記第1方向に亘って設けられ、通常モードにおいて前記吹出口と前記狭小部との間に位置していると共に、上流側から下流側に向かって前記第2方向への幅が広がるテーパ形状部を有する空調用吹出装置が提供される。
【発明の効果】
【0008】
本開示によれば、快適性を向上させることができる空調用吹出装置を提供できる。
【図面の簡単な説明】
【0009】
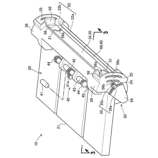
実施例による空調用吹出装置を上方から見た状態の斜視図である。
図1に示した空調用吹出装置を下方から見た状態の斜視図である。
図1の3-3線断面図である。
図3に示したフィン本体及び第1フィン機構を模式的に示した図である。
図3に示した第2フィン機構を模式的に示した図である。
図3に示した送風ガイド機構を模式的に示した図である。
図7Aは、通常モードにおける空調用吹出装置の作用について説明する図、図7Bは、送風停止モードにおける空調用吹出装置の作用について説明する図である。
図8Aは、下方送風モードにおける空調用吹出装置の作用について説明する図、図8Bは、第1の中央送風モードにおける空調用吹出装置の作用について説明する図である。
図9Aは、上方送風モードにおける空調用吹出装置の作用について説明する図、図9Bは、第2の中央送風モードにおける空調用吹出装置の作用について説明する図である。
【発明を実施するための形態】
【0010】
本発明の実施の形態を添付図に基づいて以下に説明する。なお、添付図に示した形態は本発明の一例であり、本発明は当該形態に限定されない。
(【0011】以降は省略されています)
この特許をJ-PlatPat(特許庁公式サイト)で参照する
関連特許
森六株式会社
樹脂成形品
1か月前
森六株式会社
衝撃吸収体
3か月前
森六株式会社
車両用蓋構造
3か月前
森六株式会社
車両用蓋構造
3か月前
森六株式会社
空調用吹出装置
1か月前
森六株式会社
空調用吹出装置
2か月前
森六株式会社
樹脂成形品の製造方法、樹脂成形型、及び、樹脂成形品
1か月前
森六株式会社
箔押し印刷型、印刷装置、及び、車両用内装部品
5日前
個人
タイヤレバー
4か月前
個人
前輪キャスター
3か月前
個人
上部一体型自動車
2か月前
個人
空間形成装置
1か月前
個人
タイヤ脱落防止構造
3か月前
個人
ホイルのボルト締結
5か月前
個人
ルーフ付きトライク
4か月前
日本精機株式会社
表示装置
3か月前
個人
マスタシリンダ
2か月前
日本精機株式会社
表示装置
4か月前
日本精機株式会社
表示装置
4か月前
日本精機株式会社
表示装置
4か月前
個人
車両通過構造物
4か月前
日本精機株式会社
照明装置
1か月前
個人
アクセルのソフトウェア
5か月前
個人
乗合路線バスの客室装置
4か月前
個人
常設収納型サンバイザー
1か月前
株式会社ニフコ
照明装置
3か月前
日本精機株式会社
車載表示装置
2か月前
日本精機株式会社
車載表示装置
5か月前
個人
回転窓ワイパー装置
1か月前
日本精機株式会社
車載表示装置
1か月前
株式会社ニフコ
保持装置
5か月前
日本精機株式会社
車載表示装置
1か月前
個人
音声ガイド、音声サービス
4か月前
日本精機株式会社
画像投映装置
2か月前
株式会社豊田自動織機
産業車両
4か月前
個人
円湾曲ホイール及び球体輪
4か月前
続きを見る
他の特許を見る