TOP
|
特許
|
意匠
|
商標
特許ウォッチ
Twitter
他の特許を見る
公開番号
2025167180
公報種別
公開特許公報(A)
公開日
2025-11-07
出願番号
2024071560
出願日
2024-04-25
発明の名称
樹脂成形品
出願人
森六株式会社
代理人
個人
,
個人
,
個人
,
個人
,
個人
主分類
B60Q
3/14 20170101AFI20251030BHJP(車両一般)
要約
【課題】製造コストを抑えることができる樹脂成形品を提供すること。
【解決手段】樹脂成形品(10)は、光が入射可能な導光体(20)と、導光体(20)から入射した光により発光可能な発光体(40)と、導光体(20)及び発光体(40)を支持する基材(50)と、により一体的に形成されている。導光体(20)の出射面(20a)と、発光体(40)の入射面(46)とは、空気層(21)を介して対向するように離れている。
【選択図】図2
特許請求の範囲
【請求項1】
光が入射可能であり、出射面を有する導光体と、
前記導光体の前記出射面から出射した光が入射可能な入射面を有し、前記入射面から入射した光により発光可能な発光体と、
前記導光体を支持する導光体側支持部、及び、前記発光体を支持する発光体側支持部を有する基材と、が一体的に形成されており、
前記導光体の前記出射面と、前記発光体の前記入射面とが、空気層を介して対向するように離れている、樹脂成形品。
続きを表示(約 620 文字)
【請求項2】
前記発光体側支持部は、前記発光体の裏面の周縁に沿って形成された枠状である、
請求項1に記載の樹脂成形品。
【請求項3】
前記基材は、前記導光体側支持部、及び、前記発光体側支持部を接続する接続部を有し、
前記発光体の表面に対向する方向から見て、前記接続部は、前記空気層に重ならないように、位置している、
請求項1に記載の樹脂成形品。
【請求項4】
前記導光体と、前記発光体とは、同じ材料から形成されている、
請求項1に記載の樹脂成形品。
【請求項5】
前記発光体の裏面には、前記発光体を装飾可能な装飾層が設けられている、
請求項1に記載の樹脂成形品。
【請求項6】
前記発光体側支持部は、前記発光体の裏面の周縁に沿って形成された枠状であり、
前記発光体側支持部と、前記発光体とは、前記装飾層を挟んでいる、
請求項5に記載の樹脂成形品。
【請求項7】
前記導光体に加え、第2導光体を備え、
前記導光体と、前記第2導光体とは、前記発光体を挟むように配置されている、
請求項1~請求項6のいずれか1項に記載の樹脂成形品。
【請求項8】
前記導光体と、前記第2導光体とは、前記発光体の長手方向に沿って配置されている、
請求項7に記載の樹脂成形品。
発明の詳細な説明
【技術分野】
【0001】
本発明は、導光体を備える樹脂成形品に関する。
続きを表示(約 1,300 文字)
【背景技術】
【0002】
樹脂成形品には、光源から入射された光を線状又は面状に広げて出射する導光体を備えたものがある。導光体を備えた樹脂成形品に関する先行技術が特許文献1に開示されている。
【0003】
特許文献1に開示された導光体は、車両用灯具に採用されている。この車両用灯具の導光体は、光源からの光が入射する棒状部と、棒状部に沿って配置される縁を有する板状部と、を備えている。
【先行技術文献】
【特許文献】
【0004】
特開2019-033044号公報
【発明の概要】
【発明が解決しようとする課題】
【0005】
仮に、棒状部と板状部とを同じ材料により一体的に成形すると、棒状部と板状部との境界が曖昧となり、棒状部の基端に入射した光が棒状部の先端まで届きにくく、直ぐに板状部に入射してしまう。これによって、板状部を光源から遠い部分まで均一に光らせることが困難となる。そこで、特許文献1では、互いに異なる樹脂材料を用いて、棒状部と板状部を成形することや、板状部を形成する材料に光拡散材を含めることを開示している。ただし、製造コストの観点から改善の余地がある。
【0006】
本発明は、製造コストを抑えることができる樹脂成形品の提供を課題とする。
【課題を解決するための手段】
【0007】
本開示では、光が入射可能であり、出射面を有する導光体と、
前記導光体の前記出射面から出射した光が入射可能な入射面を有し、前記入射面から入射した光により発光可能な発光体と、
前記導光体を支持する導光体側支持部、及び、前記発光体を支持する発光体側支持部を有する基材と、が一体的に形成されており、
前記導光体の前記出射面と、前記発光体の前記入射面とが、空気層を介して対向するように離れている、樹脂成形品が提供される。
【発明の効果】
【0008】
本発明は、製造コストを抑えることができる樹脂成形品を提供できる。
【図面の簡単な説明】
【0009】
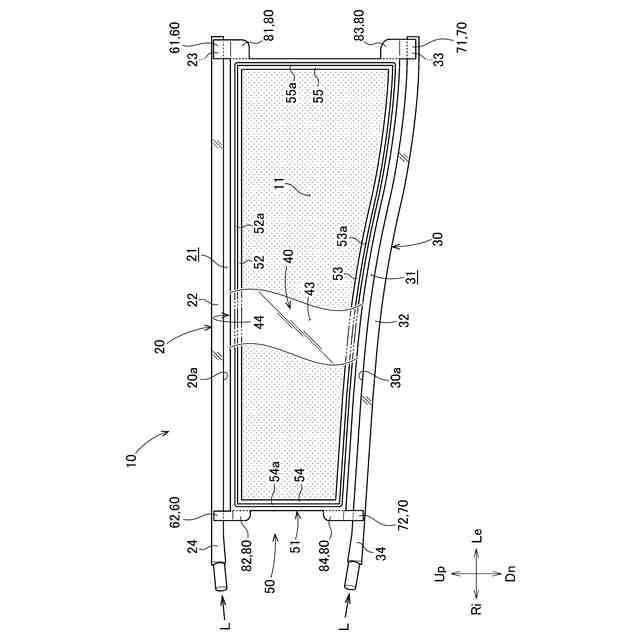
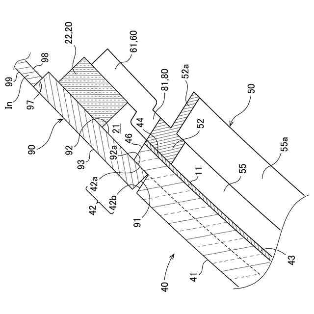
図1Aは、車両のインストルメントパネルに対して取り付けられた実施例による樹脂成形品の図である。図1Bは、図1Aの1B―1B線断面図である。
図1Aの樹脂成形品の斜視図である。
図2の樹脂成形品の分解斜視図である。
発光体の表面に対向する方向から見た樹脂成形品の図である。
発光体の裏側から見た樹脂成形品の図である。
図6Aは、図4の6A線で囲われた部位の拡大図である。図6Bは、図4の6B線で囲われた部位の拡大図である。図6Cは、図4の6C線で囲われた部位の拡大図である。図6Cは、図4の6C線で囲われた部位の拡大図である。
図1Bの7線で囲われた部位の拡大図である。
【発明を実施するための形態】
【0010】
<実施例>
添付図に基づいて実施例を説明する。また、図中Frは前、Rrは後、Leは左、Riは右、Upは上、Dnは下を示している。
(【0011】以降は省略されています)
この特許をJ-PlatPat(特許庁公式サイト)で参照する
関連特許
森六株式会社
樹脂成形品
1か月前
森六株式会社
車両用蓋構造
3か月前
森六株式会社
空調用吹出装置
1か月前
森六株式会社
空調用吹出装置
2か月前
森六株式会社
樹脂成形品の製造方法、樹脂成形型、及び、樹脂成形品
1か月前
森六株式会社
箔押し印刷型、印刷装置、及び、車両用内装部品
6日前
個人
タイヤレバー
4か月前
個人
前輪キャスター
3か月前
個人
上部一体型自動車
2か月前
個人
空間形成装置
1か月前
個人
タイヤ脱落防止構造
3か月前
個人
ルーフ付きトライク
4か月前
日本精機株式会社
表示装置
3か月前
日本精機株式会社
表示装置
4か月前
日本精機株式会社
照明装置
1か月前
個人
マスタシリンダ
2か月前
個人
車両通過構造物
4か月前
日本精機株式会社
表示装置
4か月前
日本精機株式会社
表示装置
4か月前
個人
常設収納型サンバイザー
1か月前
株式会社ニフコ
照明装置
3か月前
日本精機株式会社
車載表示装置
1か月前
株式会社豊田自動織機
産業車両
4か月前
個人
回転窓ワイパー装置
1か月前
日本精機株式会社
車載表示装置
1か月前
個人
音声ガイド、音声サービス
4か月前
日本精機株式会社
車載表示装置
2か月前
日本精機株式会社
画像投映装置
2か月前
株式会社ニフコ
収納装置
3か月前
日本精機株式会社
車室演出装置
3か月前
日本精機株式会社
車載表示装置
1か月前
株式会社豊田自動織機
産業車両
1か月前
日本精機株式会社
車両用表示装置
1日前
極東開発工業株式会社
車両
4か月前
日本無線株式会社
取付金具
4か月前
日本精機株式会社
車両用表示装置
4か月前
続きを見る
他の特許を見る