TOP
|
特許
|
意匠
|
商標
特許ウォッチ
Twitter
他の特許を見る
公開番号
2025176617
公報種別
公開特許公報(A)
公開日
2025-12-04
出願番号
2024082895
出願日
2024-05-21
発明の名称
情報処理装置、方法、プログラム
出願人
キヤノン株式会社
代理人
弁理士法人大塚国際特許事務所
主分類
G06F
3/12 20060101AFI20251127BHJP(計算;計数)
要約
【課題】測色処理の再開において利便性を向上させる情報処理装置を提供する。
【解決手段】情報処理装置は、測色対象に対する測色を行うよう測色器を制御し、前記測色器の測色結果を保存する測色器制御手段と、前記複数のサーバそれぞれに対応する表示制御手段であり、前記測色器制御手段により保存された前記測色器の測色結果を表示するよう制御する表示制御手段とを備える。複数のサーバのうちの第1サーバに対応する測色を行う場合、前記第1サーバに対応する前記表示制御手段により前記測色器の測色結果の表示が行われ、前記第1サーバに対応する測色から第2サーバに対応する測色に切り替わる場合、前記測色器制御手段は、前記第1サーバに対応する測色が中断されているのであれば、該中断までに行われた前記測色器の測色結果を保存する。
【選択図】図11
特許請求の範囲
【請求項1】
複数のサーバと通信可能な情報処理装置であって、
測色対象に対する測色を行うよう測色器を制御し、前記測色器の測色結果を保存する測色器制御手段と、
前記複数のサーバそれぞれに対応する表示制御手段であり、前記測色器制御手段により保存された前記測色器の測色結果を表示するよう制御する表示制御手段と、
を備え、
前記複数のサーバのうちの第1サーバに対応する測色を行う場合、前記第1サーバに対応する前記表示制御手段により前記測色器の測色結果の表示が行われ、
前記第1サーバに対応する測色から第2サーバに対応する測色に切り替わる場合、前記測色器制御手段は、前記第1サーバに対応する測色が中断されているのであれば、該中断までに行われた前記測色器の測色結果を保存する、
ことを特徴とする情報処理装置。
続きを表示(約 1,100 文字)
【請求項2】
前記第1サーバに対応する測色から前記第2サーバに対応する測色に切り替わった後、前記第1サーバに対応する測色に切り替わった場合、前記第1サーバに対応する表示制御手段は、前記中断までに行われた前記測色器の測色結果を表示するよう制御することを特徴とする請求項1に記載の情報処理装置。
【請求項3】
前記第1サーバに対応する測色から前記第2サーバに対応する測色に切り替わった後、前記第1サーバに対応する測色に切り替わった場合、前記第1サーバに対応する表示制御手段は、前記中断までに行われた前記測色器の測色結果の表示を行うか否かの指示を受付可能な画面を表示するよう制御することを特徴とする請求項2に記載の情報処理装置。
【請求項4】
前記第1サーバに対応する表示制御手段は、前記中断までに行われた前記測色器の測色結果の表示を行う指示を受け付けた場合、前記中断までに行われた前記測色器の測色結果を表示することを特徴とする請求項3に記載の情報処理装置。
【請求項5】
前記第1サーバに対応する表示制御手段は、前記情報処理装置が所定の状態にある場合に、前記中断までに行われた前記測色器の測色結果の表示を行うか否かの指示を受付可能な画面を表示するよう制御することを特徴とする請求項3に記載の情報処理装置。
【請求項6】
前記所定の状態とは、前記測色器が前記情報処理装置に接続されていることを含むことを特徴とする請求項5に記載の情報処理装置。
【請求項7】
前記中断までに行われた前記測色器の測色結果が表示された後、前記測色器制御手段は、前記第1サーバに対応する以降の測色を行うよう前記測色器を制御することを特徴とする請求項2に記載の情報処理装置。
【請求項8】
前記第1サーバに対応する測色から第2サーバに対応する測色に切り替わる場合、前記第1サーバに対応する表示制御手段は、前記中断されたことを示す画面を表示するよう制御することを特徴とする請求項1に記載の情報処理装置。
【請求項9】
前記測色器制御手段は、前記測色器の測色結果を保存してから所定の時間が経過した場合、当該測色結果を削除することを特徴とする請求項1に記載の情報処理装置。
【請求項10】
前記第1サーバと前記情報処理装置との間の接続が切断された場合、前記測色器制御手段は、前記第1サーバに対応する測色が中断されているのであれば、該中断までに行われた前記測色器の測色結果を保存することを特徴とする請求項1に記載の情報処理装置。
(【請求項11】以降は省略されています)
発明の詳細な説明
【技術分野】
【0001】
本発明は、色検証サーバと通信可能な情報処理装置、情報処理装置における方法およびプログラムに関する。
続きを表示(約 1,900 文字)
【背景技術】
【0002】
商業印刷分野において、情報処理装置上のウェブブラウザを用いて、画像形成装置の色品質を定期的に検証する色検証プロセスを実施する色検証システムが知られている(特許文献1)。そのような色検証システムにおいて、サーバ側では、色検証アプリケーションが動作する。そして、ネットワークを介して接続されたウェブブラウザ側では、クライアントとして、色検証アプリケーションとの通信を行う。
【先行技術文献】
【特許文献】
【0003】
特開2023-102149号公報
【発明の概要】
【発明が解決しようとする課題】
【0004】
色検証システムの構成によっては、測色器の接続を複数の色検証サーバ間で切り替えることが想定される。そのような切替えに伴い、測色処理の中断が生じ得るが、測色処理を再開する際には測色装置の再初期化を行う必要があり、利便性を低下させる要因となってしまう。
【0005】
本発明は、測色処理の再開において利便性を向上させる情報処理装置、方法、プログラムを提供することを目的とする。
【課題を解決するための手段】
【0006】
上記課題を解決するため、本発明に係る情報処理装置は、複数のサーバと通信可能な情報処理装置であって、測色対象に対する測色を行うよう測色器を制御し、前記測色器の測色結果を保存する測色器制御手段と、前記複数のサーバそれぞれに対応する表示制御手段であり、前記測色器制御手段により保存された前記測色器の測色結果を表示するよう制御する表示制御手段と、を備え、前記複数のサーバのうちの第1サーバに対応する測色を行う場合、前記第1サーバに対応する前記表示制御手段により前記測色器の測色結果の表示が行われ、前記第1サーバに対応する測色から第2サーバに対応する測色に切り替わる場合、前記測色器制御手段は、前記第1サーバに対応する測色が中断されているのであれば、該中断までに行われた前記測色器の測色結果を保存することを特徴とする。
【発明の効果】
【0007】
本発明によれば、測色処理の再開において利便性を向上させることができる。
【図面の簡単な説明】
【0008】
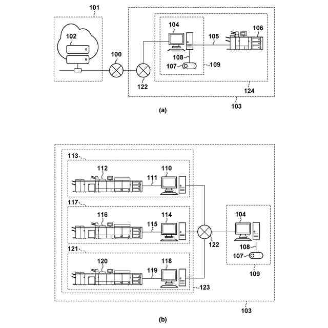
色検証システム構成を示す図である。
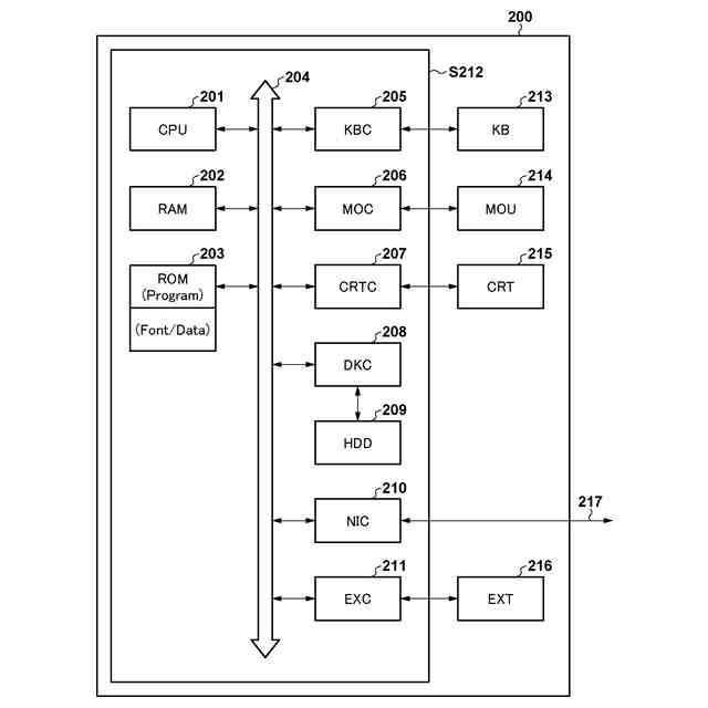
情報処理装置の構成を示すブロック図である。
色検証システムの機能ブロック構成を示す図である。
ウェブページの構成を示す図である。
測色設定画面を示す図である。
測色実行画面を示す図である。
測色実行画面を示す図である。
色検証結果を示す画面を示す図である。
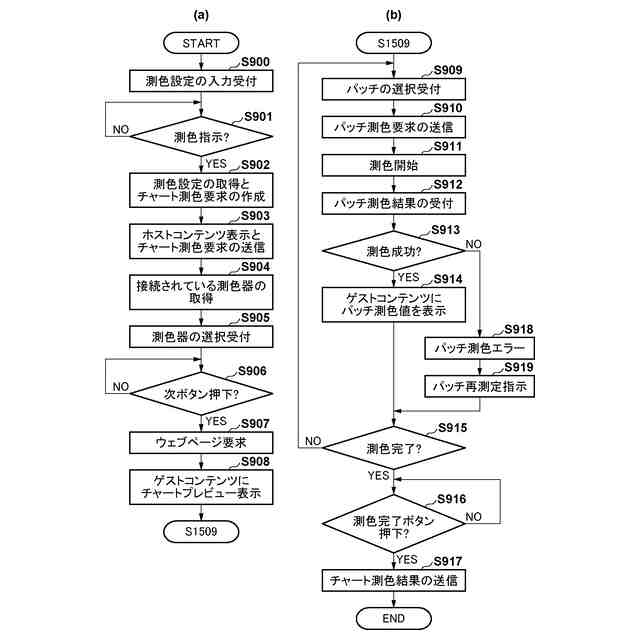
測色処理の流れを説明するためのフローチャートである。
測色処理のシーケンスを示す図である。
測色処理のシーケンスを示す図である。
メッセージ画面を示す図である。
測色処理の流れを説明するためのフローチャートである。
【発明を実施するための形態】
【0009】
以下、添付図面を参照して実施形態を詳しく説明する。なお、以下の実施形態は特許請求の範囲に係る発明を限定するものではない。実施形態には複数の特徴が記載されているが、これらの複数の特徴の全てが発明に必須のものとは限らず、また、複数の特徴は任意に組み合わせられてもよい。さらに、添付図面においては、同一若しくは同様の構成に同一の参照番号を付し、重複した説明は省略する。
【0010】
図1(b)は、本実施形態における色検証システム構成の一例を示す図である。図1(a)については後述する。商業印刷においては、ロール紙への印刷や、A1サイズ用紙への印刷を行うような大型の画像形成装置も存在する。図1(b)はそのような構成の一例を示し、画像形成装置と、画像形成装置の管理と制御を行うデジタルフロントエンドとを含む構成例である。図1(b)の構成では、例えばシステム113と、クライアント装置104とは物理的に離れた場所にあり、色検証アプリケーションは、システム113のデジタルフロントエンド110にて実行される。そして、図1(b)に示すような、画像形成装置およびデジタルフロントエンドのサーバを複数台運用するようなユーザ環境では、ウェブサーバが複数存在し、それぞれが独立した環境であり、並行しての利用が想定される。
(【0011】以降は省略されています)
この特許をJ-PlatPat(特許庁公式サイト)で参照する
関連特許
キヤノン株式会社
撮像装置
3日前
キヤノン株式会社
電子機器
3日前
キヤノン株式会社
記録装置
4日前
キヤノン株式会社
表示装置
3日前
キヤノン株式会社
撮像装置
3日前
キヤノン株式会社
撮像装置
3日前
キヤノン株式会社
二次電池
5日前
キヤノン株式会社
撮像装置
3日前
キヤノン株式会社
撮像装置
3日前
キヤノン株式会社
記録装置
4日前
キヤノン株式会社
インク容器
4日前
キヤノン株式会社
画像形成装置
3日前
キヤノン株式会社
画像形成装置
3日前
キヤノン株式会社
情報処理装置
3日前
キヤノン株式会社
画像記録装置
5日前
キヤノン株式会社
画像形成装置
5日前
キヤノン株式会社
映像表示装置
4日前
キヤノン株式会社
測距装置及び測距方法
3日前
キヤノン株式会社
レンズ装置及び撮像装置
4日前
キヤノン株式会社
ズームレンズ及び撮像装置
5日前
キヤノン株式会社
表示光学系および表示装置
3日前
キヤノン株式会社
表示光学系および表示装置
3日前
キヤノン株式会社
レンズ装置および撮像装置
4日前
キヤノン株式会社
画像形成装置および制御方法
3日前
キヤノン株式会社
導光素子および画像表示装置
4日前
キヤノン株式会社
電子機器およびその制御方法
5日前
キヤノン株式会社
情報処理装置、情報処理方法
3日前
キヤノン株式会社
有機発光素子及びその製造方法
3日前
キヤノン株式会社
走査光学装置及び画像形成装置
4日前
キヤノン株式会社
情報処理装置、方法、プログラム
4日前
キヤノン株式会社
眼科装置及び眼科装置の制御方法
3日前
キヤノン株式会社
光電変換装置及び光電変換システム
3日前
キヤノン株式会社
契約管理システム及び契約管理方法
5日前
キヤノン株式会社
保持装置、露光装置、及び、計測装置
4日前
キヤノン株式会社
情報処理装置、方法、及びプログラム
5日前
キヤノン株式会社
撮像装置、その制御方法及びプログラム
4日前
続きを見る
他の特許を見る