TOP
|
特許
|
意匠
|
商標
特許ウォッチ
Twitter
他の特許を見る
10個以上の画像は省略されています。
公開番号
2025177611
公報種別
公開特許公報(A)
公開日
2025-12-05
出願番号
2024084613
出願日
2024-05-24
発明の名称
光電変換装置及び光電変換システム
出願人
キヤノン株式会社
代理人
個人
,
個人
,
個人
主分類
H04N
25/70 20230101AFI20251128BHJP(電気通信技術)
要約
【課題】チップ面積の小面積化や低消費電力化を実現しうる光電変換装置及び光電変換システムを提供する。
【解決手段】光電変換装置は、光電変換部と、光電変換部で生成された電荷に基づく信号を出力する出力部と、を有し、出力部に第1電源電圧が供給される画素と、画素に接続された信号出力線と、信号出力線に接続され、画素の出力信号を、電圧が小さくなる方向にレベルシフトして出力するレベルシフト回路と、レベルシフト回路に接続され、レベルシフト回路の出力信号に対して所定の信号処理を行う信号処理回路と、を有し、信号処理回路に供給される第2電源電圧が、第1電源電圧よりも小さい。
【選択図】図3
特許請求の範囲
【請求項1】
光電変換部と、前記光電変換部で生成された電荷に基づく信号を出力する出力部と、を有し、前記出力部に第1電源電圧が供給される画素と、
前記画素に接続された信号出力線と、
前記信号出力線に接続され、前記画素の出力信号を、電圧が小さくなる方向にレベルシフトして出力するレベルシフト回路と、
前記レベルシフト回路に接続され、前記レベルシフト回路の出力信号に対して所定の信号処理を行う信号処理回路と、を有し、
前記信号処理回路に供給される第2電源電圧は、前記第1電源電圧よりも小さい
ことを特徴とする光電変換装置。
続きを表示(約 890 文字)
【請求項2】
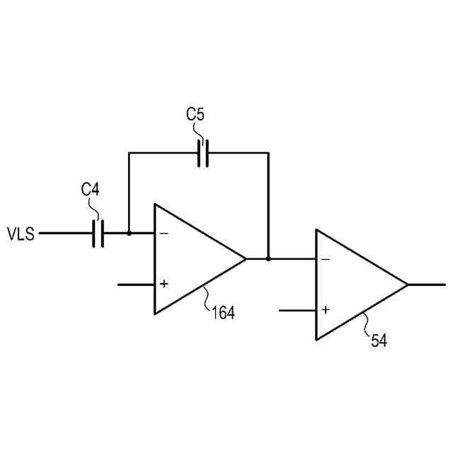
前記信号処理回路は、前記レベルシフト回路の前記出力信号が入力される比較回路を更に有する
ことを特徴とする請求項1記載の光電変換装置。
【請求項3】
光電変換部と、前記光電変換部で生成された電荷に基づく信号を出力する出力部と、を有する画素と、
前記画素に接続された信号出力線と、
前記信号出力線に接続され、前記画素の出力信号を、電圧が小さくなる方向にレベルシフトして出力するレベルシフト回路と、
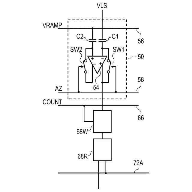
前記レベルシフト回路に接続され、前記レベルシフト回路の出力信号が入力される容量素子を有する信号処理回路と
を有することを特徴とする光電変換装置。
【請求項4】
前記信号処理回路に供給される第2電源電圧は、前記出力部に供給される第1電源電圧よりも小さい
ことを特徴とする請求項3記載の光電変換装置。
【請求項5】
前記信号処理回路は、前記レベルシフト回路の前記出力信号が前記容量素子を介して入力される比較回路を更に有する
ことを特徴とする請求項3記載の光電変換装置。
【請求項6】
前記信号処理回路は、前記容量素子を含むサンプルホールド回路を有する
ことを特徴とする請求項3記載の光電変換装置。
【請求項7】
前記信号処理回路は、前記容量素子を含むゲインアンプを有する
ことを特徴とする請求項3記載の光電変換装置。
【請求項8】
前記信号処理回路は、前記容量素子を含むスイッチトキャパシタ回路を有する
ことを特徴とする請求項3記載の光電変換装置。
【請求項9】
前記信号処理回路は、オーバーサンプリング型のアナログ・デジタル変換回路を有する
ことを特徴とする請求項3記載の光電変換装置。
【請求項10】
前記レベルシフト回路は、前記信号処理回路に電流を供給する
ことを特徴とする請求項3記載の光電変換装置。
(【請求項11】以降は省略されています)
発明の詳細な説明
【技術分野】
【0001】
本発明は、光電変換装置及び光電変換システムに関する。
続きを表示(約 2,100 文字)
【背景技術】
【0002】
CMOSイメージセンサなどの光電変換装置において、画素アレイの各列から出力される画素信号に対しては、当該各列に対応して設けられた列回路において所定の増幅処理やアナログ・デジタル変換処理などの信号処理が実施される。特許文献1には、アナログ・デジタル変換回路や増幅回路を含む列回路を有する固体撮像素子が記載されている。
【先行技術文献】
【特許文献】
【0003】
特開2019-030002号公報
【発明の概要】
【発明が解決しようとする課題】
【0004】
画素アレイの規模の増大に伴い、列回路を含む周辺回路の回路規模も増大している。そのため、光電変換装置のチップ面積の縮小や消費電力の低減の観点から、列回路についても小面積化や低消費電力化が求められている。
【0005】
本発明の目的は、チップ面積の小面積化や低消費電力化を実現しうる光電変換装置及び光電変換システムを提供することにある。
【課題を解決するための手段】
【0006】
本明細書の一開示によれば、光電変換部と、前記光電変換部で生成された電荷に基づく信号を出力する出力部と、を有し、前記出力部に第1電源電圧が供給される画素と、前記画素に接続された信号出力線と、前記信号出力線に接続され、前記画素の出力信号を、電圧が小さくなる方向にレベルシフトして出力するレベルシフト回路と、前記レベルシフト回路に接続され、前記レベルシフト回路の出力信号に対して所定の信号処理を行う信号処理回路と、を有し、前記信号処理回路に供給される第2電源電圧は、前記第1電源電圧よりも小さい光電変換装置が提供される。
【0007】
また、本明細書の他の一開示によれば、光電変換部と、前記光電変換部で生成された電荷に基づく信号を出力する出力部と、を有する画素と、前記画素に接続された信号出力線と、前記信号出力線に接続され、前記画素の出力信号を、電圧が小さくなる方向にレベルシフトして出力するレベルシフト回路と、前記レベルシフト回路に接続され、前記レベルシフト回路の出力信号が入力される容量素子を有する信号処理回路とを有する光電変換装置が提供される。
【発明の効果】
【0008】
本発明によれば、光電変換装置の小面積化や低消費電力化を実現することができる。
【図面の簡単な説明】
【0009】
第1実施形態による光電変換装置の概略構成を示すブロック図である。
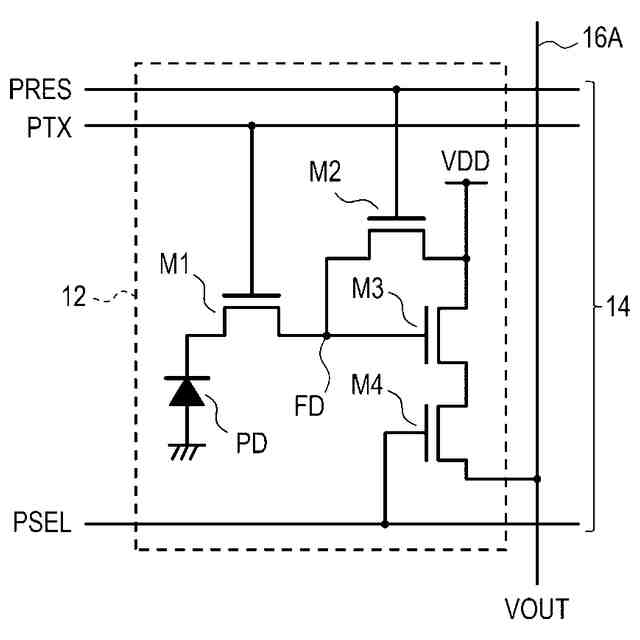
第1実施形態による光電変換装置における画素の構成例を示す回路図である。
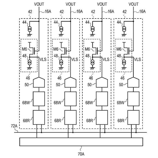
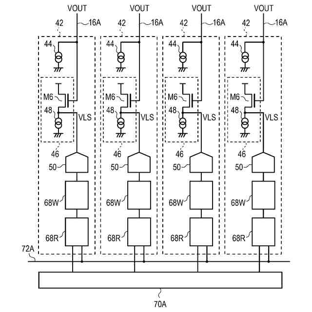
第1実施形態による光電変換装置における列回路の構成例を示す回路図である。
第1実施形態による光電変換装置におけるAD変換回路の構成例を示す回路図である。
第1実施形態による光電変換装置の構成例を示す模式図である。
第1実施形態による光電変換装置の動作を示すタイミング図である。
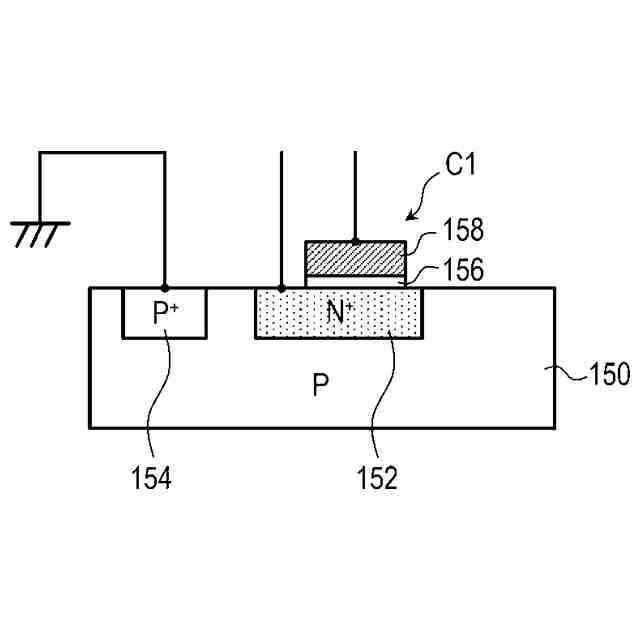
容量素子の構造を示す概略断面図である。
第1実施形態による光電変換装置における列回路の他の構成例を示す回路図(その1)である。
第1実施形態による光電変換装置における列回路の他の構成例を示す回路図(その2)である。
第1実施形態による光電変換装置における列回路の他の構成例を示す回路図(その3)である。
第1実施形態による光電変換装置における列回路の他の構成例を示す回路図(その4)である。
第2実施形態による光電変換装置におけるレベルシフト回路の構成例を示す回路図である。
第3実施形態による光電変換装置におけるレベルシフト回路の構成例を示す回路図である。
第4実施形態による光電変換装置におけるレベルシフト回路の構成例を示す回路図である。
第5実施形態による光電変換装置における電流源及びレベルシフト回路の構成例を示す回路図である。
第6実施形態による光電変換装置におけるレベルシフト回路の構成例を示す回路図である。
第6実施形態による光電変換装置における電流源及びレベルシフト回路の他の構成例を示す回路図である。
第7実施形態による光電変換システムの概略構成を示すブロック図である。
第8実施形態による光電変換システム及び移動体の構成例を示す図である。
第9実施形態による機器の概略構成を示すブロック図である。
【発明を実施するための形態】
【0010】
以下、図面を用いて本発明に係る実施形態を説明する。以下に述べる各実施形態では、光電変換装置の一例として、撮像用途の装置を中心に説明する。ただし、各実施形態は、この撮像用途の装置に限られるものではなく、光電変換装置として含まれる他の例にも適用可能である。例えば、測距装置(焦点検出やTOF(Time Of Flight)を用いた距離測定等の装置)、測光装置(入射光量の測定等の装置)などがある。
(【0011】以降は省略されています)
この特許をJ-PlatPat(特許庁公式サイト)で参照する
関連特許
キヤノン株式会社
容器
1か月前
キヤノン株式会社
トナー
1か月前
キヤノン株式会社
二次電池
5日前
キヤノン株式会社
記録装置
24日前
キヤノン株式会社
撮像装置
3日前
キヤノン株式会社
定着装置
24日前
キヤノン株式会社
撮像装置
10日前
キヤノン株式会社
表示装置
10日前
キヤノン株式会社
撮像装置
1か月前
キヤノン株式会社
撮像装置
1か月前
キヤノン株式会社
定着装置
24日前
キヤノン株式会社
撮像装置
3日前
キヤノン株式会社
撮像装置
3日前
キヤノン株式会社
撮像装置
3日前
キヤノン株式会社
記録装置
1か月前
キヤノン株式会社
記録装置
4日前
キヤノン株式会社
表示装置
3日前
キヤノン株式会社
記録装置
4日前
キヤノン株式会社
電子機器
1か月前
キヤノン株式会社
記録装置
1か月前
キヤノン株式会社
発光装置
10日前
キヤノン株式会社
定着装置
24日前
キヤノン株式会社
電子機器
1か月前
キヤノン株式会社
撮像装置
26日前
キヤノン株式会社
電子機器
26日前
キヤノン株式会社
撮像装置
12日前
キヤノン株式会社
雲台装置
1か月前
キヤノン株式会社
撮像装置
3日前
キヤノン株式会社
表示装置
10日前
キヤノン株式会社
撮像装置
10日前
キヤノン株式会社
測距装置
1か月前
キヤノン株式会社
電子機器
3日前
キヤノン株式会社
撮像装置
18日前
キヤノン株式会社
撮像装置
1か月前
キヤノン株式会社
撮像装置
18日前
キヤノン株式会社
定着装置
18日前
続きを見る
他の特許を見る