TOP
|
特許
|
意匠
|
商標
特許ウォッチ
Twitter
他の特許を見る
10個以上の画像は省略されています。
公開番号
2025176620
公報種別
公開特許公報(A)
公開日
2025-12-04
出願番号
2024082899
出願日
2024-05-21
発明の名称
保持装置、露光装置、及び、計測装置
出願人
キヤノン株式会社
代理人
個人
,
個人
,
個人
,
個人
,
個人
主分類
G03F
7/20 20060101AFI20251127BHJP(写真;映画;光波以外の波を使用する類似技術;電子写真;ホログラフイ)
要約
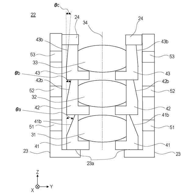
【課題】 光学素子の位置を調整可能な保持装置を提供する。
【解決手段】 第1光学素子を保持する第1保持部と、前記第1保持部に重ねられた、第2光学素子を保持する第2保持部と、前記第1保持部と前記第2保持部とを収納し、前記第1保持部を支持する支持面を含む鏡筒と、を備え、前記第1保持部は、前記鏡筒と対向する位置に、前記第1光学素子の光軸に対して傾いている第1斜面を有し、前記第2保持部は、前記鏡筒と対向する位置に、前記第2光学素子の光軸に対して傾いている第2斜面を有し、前記鏡筒には、前記第1斜面と対応する位置にあり、前記第1光学素子の光軸に直交する第1方向に沿った第1貫通孔と、前記第2斜面と対応する位置にあり、前記第2光学素子の光軸に直交する第2方向に沿った第2貫通孔と、が設けられている。
【選択図】 図2
特許請求の範囲
【請求項1】
第1光学素子を保持する第1保持部と、
前記第1保持部に重ねられた、第2光学素子を保持する第2保持部と、
前記第1保持部と前記第2保持部とを収納し、前記第1保持部を支持する支持面を含む鏡筒と、を備え、
前記第1保持部は、前記鏡筒と対向する位置に、前記第1光学素子の光軸に対して傾いている第1斜面を有し、
前記第2保持部は、前記鏡筒と対向する位置に、前記第2光学素子の光軸に対して傾いている第2斜面を有し、
前記鏡筒には、
前記第1斜面と対応する位置にあり、前記第1光学素子の光軸に直交する第1方向に沿った第1貫通孔と、
前記第2斜面と対応する位置にあり、前記第2光学素子の光軸に直交する第2方向に沿った第2貫通孔と、
が設けられていることを特徴とする保持装置。
続きを表示(約 830 文字)
【請求項2】
前記第1斜面の前記第1光学素子の光軸に対して傾いている角度と、前記第2斜面の前記第2光学素子の光軸に対して傾いている角度は互いに異なる、ことを特徴とする請求項1に記載の保持装置。
【請求項3】
前記第1斜面の前記第1光学素子の光軸に対して傾いている角度は、前記第2斜面の前記第2光学素子の光軸に対して傾いている角度より大きい、ことを特徴とする請求項2に記載の保持装置。
【請求項4】
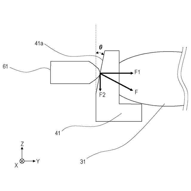
前記第1斜面は、前記第1方向における前記第1光学素子の位置を調整するために力を加えられる面であり、
前記第2斜面は、前記第2方向における前記第2光学素子の位置を調整するために力を加えられる面である、
ことを特徴とする請求項1に記載の保持装置。
【請求項5】
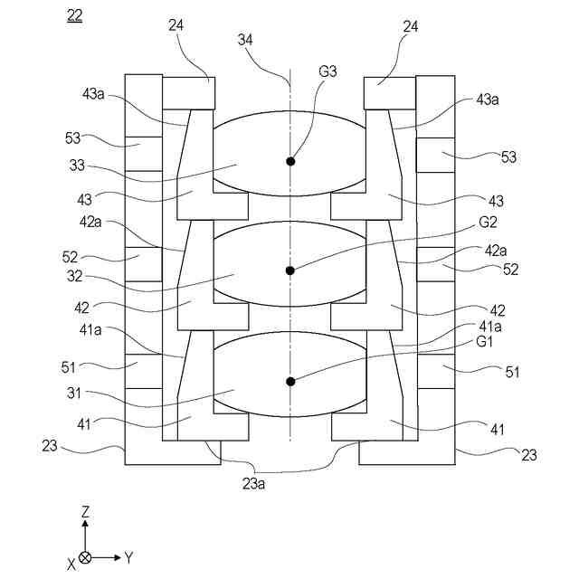
前記第1斜面は、前記支持面から離れるほど前記第1光学素子の光軸との間の距離が近く、
前記第2斜面は、前記支持面から離れるほど前記第2光学素子の光軸との間の距離が近い、ことを特徴とする請求項1に記載の保持装置。
【請求項6】
前記第1保持部と前記第2保持部は接触している、ことを特徴とする請求項1に記載の保持装置。
【請求項7】
前記第1保持部の全周に前記第1斜面が設けられている、ことを特徴とする請求項1に記載の保持装置。
【請求項8】
前記第1保持部の全周のうちの一部に前記第1斜面が設けられている、ことを特徴とする請求項1に記載の保持装置。
【請求項9】
前記第1斜面は前記第1保持部の重心に対応した位置に設けられている、ことを特徴とする請求項1に記載の保持装置。
【請求項10】
前記第1斜面と前記第2斜面の少なくとも一方はV形状の溝の一部である、ことを特徴とする請求項1に記載の保持装置。
(【請求項11】以降は省略されています)
発明の詳細な説明
【技術分野】
【0001】
本発明は、保持装置、露光装置、及び、計測装置に関する。
続きを表示(約 1,600 文字)
【背景技術】
【0002】
半導体デバイスや液晶表示デバイスなどの製造工程において、対物レンズが用いられることがある。この対物レンズは、例えば、光源からの光を物体に投影する投影光学系や、物体の位置を計測する計測光学系に含まれている。対物レンズに含まれるレンズの位置は、レンズの光軸に平行な方向に加えてこの光軸に直交する方向について高精度に調整された状態であることが好ましい。
【0003】
特許文献1には、レンズを保持する保持部のレンズの光軸に平行な面に、工具によってレンズの光軸に直交する方向から力を加えることでレンズを移動させることにより、レンズの光軸に直交する方向におけるレンズの位置を調整する方法が開示されている。
【先行技術文献】
【特許文献】
【0004】
特開2004-219608号公報
【発明の概要】
【発明が解決しようとする課題】
【0005】
特許文献1のように工具によりレンズ等の光学素子を保持する保持部に力を加えると、保持部の浮き上がりや傾きが生じることがある。このように保持部の意図せぬ位置変化が生じると、光学素子の位置を調整することができない。
【0006】
そこで、本発明は、光学素子の位置を調整可能な保持装置を提供することを目的とする。
【課題を解決するための手段】
【0007】
上記目的を達成するために、本発明の一側面としての保持装置は、第1光学素子を保持する第1保持部と、前記第1保持部に重ねられた、第2光学素子を保持する第2保持部と、前記第1保持部と前記第2保持部とを収納し、前記第1保持部を支持する支持面を含む鏡筒と、を備え、前記第1保持部は、前記鏡筒と対向する位置に、前記第1光学素子の光軸に対して傾いている第1斜面を有し、前記第2保持部は、前記鏡筒と対向する位置に、前記第2光学素子の光軸に対して傾いている第2斜面を有し、前記鏡筒には、前記第1斜面と対応する位置にあり、前記第1光学素子の光軸に直交する第1方向に沿った第1貫通孔と、前記第2斜面と対応する位置にあり、前記第2光学素子の光軸に直交する第2方向に沿った第2貫通孔と、が設けられていることを特徴とする。
【0008】
本発明の更なる目的又はその他の側面は、以下、図面を参照して説明される実施形態によって明らかにされるであろう。
【発明の効果】
【0009】
本発明によれば、光学素子の位置を調整可能な保持装置を提供することができる。
【図面の簡単な説明】
【0010】
第1実施形態における基板処理装置の構成を示す概略図である。
第1実施形態における、検出部に含まれる対物レンズの断面図である。
第1実施形態における対物レンズの組み立ての例を示す図である。
第1調整部により第1保持部に力を加えるときの模式図である。
第1実施形態における、対物レンズの製造方法のフローチャートである。
第1保持部の+Z方向側から第1保持部を見た平面図である。
第1実施形態の検出部を示す図である。
第1実施形態における計測装置の構成を示す概略図である。
第2実施形態における、検出部に含まれる対物レンズの断面図である。
第3実施形態における、検出部に含まれる対物レンズの断面図である。
第4実施形態における、検出部に含まれる対物レンズの断面図である。
物品の製造方法のフローチャートを示す図である。
従来の検出部に含まれる対物レンズの断面図である。
従来の対物レンズの組み立ての例を示す図である。
【発明を実施するための形態】
(【0011】以降は省略されています)
この特許をJ-PlatPat(特許庁公式サイト)で参照する
関連特許
キヤノン株式会社
容器
1か月前
キヤノン株式会社
容器
1か月前
キヤノン株式会社
トナー
1か月前
キヤノン株式会社
トナー
1か月前
キヤノン株式会社
トナー
2か月前
キヤノン株式会社
トナー
2か月前
キヤノン株式会社
トナー
2か月前
キヤノン株式会社
記録装置
1か月前
キヤノン株式会社
撮像装置
18日前
キヤノン株式会社
定着装置
2か月前
キヤノン株式会社
表示装置
1か月前
キヤノン株式会社
撮像装置
3日前
キヤノン株式会社
記録装置
1か月前
キヤノン株式会社
記録装置
24日前
キヤノン株式会社
電子機器
1か月前
キヤノン株式会社
撮像装置
1か月前
キヤノン株式会社
定着装置
24日前
キヤノン株式会社
現像装置
1か月前
キヤノン株式会社
撮影装置
1か月前
キヤノン株式会社
測距装置
1か月前
キヤノン株式会社
記録装置
4日前
キヤノン株式会社
撮像装置
3日前
キヤノン株式会社
撮像装置
3日前
キヤノン株式会社
電子機器
1か月前
キヤノン株式会社
記録装置
4日前
キヤノン株式会社
測距装置
1か月前
キヤノン株式会社
雲台装置
1か月前
キヤノン株式会社
記録装置
1か月前
キヤノン株式会社
現像容器
1か月前
キヤノン株式会社
撮像装置
26日前
キヤノン株式会社
定着装置
18日前
キヤノン株式会社
撮像装置
1か月前
キヤノン株式会社
撮像装置
12日前
キヤノン株式会社
二次電池
5日前
キヤノン株式会社
電子機器
26日前
キヤノン株式会社
撮像装置
18日前
続きを見る
他の特許を見る