TOP
|
特許
|
意匠
|
商標
特許ウォッチ
Twitter
他の特許を見る
公開番号
2025176592
公報種別
公開特許公報(A)
公開日
2025-12-04
出願番号
2024082854
出願日
2024-05-21
発明の名称
走査光学装置及び画像形成装置
出願人
キヤノン株式会社
代理人
個人
,
個人
主分類
G03G
15/043 20060101AFI20251127BHJP(写真;映画;光波以外の波を使用する類似技術;電子写真;ホログラフイ)
要約
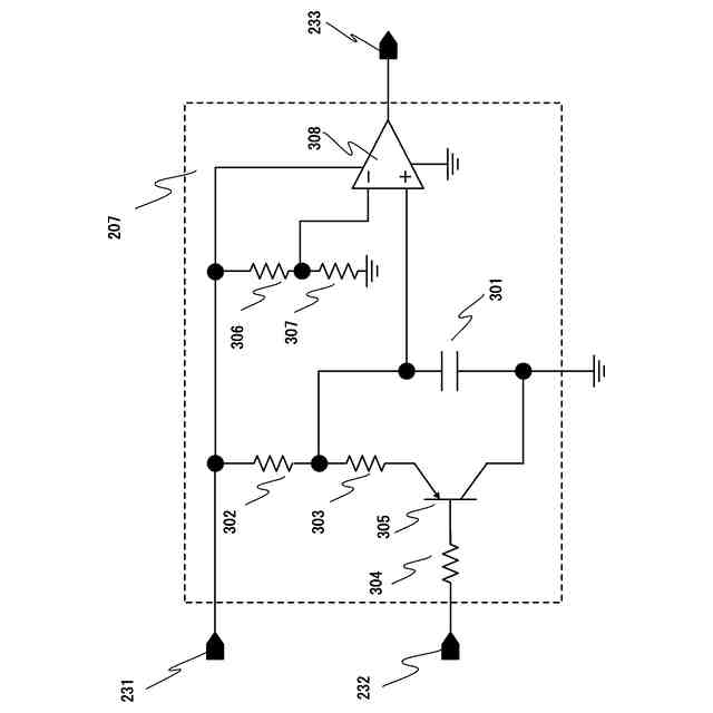
【課題】レーザ発光時に異常が発生した際に、ファームウエア動作に異常があった場合でもレーザ走査装置の安全回路を確実に動作させること。
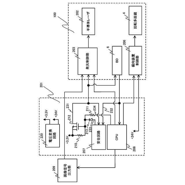
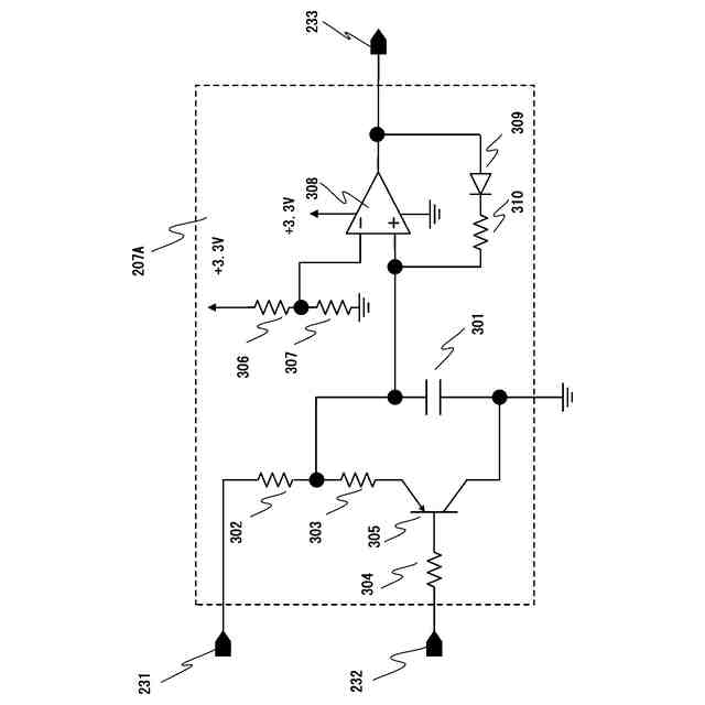
【解決手段】BD6から同期信号232が入力され、回路の時定数に応じた所定時間が経過すると出力電圧233が変化する安全回路207であって、出力電圧233がロードSW212に接続された安全回路207を備え、安全回路207は、CPU208の出力電圧234によってロードSW212がオン状態に切り替わってから、BD6から同期信号232が所定時間入力されない場合に出力電圧233が変化し、CPU208の出力電圧234の状態によらずロードSW212をオフ状態に切り替える。
【選択図】図3
特許請求の範囲
【請求項1】
レーザ素子と、
前記レーザ素子から出射された光を偏向する偏向器と、
前記偏向器により偏向走査された光を受光し同期信号を出力する出力手段と、
前記レーザ素子へ電流を供給する供給路上に設けられ、前記レーザ素子へ電流を供給するオン状態と、前記レーザ素子への電流の供給を遮断するオフ状態と、に切り替わるスイッチ手段と、
前記スイッチ手段の前記オン状態又は前記オフ状態を制御信号により制御する制御手段と、
を備える走査光学装置であって、
前記出力手段から前記同期信号が入力され、回路の時定数に応じた所定時間が経過すると出力が変化する保護回路であって、前記出力が前記スイッチ手段に接続された保護回路を備え、
前記保護回路は、前記制御手段の前記制御信号によって前記スイッチ手段が前記オン状態に切り替わってから、前記出力手段から前記同期信号が前記所定時間入力されない場合に前記出力が変化し、前記制御手段の前記制御信号の状態によらず前記スイッチ手段を前記オフ状態に切り替えることを特徴とする走査光学装置。
続きを表示(約 1,300 文字)
【請求項2】
前記保護回路は、前記時定数で遷移する状態保持部を有し、
前記スイッチ手段が前記オン状態に切り替わっているときに、
前記出力手段から前記同期信号が入力されていない場合には、前記状態保持部が第1時定数で第1状態に向かって遷移し、
前記出力手段から前記同期信号が入力された場合には、前記状態保持部が前記第1時定数よりも小さい第2時定数で前記第1状態とは異なる第2状態に向かって遷移し、
前記状態保持部は、前記第1時定数で前記第1状態に遷移すると前記スイッチ手段を前記オフ状態に切り替えることを特徴とする請求項1に記載の走査光学装置。
【請求項3】
前記状態保持部は、コンデンサを有し、
前記第1状態は、前記コンデンサが充電されチャージ電圧が上昇し所定電圧を超えた状態であり、
前記第2状態は、前記コンデンサが放電され前記チャージ電圧が下降する状態であることを特徴とする請求項2に記載の走査光学装置。
【請求項4】
前記保護回路は、コンデンサを有し、
前記スイッチ手段が前記オン状態に切り替わっているときに、
前記出力手段から前記同期信号が入力されない場合には、第1時定数で前記コンデンサのチャージ電圧が上昇し、
前記出力手段から前記同期信号が入力された場合には、前記第1時定数よりも小さい第2時定数で前記コンデンサの前記チャージ電圧が下降し、
前記保護回路は、前記コンデンサの前記チャージ電圧が所定電圧を超えると、前記スイッチ手段を前記オフ状態に切り替えることを特徴とする請求項1に記載の走査光学装置。
【請求項5】
前記第1時定数は、安全規格であるIEC60825-1で規定されているレーザの放出持続時間に基づいて設定されることを特徴とする請求項2から請求項4のうちのいずれか1項に記載の走査光学装置。
【請求項6】
前記保護回路に電源を供給する電源部を備え、
前記保護回路は、前記スイッチ手段を介して前記電源部により電源を供給されることを特徴とする請求項1から請求項4のうちのいずれか1項に記載の走査光学装置。
【請求項7】
前記保護回路は、前記コンデンサの前記チャージ電圧が前記所定電圧を超えて前記スイッチ手段を前記オフ状態に切り替えた場合、電流の供給がなくなるまで前記スイッチ手段の前記オフ状態を維持することを特徴とする請求項4に記載の走査光学装置。
【請求項8】
前記保護回路に電源を供給する電源部を備え、
前記保護回路は、前記スイッチ手段を介さず前記電源部により電源を供給されることを特徴とする請求項7に記載の走査光学装置。
【請求項9】
請求項1から請求項4、請求項7、請求項8のうちのいずれか1項に記載の走査光学装置と、
前記走査光学装置により静電潜像が形成される像担持体と、
前記静電潜像をトナーにより現像しトナー像を形成する現像手段と、
前記トナー像を転写材に転写するための転写手段と、
前記転写手段により転写されたトナー像を定着する定着手段と、
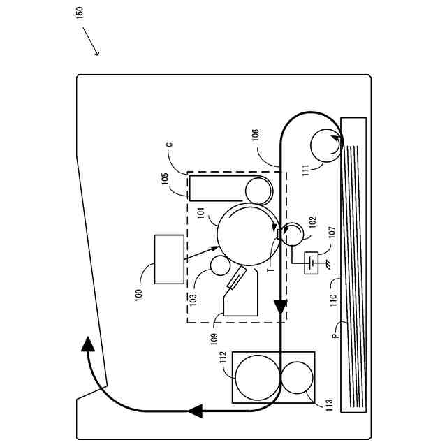
を備えることを特徴とする画像形成装置。
発明の詳細な説明
【技術分野】
【0001】
本発明は、走査光学装置及び画像形成装置に関し、例えば、レーザビームプリンタ等に搭載されるレーザ走査装置に関する。
続きを表示(約 2,600 文字)
【背景技術】
【0002】
レーザを搭載する製品に対しては、製品使用者への障害発生を防止する目的で、IEC(国際電気標準会議)60825-1で、安全基準が規定されている。JIS(日本工業規格)では、IEC60825-1を基にJIS C 6802で、レーザ製品を危険度に応じてクラス分けし(レーザクラス)、クラスごとに必要とする安全対策が規定されている。レーザクラスは、危険度に応じて、クラス1~クラス4に分類されており、クラス4が最も危険とされる。レーザクラスの危険度は、レーザが放出するパワー、レーザの波長、放出持続時間によって決まる。レーザビームプリンタで一般的に使用されるレーザは、クラス3に該当する。さらにクラス3は、危険度が高い順に、クラス3Bとクラス3Rに分類されている。クラス3Bではレーザシャッタ等で構成されるインターロック機構が必要で、クラス3Rではインターロック機構は必要ない。レーザ搭載製品の小型化、低価格化を実現するためには、クラス3R以下でレーザを設計することが重要である。
【0003】
レーザビームプリンタに搭載されるレーザ走査装置は、回転駆動する回転多面鏡によりレーザを走査し、レーザ走査装置外へ光を出射する。レーザから出射されるレーザパワーは同じでも、非走査状態(静止状態)に比べて、走査状態のときは、単位時間、単位面積当たりの被ばく光量は低くなる。すなわち、レーザ光被ばくの観点でいえば、静止光の状態の方が危険と判断される。そのため、レーザが非走査状態のときに発光しなければ比較的容易に、クラス3R要件を満たすことが可能である。そこで、回転多面鏡を回転駆動する駆動装置に回転状態を報知する回転状態出力信号部を設け、回転駆動信号からの回転状態出力状態が正常回転を示している場合のみ、レーザ発光部に電力を供給する方法が提案されている(例えば、特許文献1参照)。
【先行技術文献】
【特許文献】
【0004】
特開2006-088441号公報
【発明の概要】
【発明が解決しようとする課題】
【0005】
しかしながら、従来例で提示されているレーザ走査装置のように、回転多面鏡の回転状態が正常回転数になるまで発光できない構成とした場合、以下のような課題がある。レーザ発光部に電力供給するより前に、回転多面鏡の回転状態を判断するため、FG信号をカウントし、モータの回転状態を判断する回路が必要という課題がある。レーザビームプリンタ等に搭載されるレーザ走査装置には、レーザの発光タイミングの同期を行うための同期信号検出手段が備わっている。レーザが発光している状態であれば、同期信号の検出有無から、レーザが走査光状態か、非走査状態(静止状態)か、を判断することができる。回転多面鏡の回転装置の起動とともにレーザを発光させることができないため、レーザ走査装置の立上げ時間を要するという課題がある。レーザ発光を開始してからレーザの発光光量が所定光量に安定するまでにも時間を要する。レーザ走査装置の起動時間を短縮するためには、回転多面鏡の回転装置の起動とともにレーザ発光を開始する必要がある。
【0006】
また、IEC60825-1で規定されている、クラス3Rのレーザパワー上限値は、放出持続時間毎に規定値が異なる。例えば、レーザビームプリンタ等で用いる、波長790nmのレーザ光の場合は、放出持続時間が100sec(10sec~30000secカテゴリ)、100msec(18usec~10secカテゴリ)で異なるレーザパワーの放出上限値が定められている。仮に、異常時に照射されるレーザパワーが100secカテゴリの上限値を超えたとしても、放出持続時間100sec以内に安全回路が動作してレーザパワーが下限値以下となればよい。そのため、安全回路が動作する時間に適切な遅延時間を設定することが重要となる。一方で、安全回路の動作遅延時間をCPUに組み込まれたファームウエア等で管理する場合、ファームウエア動作に異常があった場合には安全回路が適切に動作しない可能性がある。レーザの安全回路は、ファームウエアを介在させないハードウエアのみで構成する必要がある。
【0007】
本発明は、このような状況のもとでなされたもので、レーザ発光時に異常が発生した際に、ファームウエア動作に異常があった場合でもレーザ走査装置の安全回路を確実に動作させることを目的とする。
【課題を解決するための手段】
【0008】
上述した課題を解決するために、本発明は、以下の構成を備える。
【0009】
(1)レーザ素子と、前記レーザ素子から出射された光を偏向する偏向器と、前記偏向器により偏向走査された光を受光し同期信号を出力する出力手段と、前記レーザ素子へ電流を供給する供給路上に設けられ、前記レーザ素子へ電流を供給するオン状態と、前記レーザ素子への電流の供給を遮断するオフ状態と、に切り替わるスイッチ手段と、前記スイッチ手段の前記オン状態又は前記オフ状態を制御信号により制御する制御手段と、を備える走査光学装置であって、前記出力手段から前記同期信号が入力され、回路の時定数に応じた所定時間が経過すると出力が変化する保護回路であって、前記出力が前記スイッチ手段に接続された保護回路を備え、前記保護回路は、前記制御手段の前記制御信号によって前記スイッチ手段が前記オン状態に切り替わってから、前記出力手段から前記同期信号が前記所定時間入力されない場合に前記出力が変化し、前記制御手段の前記制御信号の状態によらず前記スイッチ手段を前記オフ状態に切り替えることを特徴とする走査光学装置。
【0010】
(2)前記(1)に記載の走査光学装置と、前記走査光学装置により静電潜像が形成される像担持体と、前記静電潜像をトナーにより現像しトナー像を形成する現像手段と、前記トナー像を転写材に転写するための転写手段と、前記転写手段により転写されたトナー像を定着する定着手段と、を備えることを特徴とする画像形成装置。
【発明の効果】
(【0011】以降は省略されています)
この特許をJ-PlatPat(特許庁公式サイト)で参照する
関連特許
キヤノン株式会社
容器
1か月前
キヤノン株式会社
容器
1か月前
キヤノン株式会社
トナー
1か月前
キヤノン株式会社
トナー
1か月前
キヤノン株式会社
記録装置
4日前
キヤノン株式会社
現像装置
1か月前
キヤノン株式会社
撮像装置
10日前
キヤノン株式会社
撮像装置
1か月前
キヤノン株式会社
雲台装置
1か月前
キヤノン株式会社
撮像装置
1か月前
キヤノン株式会社
記録装置
4日前
キヤノン株式会社
電子機器
26日前
キヤノン株式会社
撮像装置
3日前
キヤノン株式会社
撮像装置
3日前
キヤノン株式会社
電子機器
1か月前
キヤノン株式会社
記録装置
1か月前
キヤノン株式会社
電子機器
1か月前
キヤノン株式会社
記録装置
1か月前
キヤノン株式会社
撮像装置
3日前
キヤノン株式会社
定着装置
24日前
キヤノン株式会社
撮像装置
26日前
キヤノン株式会社
二次電池
5日前
キヤノン株式会社
記録装置
24日前
キヤノン株式会社
定着装置
24日前
キヤノン株式会社
定着装置
24日前
キヤノン株式会社
測距装置
1か月前
キヤノン株式会社
発光装置
10日前
キヤノン株式会社
定着装置
18日前
キヤノン株式会社
撮像装置
18日前
キヤノン株式会社
撮像装置
18日前
キヤノン株式会社
定着装置
18日前
キヤノン株式会社
撮像装置
12日前
キヤノン株式会社
表示装置
10日前
キヤノン株式会社
表示装置
10日前
キヤノン株式会社
撮像装置
10日前
キヤノン株式会社
撮像装置
1か月前
続きを見る
他の特許を見る