TOP
|
特許
|
意匠
|
商標
特許ウォッチ
Twitter
他の特許を見る
10個以上の画像は省略されています。
公開番号
2025176318
公報種別
公開特許公報(A)
公開日
2025-12-04
出願番号
2024082361
出願日
2024-05-21
発明の名称
導光素子および画像表示装置
出願人
キヤノン株式会社
代理人
個人
,
個人
,
個人
主分類
G02B
27/02 20060101AFI20251127BHJP(光学)
要約
【課題】 光利用効率を高めた導光素子を提供する。
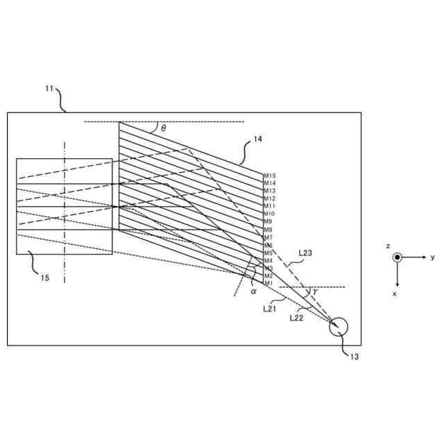
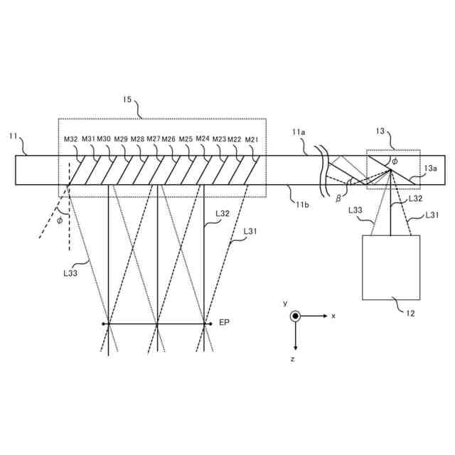
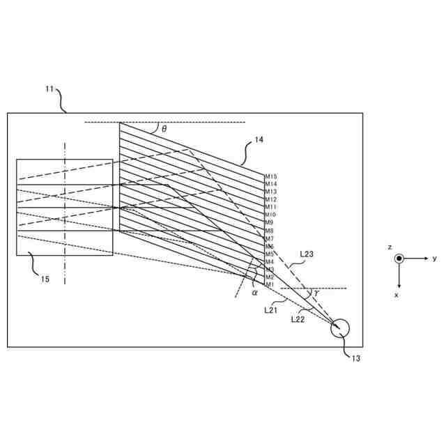
【解決手段】 画像表示素子からの画像光を瞳に導く導光素子(11)であって、画像光が入射する入射部(13)と、瞳(EP)における画像光を第1方向に分離する分離部(14)と、画像光を導光素子から射出する射出部(15)とを有し、分離部は、分光反射率が異なる複数の分離面(M1~M15)を有し、複数の分離面は、2層以上からなる誘電体膜で構成されている。
【選択図】図2
特許請求の範囲
【請求項1】
画像表示素子からの画像光を瞳に導く導光素子であって、
前記画像光が入射する入射部と、
前記瞳における前記画像光を第1方向に分離する分離部と、
前記画像光を前記導光素子から射出する射出部とを有し、
前記分離部は、分光反射率が異なる複数の分離面を有し、
前記複数の分離面は、2層以上からなる誘電体膜で構成されていることを特徴とする導光素子。
続きを表示(約 1,600 文字)
【請求項2】
前記複数の分離面の第1方向に対する角度[°]をθとするとき、
5≦θ≦35
なる条件式を満足することを特徴とする請求項1に記載の導光素子。
【請求項3】
主波長の光において、前記複数の分離面のうち最も高い屈折率の分離面の屈折率をnH、最も低い屈折率の分離面の屈折率をnLとするとき、
nH≧2.00、 nL≦1.60
なる条件式を満足することを特徴とする請求項1に記載の導光素子。
【請求項4】
前記複数の分離面のうち前記入射部から第n番目の分離面を第n分離面とするとき、主波長の光における屈折率が2.0以上の屈折率の分離面の総膜厚[nm]をHn、前記主波長の光における屈折率が1.6以下の屈折率の分離面の総膜厚[nm]をLnとするとき、
前記複数の分離面は、
Hn≧100、 Ln≧100
なる条件式を満足する少なくとも一つの分離面を含むことを特徴とする請求項1に記載の導光素子。
【請求項5】
前記射出部は、分光反射率が異なる複数の射出面を有することを特徴とする請求項1に記載の導光素子。
【請求項6】
画像表示素子からの画像光を瞳に導く導光素子であって、
前記画像光が入射する入射部と、
前記瞳における前記画像光を第1方向に分離する分離部と、
前記画像光を前記導光素子から射出する射出部とを有し、
前記分離部は、分光反射率が異なる複数の分離面を有し、
前記複数の分離面のうち前記入射部から第n番目の分離面を第n分離面、前記第n分離面への主光線の入射角度[°]をα、主波長の光における第n分離面のS偏光の反射率[%]をRe(α、n、S)、前記第n分離面のP偏光の反射率[%]をRe(α、n、P)とするとき、
前記複数の分離面は、
0.7≦Re(α、n、P)/Re(α、n、S)≦1.6
なる条件式を満足する少なくとも一つの分離面を含むことを特徴とする導光素子。
【請求項7】
前記射出部は、分光反射率が異なる複数の射出面を有し、
前記複数の射出面のうち前記入射部から第m番目の射出面を第m射出面、前記第m射出面への主光線の入射角度[°]をβ、主波長の光における前記第m射出面のS偏光の反射率[%]をRo(β、m、S)、前記第m射出面のP偏光の反射率[%]をRo(β、m、P)とするとき、
前記複数の射出面は、
Ro(β、m、P)/Ro(β、m、S)≦0.3
なる条件式を満足する少なくとも一つの射出面を含むことを特徴とする請求項6に記載の導光素子。
【請求項8】
前記導光素子の屈折率をnG、前記第1方向の視野角(°)をωVとするとき、
前記複数の分離面は、
Re(α+ωV/nG、1、P)>1.1×Re(α、1、P)
Re(α、n、P)>1.1×Re(α-ωV/nG、n、P)
なる条件式を満足する少なくとも一つの分離面を含むことを特徴とする請求項6に記載の導光素子。
【請求項9】
前記複数の分離面は、
Re(α、n、P)≦10.0
Re(α、n、S)≦10.0
なる条件式を満足する少なくとも一つの分離面を含むことを特徴とする請求項6に記載の導光素子。
【請求項10】
主波長の主光線におけるP偏光およびS偏光の平均の最大反射率をRmax、前記P偏光および前記S偏光の平均の最小反射率をRminとするとき、
Rmin/Rmax≦0.20
なる条件式を満足することを特徴とする請求項1に記載の導光素子。
(【請求項11】以降は省略されています)
発明の詳細な説明
【技術分野】
【0001】
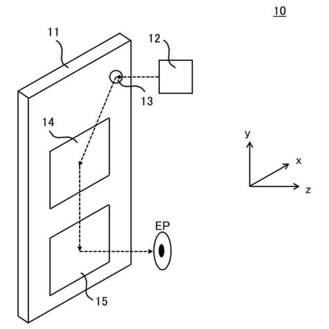
本発明は、導光素子および画像表示装置に関する。
続きを表示(約 950 文字)
【背景技術】
【0002】
特許文献1には、表示画像を観察者の瞳に導光する導光板を備えた画像表示装置が開示されている。
【先行技術文献】
【特許文献】
【0003】
特開2024-37843号公報
【発明の概要】
【発明が解決しようとする課題】
【0004】
特許文献1に開示された画像表示装置では、不要光が多いため光利用効率が低下する。
【0005】
そこで本発明は、光利用効率を高めた導光素子を提供することを目的とする。
【課題を解決するための手段】
【0006】
本発明の一側面としての導光素子は、画像表示素子からの画像光を瞳に導く導光素子であって、前記画像光が入射する入射部と、前記瞳における前記画像光を第1方向に分離する分離部と、前記画像光を前記導光素子から射出する射出部とを有し、前記分離部は、分光反射率が異なる複数の分離面を有し、前記複数の分離面は、2層以上からなる誘電体膜で構成されている。
【0007】
本発明の他の目的及び特徴は、以下の実施例において説明される。
【発明の効果】
【0008】
本発明によれば、光利用効率を高めた導光素子を提供することが可能である。
【図面の簡単な説明】
【0009】
実施例1における画像表示装置の構成図である。
実施例1における導光板の構成図である。
実施例1における導光板の構成図である。
実施例1における光源ユニットの構成図である。
実施例1における光源ユニットの構成図である。
実施例2における導光板の構成図である。
実施例3における導光板の構成図である。
実施例1における第1~3射出面のS偏光の反射率を示す図である。
【発明を実施するための形態】
【0010】
以下、本発明の実施例について、図面を参照しながら詳細に説明する。各図において、同一の部材については同一の参照符号を付し、重複する説明は省略する。
【実施例】
(【0011】以降は省略されています)
この特許をJ-PlatPat(特許庁公式サイト)で参照する
関連特許
キヤノン株式会社
容器
1か月前
キヤノン株式会社
容器
1か月前
キヤノン株式会社
トナー
1か月前
キヤノン株式会社
トナー
2か月前
キヤノン株式会社
トナー
2か月前
キヤノン株式会社
トナー
2か月前
キヤノン株式会社
トナー
1か月前
キヤノン株式会社
測距装置
1か月前
キヤノン株式会社
定着装置
24日前
キヤノン株式会社
定着装置
24日前
キヤノン株式会社
測距装置
1か月前
キヤノン株式会社
撮像装置
10日前
キヤノン株式会社
表示装置
10日前
キヤノン株式会社
記録装置
4日前
キヤノン株式会社
記録装置
4日前
キヤノン株式会社
定着装置
2か月前
キヤノン株式会社
撮像装置
1か月前
キヤノン株式会社
撮像装置
3日前
キヤノン株式会社
現像装置
1か月前
キヤノン株式会社
撮像装置
3日前
キヤノン株式会社
撮像装置
1か月前
キヤノン株式会社
記録装置
24日前
キヤノン株式会社
二次電池
5日前
キヤノン株式会社
撮像装置
10日前
キヤノン株式会社
表示装置
10日前
キヤノン株式会社
記録装置
1か月前
キヤノン株式会社
表示装置
10日前
キヤノン株式会社
電子機器
1か月前
キヤノン株式会社
定着装置
24日前
キヤノン株式会社
記録装置
1か月前
キヤノン株式会社
現像容器
1か月前
キヤノン株式会社
電子機器
1か月前
キヤノン株式会社
撮像装置
26日前
キヤノン株式会社
現像装置
1か月前
キヤノン株式会社
雲台装置
1か月前
キヤノン株式会社
撮像装置
1か月前
続きを見る
他の特許を見る