TOP
|
特許
|
意匠
|
商標
特許ウォッチ
Twitter
他の特許を見る
10個以上の画像は省略されています。
公開番号
2025177491
公報種別
公開特許公報(A)
公開日
2025-12-05
出願番号
2024084365
出願日
2024-05-23
発明の名称
画像形成装置および制御方法
出願人
キヤノン株式会社
代理人
弁理士法人谷・阿部特許事務所
主分類
B41J
2/165 20060101AFI20251128BHJP(印刷;線画機;タイプライター;スタンプ)
要約
【課題】クリーニング性を向上させることが可能な技術を提供する。
【解決手段】ノズルから記録液を吐出して記録する記録手段と、前記記録手段において前記ノズルが形成されたノズル面をワイピングして前記ノズル面に付着した付着物を除去するメンテナンス手段と、を有し、前記メンテナンス手段は、弾性材料により形成される第1ブレードによって第1ワイピングを実行する第1ワイプ部と、前記第1ブレードと異なる種類の弾性材料により形成される第2ブレードによって第2ワイピングを実行する第2ワイプ部と、を備えるようにした。
【選択図】図8
特許請求の範囲
【請求項1】
ノズルから記録液を吐出して記録する記録手段と、
前記記録手段において前記ノズルが形成されたノズル面をワイピングして前記ノズル面に付着した付着物を除去するメンテナンス手段と、を有し、
前記メンテナンス手段は、
弾性材料により形成される第1ブレードによって第1ワイピングを実行する第1ワイプ部と、
前記第1ブレードと異なる種類の弾性材料により形成される第2ブレードによって第2ワイピングを実行する第2ワイプ部と、を備えることを特徴とする画像形成装置。
続きを表示(約 770 文字)
【請求項2】
前記第2ブレードは、前記第1ブレードよりも硬度が低いことを特徴とする請求項1に記載の画像形成装置。
【請求項3】
前記第1ブレードは、硬度70Hs以上、90Hs以下の弾性材料により形成されることを特徴とする請求項2に記載の画像形成装置。
【請求項4】
前記第2ブレードは、硬度10Hs以上、50Hs以下の弾性材料により形成されることを特徴とする請求項2に記載の画像形成装置。
【請求項5】
前記第1ワイピングは、前記第2ワイピングよりも高頻度で実行されることを特徴とする請求項1に記載の画像形成装置。
【請求項6】
前記第2ブレードは、前記第1ブレードよりも動摩擦係数が低いことを特徴とする請求項1に記載の画像形成装置。
【請求項7】
前記第2ブレードの動摩擦係数は、0.1以上、0.7以下であることを特徴とする請求項6に記載の画像形成装置。
【請求項8】
前記第2ブレードは、前記第1ブレードよりも損失正接が高いことを特徴とする請求項1に記載の画像形成装置。
【請求項9】
前記第2ブレードの損失正接は、0.1以上、0.3以下であることを特徴とする請求項8に記載の画像形成装置。
【請求項10】
前記ノズル面には、記録液を吐出可能に、前記ノズルを保護するノズルガードが設けられ、
前記第1ワイピングにおける前記第1ブレードの前記ノズルガードの表面への当接力と、前記第2ワイピングにおける前記第2ブレードの、前記ノズルガードから露出した前記ノズルを含むその近傍への当接力と、は一致もしくは近似することを特徴とする請求項1に記載の画像形成装置。
(【請求項11】以降は省略されています)
発明の詳細な説明
【技術分野】
【0001】
本開示は、画像形成装置および制御方法に関する。
続きを表示(約 1,500 文字)
【背景技術】
【0002】
記録媒体に画像を形成する画像形成装置としてのインクジェット記録装置では、記録ヘッドのノズルからのインクの吐出性能を良好に維持、回復するために、ノズルが形成されたノズル面に付着したインクや紙粉などの付着物をワイピングする構成を備えている。
【0003】
特許文献1には、ワイピングのためのブレードにおいて、ノズルが形成された領域を保護するノズルガードをワイピングする部分を、当該領域をワイピングする部分よりも分厚く形成することで、ノズルガードへのクリーニング性を向上させる技術が開示されている。
【先行技術文献】
【特許文献】
【0004】
特開2007‐203679号公報
【発明の概要】
【発明が解決しようとする課題】
【0005】
しかしながら、特許文献1に開示の技術では、ノズルが形成された領域に対するクリーニング性を向上させるためには、当該領域に対するブレードの当接力を増大させる必要があり、この場合、ノズルガードなどがある他の領域への当接力も増大してしまう。このため、当該他の領域へ過剰な当接力が付与されてしまい、当該他の領域に位置する部材の損傷や、ブレード自体に損傷が生じる虞があった。
【0006】
本開示は、上記課題に鑑みてなされたものであり、クリーニング性を向上させることが可能な技術を提供することを目的とする。
【課題を解決するための手段】
【0007】
上記目的を達成するために、本開示による画像形成装置の一実施形態は、ノズルから記録液を吐出して記録する記録手段と、前記記録手段において前記ノズルが形成されたノズル面をワイピングして前記ノズル面に付着した付着物を除去するメンテナンス手段と、を有し、前記メンテナンス手段は、弾性材料により形成される第1ブレードによって第1ワイピングを実行する第1ワイプ部と、前記第1ブレードと異なる種類の弾性材料により形成される第2ブレードによって第2ワイピングを実行する第2ワイプ部と、を備えることを特徴とする。
【発明の効果】
【0008】
本開示によれば、クリーニング性を向上することができるようになる。
【図面の簡単な説明】
【0009】
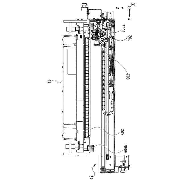
画像形成装置の概略構成図。
記録部の搬送路を示す図。
記録ヘッドを昇降する昇降部の概略構成図。
記録ヘッドの斜視構成図。
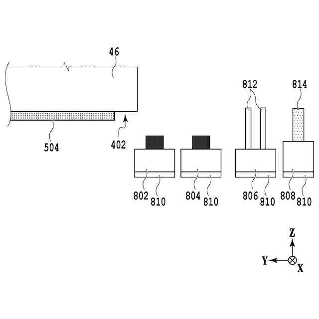
ノズル面の構成を説明する図。
記録ヘッドを位置決めしたときのメンテナンス部を示す図。
図6のVII-VII線断面図。
メンテナンス部材の概略構成図。
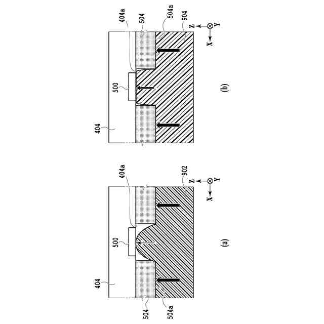
開口内へのブレードの進入を示すイメージ図。
表面への当接力とノズル列回りへの当接力との関係を示すグラフ。
第1クリーニング処理の処理内容を示すフローチャート。
第2クリーニング処理の処理内容を示すフローチャート。
実験においてブレードの形成に用いたゴム材料の特性を示すテーブル。
実験条件および実験結果を示すテーブル。
【発明を実施するための形態】
【0010】
以下、添付の図面を参照しながら、画像形成装置および制御方法の実施形態の一例を説明する。なお、以下の実施形態は、本開示を限定するものではなく、また、本実施形態で説明されている特徴の組合せのすべてが本開示の解決手段に必須のものとは限らない。また、実施形態に記載されている構成要素の位置、形状などはあくまで一例であり、この開示をそれらのみに限定する趣旨のものではない。
(【0011】以降は省略されています)
この特許をJ-PlatPat(特許庁公式サイト)で参照する
関連特許
キヤノン株式会社
撮像装置
18日前
キヤノン株式会社
表示装置
10日前
キヤノン株式会社
表示装置
10日前
キヤノン株式会社
撮像装置
10日前
キヤノン株式会社
表示装置
3日前
キヤノン株式会社
撮像装置
3日前
キヤノン株式会社
撮像装置
3日前
キヤノン株式会社
撮像装置
10日前
キヤノン株式会社
表示装置
10日前
キヤノン株式会社
定着装置
18日前
キヤノン株式会社
発光装置
10日前
キヤノン株式会社
二次電池
5日前
キヤノン株式会社
撮像装置
3日前
キヤノン株式会社
撮像装置
3日前
キヤノン株式会社
撮像装置
3日前
キヤノン株式会社
記録装置
4日前
キヤノン株式会社
撮像装置
12日前
キヤノン株式会社
記録装置
4日前
キヤノン株式会社
電子機器
3日前
キヤノン株式会社
インク容器
4日前
キヤノン株式会社
検査システム
10日前
キヤノン株式会社
二成分現像剤
10日前
キヤノン株式会社
画像形成装置
3日前
キヤノン株式会社
画像形成装置
5日前
キヤノン株式会社
情報処理装置
18日前
キヤノン株式会社
画像記録装置
5日前
キヤノン株式会社
画像形成装置
3日前
キヤノン株式会社
画像形成装置
18日前
キヤノン株式会社
情報処理装置
18日前
キヤノン株式会社
情報処理装置
18日前
キヤノン株式会社
情報処理装置
18日前
キヤノン株式会社
画像形成装置
18日前
キヤノン株式会社
情報処理装置
18日前
キヤノン株式会社
画像認識装置
18日前
キヤノン株式会社
画像形成装置
11日前
キヤノン株式会社
印刷システム
18日前
続きを見る
他の特許を見る