TOP
|
特許
|
意匠
|
商標
特許ウォッチ
Twitter
他の特許を見る
10個以上の画像は省略されています。
公開番号
2025177674
公報種別
公開特許公報(A)
公開日
2025-12-05
出願番号
2024084717
出願日
2024-05-24
発明の名称
有機発光素子及びその製造方法
出願人
キヤノン株式会社
代理人
個人
,
個人
主分類
H10K
50/80 20230101AFI20251128BHJP()
要約
【課題】1枚の基板から複数の有機発光素子を製造する際に、該基板の切断後に各有機発光素子の切断前の位置を特定できる識別部を有する有機発光素子を提供する。
【解決手段】基板1上の複数の発光領域2に有機化合物層・金属層4を形成する際に、該有機化合物層・金属層4の外縁部に少なくとも一つの凸部5又は凹部7を形成し、発光領域2毎に係る凸部5又は凹部7の個数や位置、形状等を異ならせることにより、基板1の切断後の各有機発光素子の切断前の位置の特定を可能とする。
【選択図】図1
特許請求の範囲
【請求項1】
基板上の一部に発光領域を有し、前記発光領域において、少なくとも一つの電極と、前記電極を覆う有機化合物層と、前記有機化合物層を覆う金属層と、を少なくとも有する有機発光素子であって、
前記有機化合物層及び前記金属層の少なくとも一方の外縁部に、凸部及び凹部の少なくとも一方からなる識別部を有することを特徴とする有機発光素子。
続きを表示(約 1,300 文字)
【請求項2】
前記識別部は、前記凸部及び凹部の少なくとも一方の有無、個数、位置、寸法、形状、色の要素から少なくとも1つの要素或いは複数の要素の組み合わせにより2つ以上の異なる形態を有することを特徴とする請求項1に記載の有機発光素子。
【請求項3】
前記有機発光素子が1枚の基板に形成された複数の有機発光素子を、前記基板を切断して分離したものであって、前記識別部によって前記基板における位置が特定されることを特徴とする請求項1に記載の有機発光素子。
【請求項4】
前記金属層が電極であることを特徴とする請求項1に記載の有機発光素子。
【請求項5】
基板上の一部に発光領域を有し、前記発光領域において、少なくとも一つの電極と、前記電極を覆う有機化合物層と、前記有機化合物層を覆う金属層と、を少なくとも有する有機発光素子であって、
前記有機化合物層及び前記金属層のうち、膜材料の異なる少なくとも2層のそれぞれの外縁部に、凸部及び凹部の少なくとも一方からなる識別部を有することを特徴とする有機発光素子。
【請求項6】
請求項1乃至4のいずれか一項に記載の有機発光素子の製造方法であって、
基板上に、少なくとも一つの電極と、前記電極を覆う有機化合物層と、前記有機化合物層を覆う金属層と、を有する発光領域を複数形成する工程と、
前記発光領域毎に前記基板を切断する工程と、を有し、
前記有機化合物層及び前記金属層の少なくとも一方を蒸着により成膜する際に、開口部に凸部及び凹部の少なくとも一方を有する蒸着マスクであって、前記開口部の形状が少なくとも一つの前記発光領域毎に異なる蒸着マスクを用いることを特徴とする有機発光素子の製造方法。
【請求項7】
請求項5に記載の有機発光素子の製造方法であって、
基板上に、少なくとも一つの電極と、前記電極を覆う有機化合物層と、前記有機化合物層を覆う金属層と、を有する発光領域を複数形成する工程と、
前記発光領域毎に前記基板を切断する工程と、を有し、
前記有機化合物層及び前記金属層のうち、膜材料の異なる少なくとも2層をそれぞれ蒸着により成膜する際に、開口部に凸部及び凹部の少なくとも一方を有する蒸着マスクであって、前記開口部の形状が少なくとも一つの前記発光領域毎に異なる蒸着マスクを用いることを特徴とする有機発光素子の製造方法。
【請求項8】
請求項1乃至5のいずれか一項に記載の有機発光素子を有する表示部と、前記表示部が設けられた筐体と、を有することを特徴とする表示装置。
【請求項9】
光を受光する撮像素子と、前記撮像素子が撮像した画像を表示する表示部と、を有し、
前記表示部は請求項1乃至5のいずれか一項に記載の有機発光素子を有することを特徴とする光電変換装置。
【請求項10】
請求項1乃至5のいずれか一項に記載の有機発光素子を有する表示部と、前記表示部が設けられた筐体と、前記筐体に設けられ、外部と通信する通信部と、を有することを特徴とする電子機器。
(【請求項11】以降は省略されています)
発明の詳細な説明
【技術分野】
【0001】
本発明は、有機発光素子及びその製造方法と、該有機発光素子を用いてなる装置、機器に関する。
続きを表示(約 4,200 文字)
【背景技術】
【0002】
有機エレクトロルミネッセンス素子(以下、「有機EL素子」又は「有機発光素子」とも称する)は、低電力化、高輝度発光、小型化が可能な発光デバイスとして、ディスプレイや照明に搭載されている。有機EL素子は、一般的に基板上にアノード電極、正孔輸送層、発光層、及び電子輸送層等を含む有機化合物層、カソード電極等、複数の層が積層された積層構造を有する。この積層構造を形成する方法として、蒸発や昇華を用いた基板への真空蒸着方法、溶媒に有機材料を溶解させて行うインクジェットやスピンコートなどを用いた成膜方法が挙げられる。
基板上に複数の層を形成する場合、所望のパターンに対応した開口を有する蒸着マスクを用いた真空蒸着法が一般的な製法として知られている。真空蒸着法では、基板上に所望のパターンを成膜するために、係るパターンに対応した開口を有する蒸着マスクを、基板と蒸着材料源の間に設置し成膜を行い基板上に蒸着材料を成膜させて有機発光素子を作製する。
有機発光素子は、通常、1枚の基板を用いて複数の有機EL素子の発光領域を同時に作製したチップを形成した後、該チップを切断して個々の有機発光素子を得るが、切断後の有機EL素子の基板内での位置を特定して識別できるようにするため、各有機発光素子に識別情報を付す場合がある。
例えば、特許文献1においては、切断前の複数の有機発光素子にレーザーマーカーで識別番号を印字して、個々の有機発光素子を識別できるようにしている。
【先行技術文献】
【特許文献】
【0003】
特開2011-171128号公報
【発明の概要】
【発明が解決しようとする課題】
【0004】
しかしながら、基板となるシリコンウエハの大型化や有機発光素子の小型化により、基板1枚から得られる有機発光素子の数量、所謂、取り個数の増加に対し、個々の有機発光素子に識別番号を形成する方法は、加工負荷が増大することが課題である。
また、識別情報を付す方法として、フォトリソグラフィによる一括露光により、識別番号を形成する方法も有るが、露光用の設備が必要であることや、既に設定された識別数より多くの識別数にしたい場合に別途装置を用意しなければならない等の設備投資の負担が大きいことが課題である。
本発明の課題は、1枚の基板から複数の有機発光素子を製造する際に個々の有機発光素子に簡便に識別情報を形成して、基板から切り離された後でも解析の際に基板内の位置を特定できる有機発光素子を提供することにある。また、識別情報の形成を製造工程や追加設備の負担なく実現することにある。さらに、有機発光素子の小型化と共に識別情報が小型化しても、文字、記号に比べて、識別情報の認識が容易である識別情報を形成した有機発光素子を提供することにある。
【課題を解決するための手段】
【0005】
本発明の第一は、基板上の一部に発光領域を有し、前記発光領域において、少なくとも一つの電極と、前記電極を覆う有機化合物層と、前記有機化合物層を覆う金属層と、を少なくとも有する有機発光素子であって、
前記有機化合物層及び前記金属層の少なくとも一方の外縁部に、凸部及び凹部の少なくとも一方からなる識別部を有することを特徴とする。
本発明の第二は、基板上の一部に発光領域を有し、前記発光領域において、少なくとも一つの電極と、前記電極を覆う有機化合物層と、前記有機化合物層を覆う金属層と、を少なくとも有する有機発光素子であって、
前記有機化合物層及び前記金属層のうち、膜材料の異なる少なくとも2層のそれぞれの外縁部に、凸部及び凹部の少なくとも一方からなる識別部を有することを特徴とする。
本発明の第三は、上記本発明第一の有機発光素子の製造方法であって、
基板上に、少なくとも一つの電極と、前記電極を覆う有機化合物層と、前記有機化合物層を覆う金属層と、を有する発光領域を複数形成する工程と、
前記発光領域毎に前記基板を切断する工程と、を有し、
前記有機化合物層及び前記金属層の少なくとも一方を蒸着により成膜する際に、開口部に凸部及び凹部の少なくとも一方を有する蒸着マスクであって、前記開口部の形状が少なくとも一つの前記発光領域毎に異なる蒸着マスクを用いることを特徴とする。
本発明の第四は、上記本発明の第三の有機発光素子の製造方法であって、
基板上に、少なくとも一つの電極と、前記電極を覆う有機化合物層と、前記有機化合物層を覆う金属層と、を有する発光領域を複数形成する工程と、
前記発光領域毎に前記基板を切断する工程と、を有し、
前記有機化合物層及び前記金属層のうち、膜材料の異なる少なくとも2層をそれぞれ蒸着により成膜する際に、開口部に凸部及び凹部の少なくとも一方を有する蒸着マスクであって、前記開口部の形状が少なくとも一つの前記発光領域毎に異なる蒸着マスクを用いることを特徴とする。
【発明の効果】
【0006】
本発明においては、有機発光素子を構成する有機化合物層や金属層の外縁部に凹部や凸部を形成して識別部とすることにより、製造工程の負荷が無く、特別な装置を用いることなく、個々の有機発光素子に簡易に識別情報を付与することができる。また係る識別部は、文字や記号よりも識別が容易であり、より小型化することが可能であることから、1枚の基板からより多くの有機発光素子を得ることができる。よって、本発明によれば、より安価に識別情報を有する有機発光素子を得ることができる。
【図面の簡単な説明】
【0007】
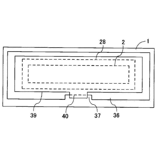
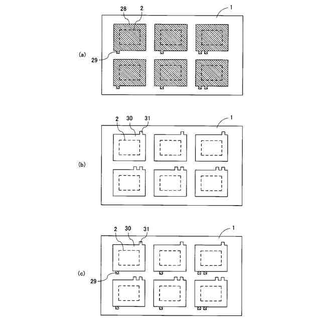
本発明の有機発光素子の実施形態のチップ切断前の平面模式図であり、(a)は識別部が凸部で、(b)は識別部が凹部でそれぞれ形成された実施形態である。
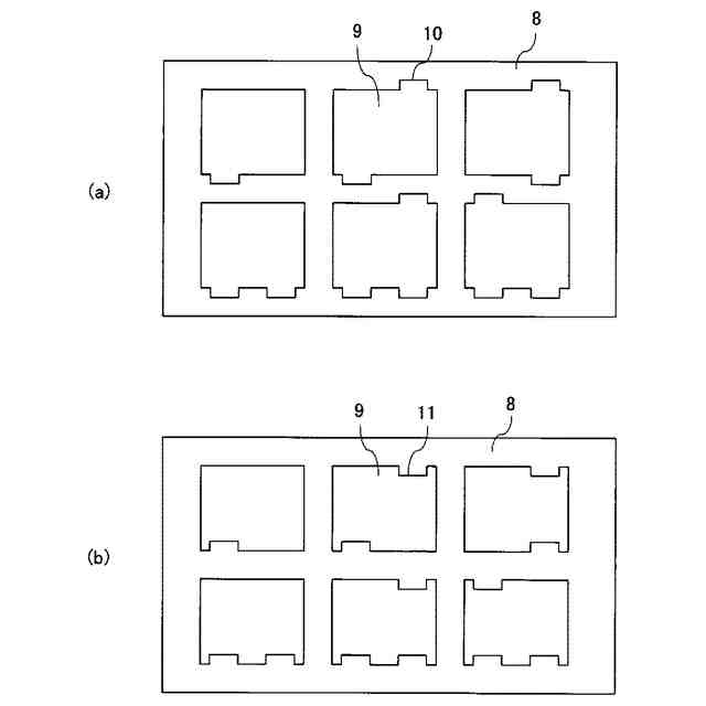
図1の有機発光素子の製造に用いられる蒸着マスクの平面模式図である。
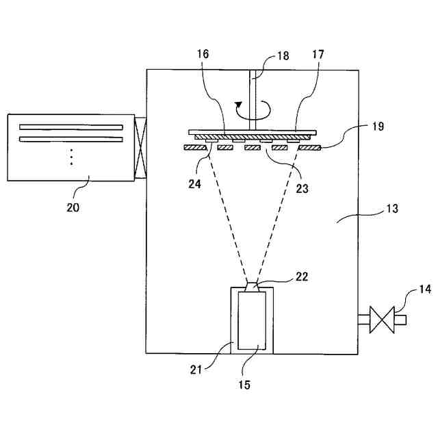
蒸着装置の構成を示す断面模式図である。
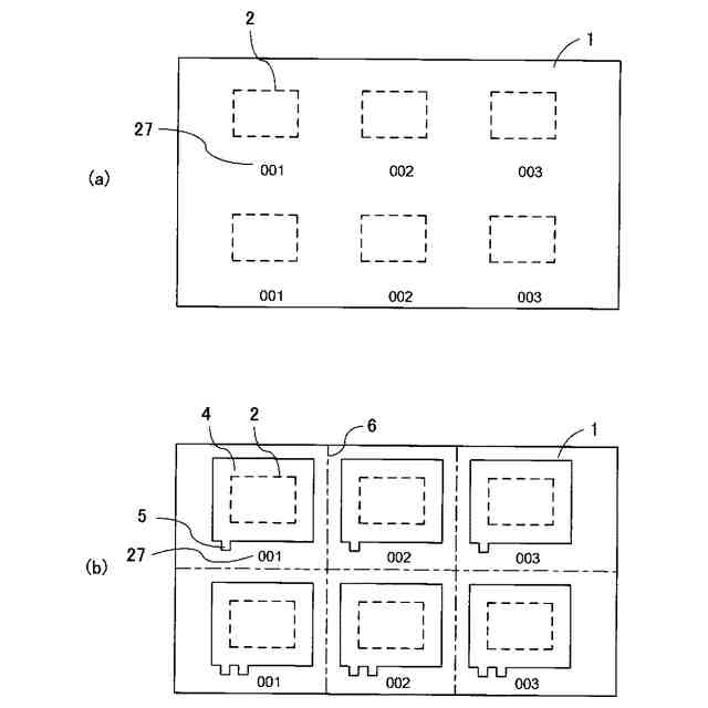
従来の有機発光素子のチップ切断前の平面模式図である。
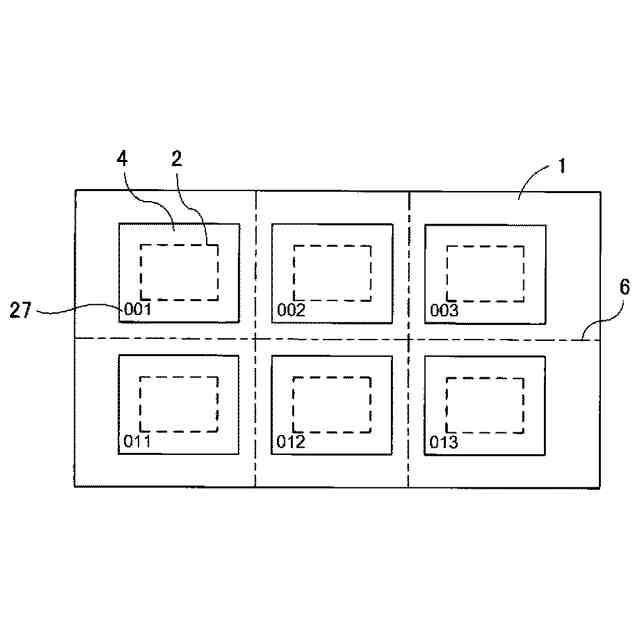
本発明の有機発光素子の他の実施形態のチップ切断前の平面模式図であり、(a)は有機化合物層の平面形状を、(b)は金属層の平面形状を、(c)は金属層まで蒸着した状態での平面形状をそれぞれ示す図である。
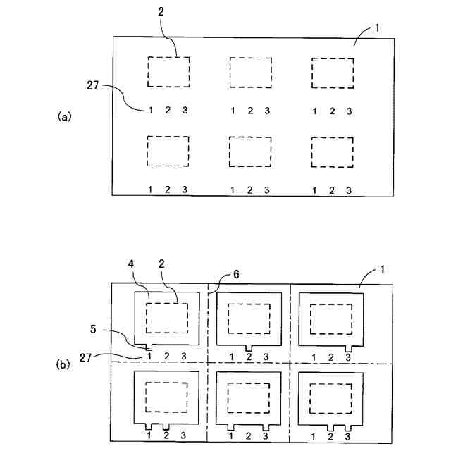
本発明の有機発光素子の他の実施形態のチップ切断前の平面模式図であり、(a)は識別番号を付与した状態を、(b)は有機化合物層及び/又は金属層を蒸着した状態をそれぞれ示す図である。
本発明の有機発光素子の他の実施形態のチップ切断前の平面模式図であり、(a)は識別番号を付与した状態を、(b)は有機化合物層及び/又は金属層を蒸着した状態をそれぞれ示す図である。
有機発光素子の基本構造を示す平面模式図である。
本発明の実施例1の有機発光素子の平面模式図であり、(a)はチップ切断前を、(b)はチップ切断後の一素子をそれぞれ示す図である。
本発明の実施例2の有機発光素子のチップ切断前の平面模式図である。
本発明の実施例3の有機発光素子の識別部の拡大平面模式図である。
(a)本発明の一実施形態に係る表示装置の画素の一例を表す概略断面図である。(b)本発明の一実施形態に係る有機発光素子を用いた表示装置の一例の概略断面図である。
本発明の一実施形態に係る表示装置の一例を表す模式図である。
(a)本発明の一実施形態に係る撮像装置の一例を表す模式図である。(b)本発明の一実施形態に係る電子機器の一例を表す模式図である。
(a)本発明の一実施形態に係る表示装置の一例を表す模式図である。(b)折り曲げ可能な表示装置の一例を表す模式図である。
(a)本発明の一実施形態に係る照明装置の一例を示す模式図である。(b)本発明の一実施形態に係る車両用灯具を有する自動車の一例を示す模式図である。
(a)本発明の一実施形態に係るウェアラブルデバイスの一例を示す模式図である。(b)本発明の一実施形態に係るウェアラブルデバイスの一例で、撮像装置を有する形態を示す模式図である。
(a)本発明の一実施形態に係る画像形成装置の一例を表す模式図である。(b)本発明の一実施形態に係る画像形成装置の露光光源の一例を表す模式図である。(c)本発明の一実施形態に係る画像形成装置の露光光源の一例を表す模式図である。
【発明を実施するための形態】
【0008】
本発明は、基板上に発光領域を有する有機発光素子であって、前記発光領域は、少なくとも一つの電極と、該電極を覆う有機化合物層及び金属層を有している。そして、前記有機化合物層及び前記金属層の少なくとも一方の外縁部に、凸部及び凹部の少なくとも一方からなる識別部を有することが特徴である。尚、本発明において、識別部の凸部、凹部はいずれも、基板表面に平行な方向に凸、凹であることをいう。
【0009】
また、本発明の有機発光素子は、1枚の基板を用いて複数個を同時に作製する。即ち、有機発光素子の発光領域を複数形成し、発光領域毎に基板を切断して個々の有機発光素子が得られる。以下、切断前の複数個の有機発光素子が連続した形態をチップと呼ぶ。チップ内において、個々の有機発光素子の識別部は互いに異なる。よって、係る識別部によって、チップ切断後においても、チップ切断前の位置を特定することができる。
【0010】
以下、図面を参照して実施形態を説明する。尚、以下の実施形態には複数の特徴が記載されているが、これらの複数の特徴の全てが発明に必須のものとは限らず、また、複数の特徴は任意に組み合わせられてもよい。さらに、添付図面においては、同一若しくは同様の構成に同一の参照番号を付し、重複した説明は省略する。
(【0011】以降は省略されています)
この特許をJ-PlatPat(特許庁公式サイト)で参照する
関連特許
キヤノン株式会社
容器
1か月前
キヤノン株式会社
容器
1か月前
キヤノン株式会社
トナー
1か月前
キヤノン株式会社
トナー
1か月前
キヤノン株式会社
撮像装置
1か月前
キヤノン株式会社
現像装置
1か月前
キヤノン株式会社
撮像装置
2日前
キヤノン株式会社
撮像装置
2日前
キヤノン株式会社
撮像装置
2日前
キヤノン株式会社
撮像装置
11日前
キヤノン株式会社
表示装置
9日前
キヤノン株式会社
記録装置
3日前
キヤノン株式会社
測距装置
1か月前
キヤノン株式会社
表示装置
9日前
キヤノン株式会社
撮像装置
9日前
キヤノン株式会社
撮影装置
1か月前
キヤノン株式会社
記録装置
1か月前
キヤノン株式会社
記録装置
23日前
キヤノン株式会社
記録装置
3日前
キヤノン株式会社
現像容器
1か月前
キヤノン株式会社
撮像装置
2日前
キヤノン株式会社
現像装置
1か月前
キヤノン株式会社
定着装置
17日前
キヤノン株式会社
電子機器
1か月前
キヤノン株式会社
定着装置
23日前
キヤノン株式会社
定着装置
23日前
キヤノン株式会社
記録装置
1か月前
キヤノン株式会社
測距装置
1か月前
キヤノン株式会社
発光装置
9日前
キヤノン株式会社
二次電池
4日前
キヤノン株式会社
現像装置
1か月前
キヤノン株式会社
現像容器
1か月前
キヤノン株式会社
電子機器
1か月前
キヤノン株式会社
雲台装置
1か月前
キヤノン株式会社
記録装置
1か月前
キヤノン株式会社
撮像装置
2日前
続きを見る
他の特許を見る