TOP
|
特許
|
意匠
|
商標
特許ウォッチ
Twitter
他の特許を見る
10個以上の画像は省略されています。
公開番号
2025177776
公報種別
公開特許公報(A)
公開日
2025-12-05
出願番号
2024084868
出願日
2024-05-24
発明の名称
眼科装置及び眼科装置の制御方法
出願人
キヤノン株式会社
代理人
個人
,
個人
,
個人
,
個人
,
個人
主分類
A61B
3/14 20060101AFI20251128BHJP(医学または獣医学;衛生学)
要約
【課題】 適正な明るさの眼底画像を取得すること。
【解決手段】 本開示の眼科装置は、第1の撮像素子と前記第1の撮像素子よりも感度が高い第2の撮像素子とを用いて被検眼の眼底を撮影する撮像部と、前記撮像部に入射する光量を制御する制御部と、を備える眼科装置であって、前記制御部は、前記撮像部が前記第1の撮像素子を用いて撮影する場合に、第1の光量を下限とする第1の範囲で光量を制御し、前記撮像部が前記第2の撮像素子を用いて撮影する場合に、前記第1の光量より低い第2の光量を下限とする第2の範囲で光量を制御する。
【選択図】 図1
特許請求の範囲
【請求項1】
第1の撮像素子と前記第1の撮像素子よりも感度が高い第2の撮像素子とを用いて被検眼の眼底を撮影する撮像部と、
前記撮像部に入射する光量を制御する制御部と、
を備える眼科装置であって、
前記制御部は、
前記撮像部が前記第1の撮像素子を用いて撮影する場合に、第1の光量を下限とする第1の範囲で光量を制御し、
前記撮像部が前記第2の撮像素子を用いて撮影する場合に、前記第1の光量より低い第2の光量を下限とする第2の範囲で光量を制御する眼科装置。
続きを表示(約 1,000 文字)
【請求項2】
前記撮像部は、前記第1の撮像素子と前記第2の撮像素子とを切り替えて被検眼の眼底を撮影する請求項1に記載の眼科装置。
【請求項3】
前記第1の範囲は、前記第1の光量を下限とし、且つ第3の光量を上限とし、
前記第2の範囲は、前記第2の光量を下限とし、且つ前記第1の光量より大きく前記第3の光量より小さい第4の光量を上限とする請求項1に記載の眼科装置。
【請求項4】
前記被検眼を照明する照明部を更に備え、
前記制御部は、前記照明部の発光量を変更することにより前記撮像部に入射する光量を制御する請求項1に記載の眼科装置。
【請求項5】
前記照明部は複数の光源を有し、
前記制御部は、発光させる前記光源の数を変更することにより前記撮像部に入射する光量を制御する請求項4に記載の眼科装置。
【請求項6】
前記照明部と前記被検眼との間と前記被検眼と前記撮像部との間の少なくとも一方に光学部材を更に備え、
前記制御部は、前記光学部材を制御することにより前記撮像部に入射する光量を制御する請求項4に記載の眼科装置。
【請求項7】
前記光学部材は、NDフィルタ、絞り、及び、ハーフミラーの少なくとも一つである請求項6に記載の眼科装置。
【請求項8】
前記撮像部により撮影された眼底画像を表示部に表示する制御を行う表示制御部を更に備え、
前記表示制御部は、
前記眼底画像が、前記第1の撮像素子を用いて撮影された眼底画像であるか前記第2の撮像素子を用いて撮影された眼底画像であるかを識別する識別情報を表示部に表示する制御を行う請求項1に記載の眼科装置。
【請求項9】
前記撮像部により撮影された眼底画像を表示部に表示する制御を行う表示制御部を更に備え、
前記表示制御部は、
前記第1の撮像素子を用いて撮影された眼底画像と前記第2の撮像素子を用いて撮影された眼底画像とが合成された合成画像を表示部に表示する制御を行う請求項1に記載の眼科装置。
【請求項10】
前記第1の撮像素子は、CCDセンサ又はCMOSセンサであり、
前記第2の撮像素子は、SPADセンサである請求項1に記載の眼科装置。
(【請求項11】以降は省略されています)
発明の詳細な説明
【技術分野】
【0001】
本開示は、眼科装置及び眼科装置の制御方法に関する。
続きを表示(約 1,500 文字)
【背景技術】
【0002】
眼科装置として被検眼の眼底画像を取得する眼底カメラ装置が知られている。眼底には光の反射強度が異なる様々な部位があるため、眼底カメラ装置には、広いダイナミックレンジで撮影できることが求められる。ここで、特許文献1には、露出条件(照明光の強度や撮像素子の感度など)を変更して撮影された複数の眼底画像に対してハイダイナミックレンジ合成を施すことにより、ダイナミックレンジが広い眼底画像を得る装置が開示されている。
【先行技術文献】
【特許文献】
【0003】
特開2012-213555号公報
【発明の概要】
【発明が解決しようとする課題】
【0004】
ここで、近年の眼底カメラ装置には、明るい光で撮影するフラッシュ光撮影や微小な光を検出する蛍光撮影などの様々な撮影方式に対応することが要求されているが、従来の眼底カメラ装置では、例えば、ダイナミックレンジが不足し、適正な明るさの眼底画像を取得することが難しい可能性がある。
【0005】
そこで、本開示の目的は、適正な明るさの眼底画像を取得することである。
【課題を解決するための手段】
【0006】
本開示の眼科装置は、第1の撮像素子と前記第1の撮像素子よりも感度が高い第2の撮像素子とを用いて被検眼の眼底を撮影する撮像部と、前記撮像部に入射する光量を制御する制御部と、を備える眼科装置であって、前記制御部は、前記撮像部が前記第1の撮像素子を用いて撮影する場合に、第1の光量を下限とする第1の範囲で光量を制御し、前記撮像部が前記第2の撮像素子を用いて撮影する場合に、前記第1の光量より低い第2の光量を下限とする第2の範囲で光量を制御する。
【発明の効果】
【0007】
本開示によれば、適正な明るさの眼底画像を取得することができる。
【図面の簡単な説明】
【0008】
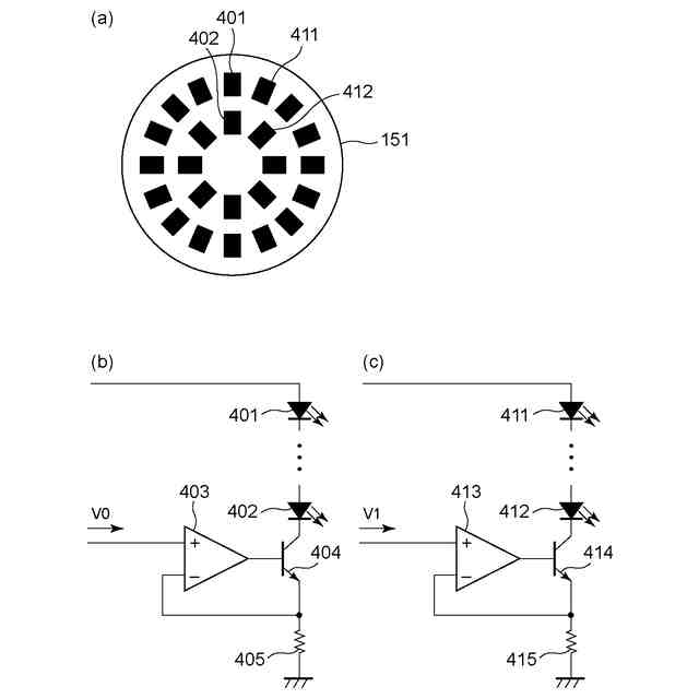
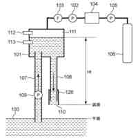
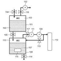
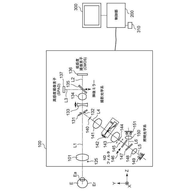
装置の概略的な構成例を示す。
装置の制御部の概略的な構成例を示す。
光源の調光回路構成の一例を示す。
NDフィルタを用いた調光構成の一例を示す。
装置の調光範囲の一例を示す。
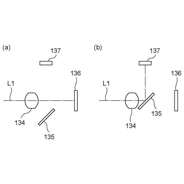
撮像素子の切り替え構成の一例を示す。
実施形態1での撮影フローの一例を示す。
実施形態1の変形例1での撮影フローの一例を示す。
実施形態1の変形例1での画像表示の一例を示す。
実施形態1の変形例2での撮影フローの一例を示す。
実施形態1の変形例2での画像表示の一例を示す。
実施形態2での撮像素子構成の一例を示す。
実施形態2での撮影フローの一例を示す。
実施形態2での生成画像の一例を示す。
【発明を実施するための形態】
【0009】
以下、本開示を実施するための例示的な実施形態を、図面を参照して詳細に説明する。ただし、以下の実施形態で説明する寸法、材料、形状、及び構成要素の相対的な位置等は任意であり、本開示が適用される装置の構成又は様々な条件に応じて変更できる。また、図面において、同一であるか又は機能的に類似している要素を示すために図面間で同じ参照符号を用いる。
【0010】
(実施形態1)
本実施形態による装置は、低感度の撮像素子と高感度の撮像素子とを搭載し、撮影モードにより撮像素子を切り替え、切り替えられた撮像素子に応じて露出制御を変更する眼科装置である。
(【0011】以降は省略されています)
この特許をJ-PlatPat(特許庁公式サイト)で参照する
関連特許
キヤノン株式会社
電子機器
3日前
キヤノン株式会社
撮像装置
3日前
キヤノン株式会社
撮像装置
3日前
キヤノン株式会社
撮像装置
3日前
キヤノン株式会社
表示装置
3日前
キヤノン株式会社
撮像装置
3日前
キヤノン株式会社
撮像装置
3日前
キヤノン株式会社
情報処理装置
3日前
キヤノン株式会社
画像形成装置
3日前
キヤノン株式会社
画像形成装置
3日前
キヤノン株式会社
測距装置及び測距方法
3日前
キヤノン株式会社
表示光学系および表示装置
3日前
キヤノン株式会社
表示光学系および表示装置
3日前
キヤノン株式会社
画像形成装置および制御方法
3日前
キヤノン株式会社
情報処理装置、情報処理方法
3日前
キヤノン株式会社
有機発光素子及びその製造方法
3日前
キヤノン株式会社
眼科装置及び眼科装置の制御方法
3日前
キヤノン株式会社
光電変換装置及び光電変換システム
3日前
キヤノン株式会社
情報処理装置、制御方法、及び、プログラム
3日前
キヤノン株式会社
通信装置、その制御方法、並びにプログラム
3日前
キヤノン株式会社
通信装置、その制御方法、並びにプログラム
3日前
キヤノン株式会社
画像処理装置、画像処理方法及びプログラム
3日前
キヤノン株式会社
情報処理装置、その制御方法、及びプログラム
3日前
キヤノン株式会社
成形型、射出成形装置、樹脂成形品の製造方法
3日前
キヤノン株式会社
画像形成装置、画像処理方法、及びプログラム
3日前
キヤノン株式会社
情報処理装置、情報処理方法、及びプログラム
3日前
キヤノン株式会社
通信装置、通信装置の制御方法、及びプログラム
3日前
キヤノン株式会社
プログラム、表示制御方法、及び表示制御システム
3日前
キヤノン株式会社
導光素子、画像表示装置および導光素子の製造方法
3日前
キヤノン株式会社
ブレードラバー、ワイパーブレード及びワイパー装置
3日前
キヤノン株式会社
光電変換装置、光電変換システム、移動体および機器
3日前
キヤノン株式会社
印刷検査装置、印刷検査装置の制御方法及びプログラム
3日前
キヤノン株式会社
二酸化炭素の回収装置、および、二酸化炭素の回収方法
3日前
キヤノン株式会社
二酸化炭素の回収装置、および、二酸化炭素の回収方法
3日前
キヤノン株式会社
照明光学系、露光装置、物品の製造方法、及び照明方法
3日前
キヤノン株式会社
画像形成装置、画像形成装置の制御方法、及びプログラム
3日前
続きを見る
他の特許を見る