TOP
|
特許
|
意匠
|
商標
特許ウォッチ
Twitter
他の特許を見る
10個以上の画像は省略されています。
公開番号
2025177631
公報種別
公開特許公報(A)
公開日
2025-12-05
出願番号
2024084652
出願日
2024-05-24
発明の名称
情報処理装置、情報処理方法、及びプログラム
出願人
キヤノン株式会社
代理人
個人
主分類
G06F
3/01 20060101AFI20251128BHJP(計算;計数)
要約
【課題】作業等を中断することなくユーザの姿勢の改善を可能にする。
【解決手段】情報処理装置は、表示画像を見ているユーザの姿勢が、所定の基準姿勢から移動した状態であるかを判定し、現時点のユーザの姿勢が基準姿勢から移動した状態であると判定された場合に、現時点のユーザの姿勢が基準姿勢から移動した第1の方向とは逆の第2の方向に、ユーザが見ている表示画像の表示位置を移動させる。
【選択図】図1
特許請求の範囲
【請求項1】
表示画像を見ているユーザの姿勢が、所定の基準姿勢から移動した状態であるかを判定する判定手段と、
現時点の前記ユーザの姿勢が前記基準姿勢から移動した状態であると前記判定手段が判定した場合に、前記現時点のユーザの姿勢が前記基準姿勢から移動した第1の方向とは逆の第2の方向に、前記ユーザが見ている前記表示画像の表示位置を移動させる表示移動手段と、
を有することを特徴とする情報処理装置。
続きを表示(約 1,300 文字)
【請求項2】
前記判定手段は、前記基準姿勢から前記現時点のユーザの姿勢が移動した状態が、所定の閾値時間以上継続している場合に、前記ユーザの姿勢が前記基準姿勢から移動した状態になっていると判定することを特徴とする請求項1に記載の情報処理装置。
【請求項3】
前記判定手段は、前記基準姿勢から前記現時点のユーザの姿勢が移動した移動量が、所定の閾値量以上である場合に、前記ユーザの姿勢が前記基準姿勢から移動した状態になっていると判定することを特徴とする請求項1に記載の情報処理装置。
【請求項4】
前記判定手段は、前記基準姿勢から前記現時点のユーザの姿勢が移動した移動量が前記閾値量以上である状態が、所定の閾値時間以上継続している場合に、前記ユーザの姿勢が前記基準姿勢から移動した状態になっていると判定することを特徴とする請求項3に記載の情報処理装置。
【請求項5】
前記表示移動手段は、前記表示画像の表示位置を前記移動させた後、前記現時点のユーザの姿勢が前記基準姿勢になった場合、前記表示画像の表示位置を、徐々に前記基準姿勢に対応した表示位置にすることを特徴とする請求項1に記載の情報処理装置。
【請求項6】
前記表示画像はヘッドマウント型またはグラス型の表示装置に表示される画像であり、
前記表示装置を装着した前記ユーザの頭部位置を検出する検出手段をさらに有し、
前記判定手段は、前記検出手段が検出した現時点の前記ユーザの頭部位置と、前記基準姿勢に対応した頭部位置とに基づいて、前記現時点のユーザの姿勢が前記基準姿勢から移動した状態であるかを判定することを特徴とする請求項1に記載の情報処理装置。
【請求項7】
ユーザが前記基準姿勢になっている状態で前記検出手段が検出した前記ユーザの頭部位置を、前記基準姿勢に対応した頭部位置として記憶する記憶手段を有することを特徴とする請求項6に記載の情報処理装置。
【請求項8】
前記表示画像は仮想モニタの画像であり、
前記表示移動手段は、前記基準姿勢に対応した頭部位置から前記現時点のユーザの頭部位置が移動した前記第1の方向とは逆の前記第2の方向へ、前記ユーザの頭部位置が前記基準姿勢である時の前記仮想モニタの表示位置を前記移動させることを特徴とする請求項6に記載の情報処理装置。
【請求項9】
前記現時点のユーザの頭部位置に基づいて前記表示画像を生成する画像生成手段を有し、
現時点の前記ユーザの姿勢が前記基準姿勢から移動した状態であると前記判定手段が判定した場合、前記表示移動手段は、前記画像生成手段により生成される前記表示画像の表示位置を前記移動させることを特徴とする請求項6に記載の情報処理装置。
【請求項10】
前記画像生成手段は、現実空間を撮像した画像に前記表示画像を重畳した画像を生成することを特徴とする請求項9に記載の情報処理装置。
(【請求項11】以降は省略されています)
発明の詳細な説明
【技術分野】
【0001】
本発明は、ヘッドマウント型やグラス型の表示装置の表示画像に係る情報処理技術に関する。
続きを表示(約 2,000 文字)
【背景技術】
【0002】
近年、ユーザが頭部に装着するヘッドマウント型や眼鏡のように耳に掛けて装着するグラス型などのような、多様な形態の表示装置が登場している。これらの表示装置は、それ以外の一般的な表示装置とは異なり、視界全体あるいは視界の大部分を占める画像をユーザに提供することができる。また、これらの表示装置は、角速度センサ、加速度センサ、測距センサなどの各種センサを搭載しており、それら各種センサの情報からユーザの頭部の動きを検知し、その頭部の位置や向きに連動して表示画像を連続的に変化させる機能を備えているものが多い。このため、ユーザは、表示装置に表示されている画像があたかも現実世界に存在しているかのような高い没入感を得ることができる。
【0003】
このような表示装置の特性を活かす用途として、仮想作業環境をユーザに提供することも想定されている。仮想作業環境とは、ユーザが装着した表示装置に、様々な機器、製品や工具等の仮想デバイスを表示し、それら仮想デバイスを、ユーザの動きや入力に応じて移動や変化させたり操作したりすることを可能にした仮想的な環境である。しかしながら、通常の実作業時と同様に、仮想作業環境において長時間の作業を続けていると、ユーザ自身が気付かないうちに姿勢が悪化してしまうことがある。
【0004】
特許文献1には、携帯端末を使用しているユーザの姿勢を正す技術が開示されている。この特許文献1の技術では、携帯端末に搭載されている加速度センサ、角速度センサなどの情報を基にユーザの姿勢を推定し、ユーザの姿勢が悪化していると判定すると、携帯端末の画面上に警告メッセージを表示したり警告音を鳴らしたりしてユーザに警告する。このとき、ユーザに対する警告は、ユーザが携帯端末を使用し続けるのに不具合が生じる程度の警告となっている。例えば、画像の表示部の大部分を占める程度の大きさで警告メッセージが表示されたり、不具合を感じる程度の音量で警告音が鳴らされたりする。そして、携帯端末は、その警告に含まれる動作指示に従って、ユーザが姿勢を改善して深呼吸をしたことを検知すると、警告を停止する。
【先行技術文献】
【特許文献】
【0005】
特開2020-171444号公報
【発明の概要】
【発明が解決しようとする課題】
【0006】
特許文献1に開示の技術の場合、ユーザは、姿勢が悪化していることを警告されたとき、その警告を無視することはできず、一度作業を中断し、携帯端末の指示に従って姿勢を改善する必要がある。このため、作業中のユーザは、集中力を欠いてしまう可能性がある。
【0007】
そこで本発明は、作業等を中断することなくユーザの姿勢を改善可能にすることを目的とする。
【課題を解決するための手段】
【0008】
本発明の情報処理装置は、表示画像を見ているユーザの姿勢が、所定の基準姿勢から移動した状態であるかを判定する判定手段と、現時点の前記ユーザの姿勢が前記基準姿勢から移動した状態であると前記判定手段が判定した場合に、前記現時点のユーザの姿勢が前記基準姿勢から移動した第1の方向とは逆の第2の方向に、前記ユーザが見ている前記表示画像の表示位置を移動させる表示移動手段と、を有することを特徴とする。
【発明の効果】
【0009】
本発明によれば、作業等を中断することなくユーザの姿勢を改善させることができる。
【図面の簡単な説明】
【0010】
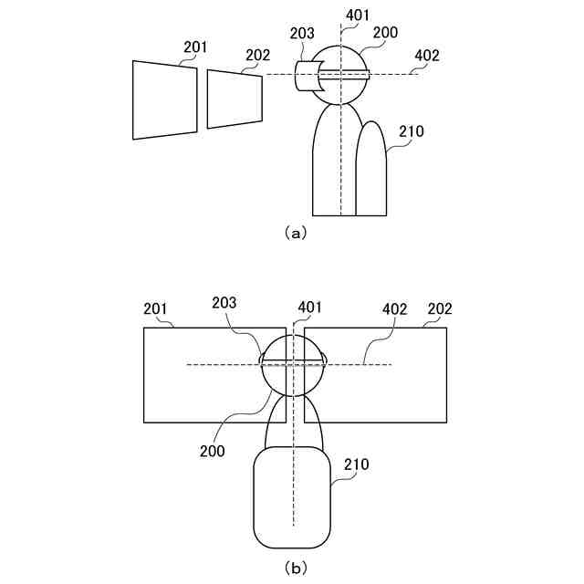
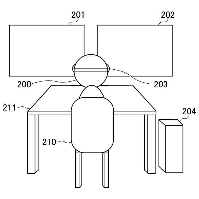
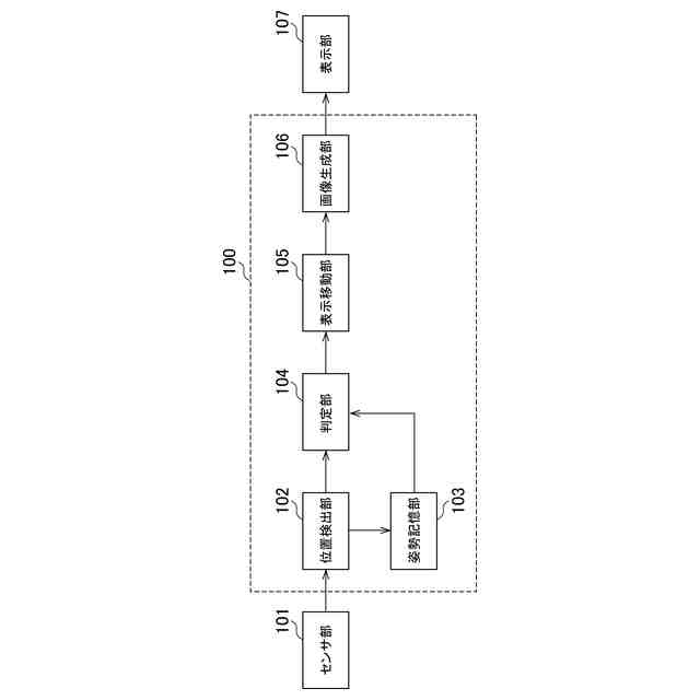
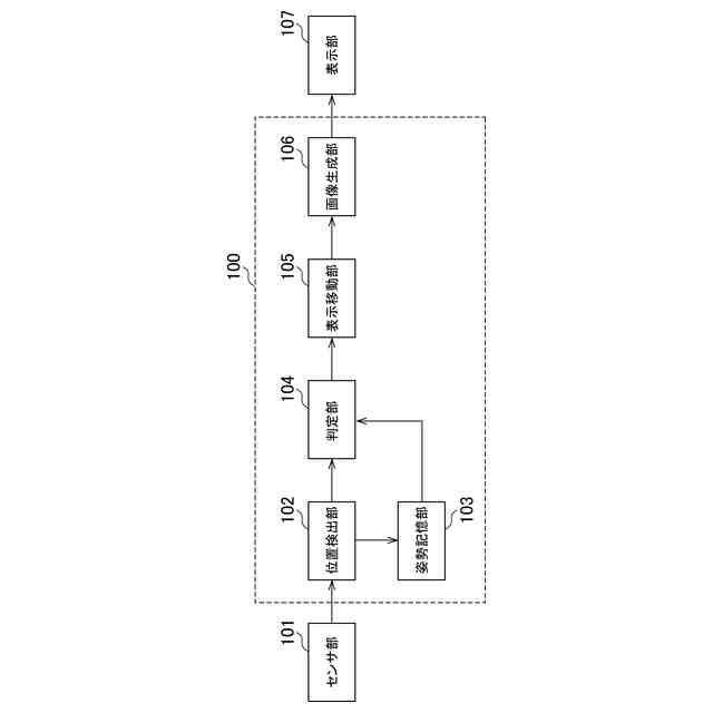
情報処理装置の基本構成例を示す図である。
仮想作業環境の一例を示す図である。
ガイダンス画面の一例を示す図である。
身体への負担が小さい姿勢(基準姿勢)の一例を示す図である。
身体への負担が大きい姿勢(悪い姿勢)の一例を示す図である。
各姿勢に対する仮想モニタの画像の移動例を示す図である。
第1の実施形態の情報処理装置を含む構成例を示す図である。
第1の実施形態に係る情報処理のフローチャートである。
第1の実施形態に係る姿勢判定処理のフローチャートである。
第2の実施形態の情報処理装置を含む構成例を示す図である。
第2の実施形態に係る情報処理のフローチャートである。
第3の実施形態の情報処理装置を含む構成例を示す図である。
視線の可動範囲の説明図である。
第3の実施形態に係る情報処理のフローチャートである。
第3の実施形態に係る姿勢判定処理のフローチャートである。
【発明を実施するための形態】
(【0011】以降は省略されています)
この特許をJ-PlatPat(特許庁公式サイト)で参照する
関連特許
キヤノン株式会社
容器
1か月前
キヤノン株式会社
容器
1か月前
キヤノン株式会社
トナー
1か月前
キヤノン株式会社
トナー
1か月前
キヤノン株式会社
記録装置
1か月前
キヤノン株式会社
表示装置
10日前
キヤノン株式会社
電子機器
1か月前
キヤノン株式会社
記録装置
4日前
キヤノン株式会社
撮像装置
18日前
キヤノン株式会社
撮像装置
18日前
キヤノン株式会社
記録装置
4日前
キヤノン株式会社
表示装置
10日前
キヤノン株式会社
撮像装置
3日前
キヤノン株式会社
撮像装置
3日前
キヤノン株式会社
定着装置
18日前
キヤノン株式会社
現像装置
1か月前
キヤノン株式会社
電子機器
1か月前
キヤノン株式会社
現像装置
1か月前
キヤノン株式会社
雲台装置
1か月前
キヤノン株式会社
撮像装置
3日前
キヤノン株式会社
二次電池
5日前
キヤノン株式会社
撮像装置
1か月前
キヤノン株式会社
発光装置
10日前
キヤノン株式会社
撮像装置
10日前
キヤノン株式会社
記録装置
1か月前
キヤノン株式会社
撮像装置
10日前
キヤノン株式会社
表示装置
10日前
キヤノン株式会社
表示装置
1か月前
キヤノン株式会社
撮像装置
1か月前
キヤノン株式会社
撮影装置
1か月前
キヤノン株式会社
撮像装置
1か月前
キヤノン株式会社
撮像装置
12日前
キヤノン株式会社
測距装置
1か月前
キヤノン株式会社
定着装置
18日前
キヤノン株式会社
記録装置
1か月前
キヤノン株式会社
撮像装置
1か月前
続きを見る
他の特許を見る