TOP
|
特許
|
意匠
|
商標
特許ウォッチ
Twitter
他の特許を見る
10個以上の画像は省略されています。
公開番号
2025177711
公報種別
公開特許公報(A)
公開日
2025-12-05
出願番号
2024084774
出願日
2024-05-24
発明の名称
画像形成装置、画像処理方法、及びプログラム
出願人
キヤノン株式会社
代理人
弁理士法人谷・阿部特許事務所
主分類
B41J
21/00 20060101AFI20251128BHJP(印刷;線画機;タイプライター;スタンプ)
要約
【課題】印刷工程に適した変倍処理を行う。
【解決手段】記録媒体に対し、印刷データに含まれるカラーデータの印刷及び定着と、前記印刷データに含まれる特色データの印刷及び定着とを重ねて実行する画像形成装置であって、第1の変倍率で前記印刷データを変倍し、色ごとのラスターデータを出力するラスタライズ処理を実行する第1処理手段と、前記色ごとのラスターデータのうち特色のラスターデータを前記第1の変倍率とは異なる第2の変倍率で変倍する第2処理手段と、を備える。
【選択図】図6
特許請求の範囲
【請求項1】
記録媒体に対し、印刷データに含まれるカラーデータの印刷及び定着と、前記印刷データに含まれる特色データの印刷及び定着とを重ねて実行する画像形成装置であって、
第1の変倍率で前記印刷データを変倍し、色ごとのラスターデータを出力するラスタライズ処理を実行する第1処理手段と、
前記色ごとのラスターデータのうち特色のラスターデータを前記第1の変倍率とは異なる第2の変倍率で変倍する第2処理手段と、
を備えることを特徴とする画像形成装置。
続きを表示(約 1,400 文字)
【請求項2】
前記第1の変倍率は、前記カラーデータの変倍率であり、
前記第2の変倍率は、前記特色データの変倍率を前記カラーデータの変倍率で補正した変倍率であることを特徴とする請求項1に記載の画像形成装置。
【請求項3】
前記カラーデータの変倍率の情報と前記特色データの変倍率の情報とを予め保持する保持手段と、
前記特色データの変倍率を前記カラーデータの変倍率で補正した差分倍率を決定する決定手段と、を更に備え、
前記第1処理手段は、前記第1の変倍率として前記保持手段に保持された前記カラーデータの変倍率を用いて前記印刷データを変倍処理し、
前記第2処理手段は、前記第2の変倍率として、前記決定手段により決定された前記差分倍率を用いて前記特色のラスターデータを変倍することを特徴とする請求項1に記載の画像形成装置。
【請求項4】
前記第1の変倍率の情報及び前記第2の変倍率の情報を予め保持する保持手段を更に備えることを特徴とする請求項1または請求項2に記載の画像形成装置。
【請求項5】
前記カラーデータは、シアンデータ、マゼンタデータ、イエローデータ、及びブラックデータのうち少なくとも1つを含み、
前記特色データは、少なくとも白色データを含むことを特徴とする請求項1に記載の画像形成装置。
【請求項6】
前記印刷データに前記特色データが含まれるかを解析する解析手段を更に備え、
前記解析手段が前記印刷データに前記特色データが含まれると解析した場合は、前記第1処理手段による処理及び前記第2処理手段による処理を実行し、
前記解析手段が前記印刷データに前記特色データが含まれないと解析した場合は、前記第1処理手段による処理を実行し、前記第2処理手段による処理を実行しないことを特徴とする請求項1に記載の画像形成装置。
【請求項7】
前記保持手段に保持されている前記カラーデータの変倍率と前記特色データの変倍率とが同一か否かを判定する判定手段を更に備え、
前記判定手段が前記カラーデータの変倍率と前記特色データの変倍率とが異なると判定した場合は、前記第1処理手段による処理及び前記第2処理手段による処理を実行し、
前記判定手段が前記カラーデータの変倍率と前記特色データの変倍率とが同一と判定した場合は、前記第1処理手段による処理を実行し、前記第2処理手段による処理を実行しないことを特徴とする請求項3に記載の画像形成装置。
【請求項8】
前記第1の変倍率及び前記第2の変倍率は、記録媒体の搬送方向及び記録媒体の幅方向にそれぞれ設定されることを特徴とした請求項1に記載の画像形成装置。
【請求項9】
前記第1の変倍率及び前記第2の変倍率は、前記記録媒体の種類ごとにそれぞれ設定されることを特徴とした請求項1に記載の画像形成装置。
【請求項10】
前記第1の変倍率は、前記特色データ及び前記カラーデータを印刷する第1印刷モードと、前記カラーデータを印刷し前記特色データを印刷しない第2印刷モードとでそれぞれ設定されることを特徴とした請求項1に記載の画像形成装置。
(【請求項11】以降は省略されています)
発明の詳細な説明
【技術分野】
【0001】
本開示は、画像形成装置、画像処理方法、及びプログラムに関する。
続きを表示(約 2,100 文字)
【背景技術】
【0002】
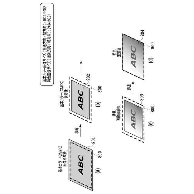
記録媒体に対しインクを吐出して画像を形成する画像形成装置において、記録媒体の同じ領域に複数回に分けて画像を形成する重ね刷りの手法が用いられることがある。例えば、基本カラーの下に特色を印刷した印刷結果を得るためには、一旦特色だけを記録媒体上に形成及び定着し、その上に、基本カラーを形成及び定着させる。定着の方法としては、例えば、インク吐出後に記録媒体を加熱する方法が知られている。ところが、この定着工程において記録媒体が伸縮してしまい、印刷結果の画像にズレが生じたり、予定外のサイズになってしまうことがある。つまり特色を形成したあと、1回目の定着により記録媒体が収縮した状態で基本カラーを形成すると、特色の画像と基本カラーの画像にズレが生じてしまう場合がある。また、基本カラー形成後の2回目の定着では記録媒体が膨張するため、印刷結果の基本カラーの部分がユーザ所望のサイズより拡大されてしまう場合がある。
【0003】
この問題に対して、特許文献1では、特色画像を拡大または縮小してから画像形成することで、特色と基本カラーのサイズのズレを解消する手法が提案されている。
【先行技術文献】
【特許文献】
【0004】
特開2015-102574号公報
【発明の概要】
【発明が解決しようとする課題】
【0005】
しかしながら、特許文献1の手法では、印刷工程に適した変倍処理を実現できない可能性がある。
本開示は、印刷工程に適した変倍処理を行うことが可能な画像形成装置を提供することを目的とする。
【課題を解決するための手段】
【0006】
本開示に係る画像形成装置は、記録媒体に対し、印刷データに含まれるカラーデータの印刷及び定着と、前記印刷データに含まれる特色データの印刷及び定着とを重ねて実行する画像形成装置であって、第1の変倍率で前記印刷データを変倍し、色ごとのラスターデータを出力するラスタライズ処理を実行する第1処理手段と、前記色ごとのラスターデータのうち特色のラスターデータを前記第1の変倍率とは異なる第2の変倍率で変倍する第2処理手段と、を備える。
【発明の効果】
【0007】
本開示によれば、印刷工程に適した変倍処理を行うことが可能となる。
【図面の簡単な説明】
【0008】
本開示に係る画像形成装置を含むシステムの全体構成の例を示す図である。
画像形成装置の機能構成を示すブロック図である。
画像形成処理の流れを示すフローチャートである。
印刷画像生成処理の流れを示すフローチャートである。
変倍率テーブルの一例を示す図である。
印刷画像生成処理及びデータの流れを示す図である。
印刷の過程における記録媒体上の画像サイズの変遷を示す図である。
第2の実施形態における記録媒体上の画像サイズの変遷の例を示す図である。
第2の実施形態における変倍率テーブルの例を示す図である。
第2の実施形態の印刷画像生成処理及びデータの流れを示す図である。
第3の実施形態における記録媒体上の画像サイズの変遷の例を示す図である。
第3の実施形態における変倍率テーブルの例を示す図である。
第3の実施形態における印刷画像生成処理及びデータの流れを示す図である。
変倍率テーブルの別の例を示す図である。
【発明を実施するための形態】
【0009】
以下、本開示の実施形態について図面を参照しながら詳細に説明する。しかしながら、以下の実施形態に記載される構成はあくまで例示に過ぎず、本開示の範囲は実施形態に記載される構成によって限定されることはない。なお、同一の構成、処理については同一符号を付して説明する。
【0010】
<第1の実施形態>
図1は、本開示の第1の実施形態に係る画像形成システム200の構成例を示す図である。画像形成システム200は、連続した画像形成が可能なロール状の記録媒体である連続紙(以下、ロール紙111という)に画像を形成する。画像形成システム200は、別館116及び本館115を有する画像形成装置100と、給紙装置104と、排紙装置105と、UI操作パネル101と、制御用PC119とを有する。別館116は、前刷り印刷として特色印刷を行う。特色印刷では、例えば、印刷データに含まれる白データの印刷が行われる。本館115は、追い刷り印刷として基本カラー印刷を行う。基本カラー印刷では、例えば、印刷データに含まれる基本カラーデータ(シアン(C)、マゼンタ(M)、イエロー(Y)、ブラック(K))の印刷が行われる。すなわち、画像形成装置100は、前刷り及び追い刷り印刷を行うデジタル印刷機であるともいえる。
(【0011】以降は省略されています)
この特許をJ-PlatPat(特許庁公式サイト)で参照する
関連特許
キヤノン株式会社
容器
1か月前
キヤノン株式会社
容器
1か月前
キヤノン株式会社
トナー
1か月前
キヤノン株式会社
トナー
1か月前
キヤノン株式会社
撮像装置
1か月前
キヤノン株式会社
撮像装置
10日前
キヤノン株式会社
記録装置
1か月前
キヤノン株式会社
電子機器
1か月前
キヤノン株式会社
記録装置
4日前
キヤノン株式会社
雲台装置
1か月前
キヤノン株式会社
電子機器
26日前
キヤノン株式会社
記録装置
4日前
キヤノン株式会社
撮像装置
3日前
キヤノン株式会社
撮像装置
3日前
キヤノン株式会社
撮像装置
3日前
キヤノン株式会社
撮像装置
1か月前
キヤノン株式会社
記録装置
1か月前
キヤノン株式会社
撮像装置
26日前
キヤノン株式会社
撮像装置
1か月前
キヤノン株式会社
定着装置
24日前
キヤノン株式会社
二次電池
5日前
キヤノン株式会社
記録装置
24日前
キヤノン株式会社
定着装置
24日前
キヤノン株式会社
定着装置
24日前
キヤノン株式会社
発光装置
10日前
キヤノン株式会社
定着装置
18日前
キヤノン株式会社
撮像装置
18日前
キヤノン株式会社
撮像装置
18日前
キヤノン株式会社
定着装置
18日前
キヤノン株式会社
撮像装置
12日前
キヤノン株式会社
表示装置
10日前
キヤノン株式会社
表示装置
10日前
キヤノン株式会社
表示装置
10日前
キヤノン株式会社
測距装置
1か月前
キヤノン株式会社
電子機器
1か月前
キヤノン株式会社
撮像装置
3日前
続きを見る
他の特許を見る