TOP
|
特許
|
意匠
|
商標
特許ウォッチ
Twitter
他の特許を見る
公開番号
2025177233
公報種別
公開特許公報(A)
公開日
2025-12-05
出願番号
2024083869
出願日
2024-05-23
発明の名称
二酸化炭素の回収装置、および、二酸化炭素の回収方法
出願人
キヤノン株式会社
代理人
個人
,
個人
,
個人
,
個人
,
個人
主分類
B01D
19/00 20060101AFI20251128BHJP(物理的または化学的方法または装置一般)
要約
【課題】 本発明は低エネルギーコストにて高純度の二酸化炭素を回収する二酸化炭素の回収方法を提供することを目的とする。
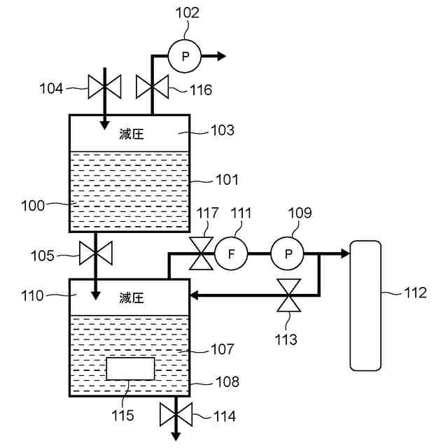
【解決手段】 本発明の一態様における二酸化炭素の回収装置は、大気と内部空間とを隔てる隔壁から構成され、内部空間に二酸化炭素を含む気体が溶解した第一の液体を貯留し、第一の液体が満たされていない第一の空間に第一の気体を滞留させている第一の貯留部と、第一の空間に滞留する前記第一の気体から不純ガスを除去する不純ガス除去部と、大気と内部空間とを隔てる隔壁から構成され、不純ガス除去部により処理された第一の液体から得られる第二の液体を貯留し、第二の液体が満たされていない第二の空間に第二の気体を滞留させている第二の貯留部と、第二の気体から二酸化炭素を回収して蓄積する蓄積部と、を有する。
【選択図】 図1
特許請求の範囲
【請求項1】
大気と内部空間とを隔てる隔壁から構成され、前記内部空間に二酸化炭素を含む気体が溶解した第一の液体を貯留し、前記第一の液体が満たされていない第一の空間に第一の気体を滞留させている第一の貯留部と、
前記第一の空間に滞留する前記第一の気体から不純ガスを除去する不純ガス除去部と、
大気と内部空間とを隔てる隔壁から構成され、前記不純ガス除去部により処理された前記第一の液体から得られる第二の液体を貯留し、前記第二の液体が満たされていない第二の空間に第二の気体を滞留させている第二の貯留部と、
前記第二の気体から二酸化炭素を回収して蓄積する蓄積部と、を有することを特徴とする二酸化炭素の回収装置。
続きを表示(約 820 文字)
【請求項2】
大気と内部空間とを隔てる隔壁から構成され、前記内部空間に二酸化炭素を含む気体が溶解した第一の液体を貯留し、前記第一の液体が満たされていない空間に第一の気体を滞留させている貯留部と、
前記空間に滞留する前記第一の気体から不純ガスを除去する不純ガス除去部と、
前記第一の気体が前記不純ガス除去部により処理された後、前記第一の液体から得られた第二の液体が前記貯留部に貯留され、前記内部空間における前記第二の液体の満たされていない空間に滞留する第二の気体から二酸化炭素を回収して蓄積する蓄積部と、
を有することを特徴とする二酸化炭素の回収装置。
【請求項3】
前記不純ガスは、窒素、もしくは酸素の少なくとも一方を含む請求項1または2記載の二酸化炭素の回収装置。
【請求項4】
前記液体を貯留する貯留部は、いずれか、もしくは全てが大気圧に対して減圧されていることを特徴とする請求項1または2記載の二酸化炭素の回収装置。
【請求項5】
前記貯留部に貯留する液体は、液体の自重によって排水することを特徴とすることを特徴とする請求項1または2記載の二酸化炭素の回収装置。
【請求項6】
前記二酸化炭素が溶解した液体は、サイフォンの原理によって循環することを特徴とする請求項1または2記載の二酸化炭素の回収装置。
【請求項7】
前記内部空間に二酸化炭素が溶解した液体を貯留する貯留部は、トリチェリの真空空間を有することを特徴とする請求項1または2記載の二酸化炭素の回収装置。
【請求項8】
ガス放出促進は、加熱、減圧、加振、多孔質体の、少なくとも一つである請求項1または2記載の二酸化炭素の回収装置。
【請求項9】
前記第二の貯留部は、二酸化炭素で真空リークする請求項1記載の二酸化炭素の回収装置。
発明の詳細な説明
【技術分野】
【0001】
この発明は、液体を減圧によって脱気した後に、液体を加熱・減圧して二酸化炭素を回収することによって、二酸化炭素の純度を高める二酸化炭素の回収装置、および、二酸化炭素の回収方法に関するものである。
続きを表示(約 1,600 文字)
【背景技術】
【0002】
地球温暖化対策として大気中の二酸化炭素量を減らすことによる地球環境負荷低減が世界的に求められている。このためには二酸化炭素の排出量削減と、併せて大気中に存在する二酸化炭素を回収することによる大気中の二酸化炭素濃度の低減、との2つが必要である。大気中の二酸化濃度は400ppm程度と希薄であり、大気中の二酸化炭素濃度を低減させるためには、回収のためのエネルギーとして新たな二酸化炭素の放出を極力少なくする方法でなければ二酸化炭素濃度の低減はできない。
【0003】
新たな二酸化炭素を放出することなく二酸化炭素を回収する手段の一つとして、海水や淡水を介して二酸化炭素を回収する方法がある。海水や淡水には大気中に含まれる二酸化炭素が溶け込んでおり、前述の海水や淡水から減圧によって二酸化炭素を取り出す方法が知られている。
【0004】
特許文献1には、一端が海水に浸された海水循環ラインに設けられた再生タンクを減圧し、海水中に溶解している二酸化炭素を分離する、二酸化炭素を回収するシステムが記載されている。具体的には、海水の二酸化炭素を取り除くために、減圧空間で気泡化した二酸化炭素を分離し、二酸化炭素を回収するシステムである。
【0005】
しかしながら、特許文献1に記載の装置は、ピトー管効果によって再生タンク内を減圧する方式であり、5MPaの高圧力が掛かる加圧タンクを含む液体の循環路に対して液体を循環させる高圧ポンプが必要となるため大きな電力が必要である。このため低エネルギーコストにて高純度の二酸化炭素を回収する二酸化炭素の回収方法が望まれる。
【先行技術文献】
【特許文献】
【0006】
特開2023-048054
【発明の概要】
【発明が解決しようとする課題】
【0007】
本発明は低エネルギーコストにて高純度の二酸化炭素を回収する二酸化炭素の回収方法を提供することを目的とする。
【課題を解決するための手段】
【0008】
上記の課題を解決するため、本発明の一態様における二酸化炭素の回収装置は、大気と内部空間とを隔てる隔壁から構成され、前記内部空間に二酸化炭素を含む気体が溶解した第一の液体を貯留し、前記第一の液体が満たされていない第一の空間に第一の気体を滞留させている第一の貯留部と、
前記第一の空間に滞留する前記第一の気体から不純ガスを除去する不純ガス除去部と、
大気と内部空間とを隔てる隔壁から構成され、前記不純ガス除去部により処理された前記第一の液体から得られる第二の液体を貯留し、前記第二の液体が満たされていない第二の空間に第二の気体を滞留させている第二の貯留部と、
前記第二の気体から二酸化炭素を回収して蓄積する蓄積部と、を有することを特徴とする。
【0009】
また本発明の別の態様は、大気と内部空間とを隔てる隔壁から構成され、前記内部空間に二酸化炭素を含む気体が溶解した第一の液体を貯留し、前記第一の液体が満たされていない空間に第一の気体を滞留させている貯留部と、
前記空間に滞留する前記第一の気体から不純ガスを除去する不純ガス除去部と、
前記第一の気体が前記不純ガス除去部により処理された後、前記第一の液体から得られた第二の液体が前記貯留部に貯留され、前記内部空間における前記第二の液体の満たされていない空間に滞留する第二の気体から二酸化炭素を回収して蓄積する蓄積部と、
を有することを特徴とする二酸化炭素の回収装置である。
【発明の効果】
【0010】
本発明によれば、低エネルギーコストで液体から回収する二酸化炭素の純度を向上する二酸化炭素回収装置とすることができる。
【図面の簡単な説明】
(【0011】以降は省略されています)
この特許をJ-PlatPat(特許庁公式サイト)で参照する
関連特許
キヤノン株式会社
容器
1か月前
キヤノン株式会社
容器
1か月前
キヤノン株式会社
トナー
1か月前
キヤノン株式会社
トナー
1か月前
キヤノン株式会社
記録装置
4日前
キヤノン株式会社
現像装置
1か月前
キヤノン株式会社
撮像装置
10日前
キヤノン株式会社
撮像装置
1か月前
キヤノン株式会社
雲台装置
1か月前
キヤノン株式会社
撮像装置
1か月前
キヤノン株式会社
記録装置
4日前
キヤノン株式会社
電子機器
26日前
キヤノン株式会社
撮像装置
3日前
キヤノン株式会社
撮像装置
3日前
キヤノン株式会社
電子機器
1か月前
キヤノン株式会社
記録装置
1か月前
キヤノン株式会社
電子機器
1か月前
キヤノン株式会社
記録装置
1か月前
キヤノン株式会社
撮像装置
3日前
キヤノン株式会社
定着装置
24日前
キヤノン株式会社
撮像装置
26日前
キヤノン株式会社
二次電池
5日前
キヤノン株式会社
記録装置
24日前
キヤノン株式会社
定着装置
24日前
キヤノン株式会社
定着装置
24日前
キヤノン株式会社
測距装置
1か月前
キヤノン株式会社
発光装置
10日前
キヤノン株式会社
定着装置
18日前
キヤノン株式会社
撮像装置
18日前
キヤノン株式会社
撮像装置
18日前
キヤノン株式会社
定着装置
18日前
キヤノン株式会社
撮像装置
12日前
キヤノン株式会社
表示装置
10日前
キヤノン株式会社
表示装置
10日前
キヤノン株式会社
撮像装置
10日前
キヤノン株式会社
撮像装置
1か月前
続きを見る
他の特許を見る