TOP
|
特許
|
意匠
|
商標
特許ウォッチ
Twitter
他の特許を見る
公開番号
2025177559
公報種別
公開特許公報(A)
公開日
2025-12-05
出願番号
2024084508
出願日
2024-05-24
発明の名称
通信装置、通信装置の制御方法、及びプログラム
出願人
キヤノン株式会社
代理人
個人
主分類
H04W
64/00 20090101AFI20251128BHJP(電気通信技術)
要約
【課題】測距対象となる通信装置のUWB通信機能が無効であることに起因する測距エラーの発生を未然に防ぐことができる通信装置を提供する。
【解決手段】通信装置101は、UWB通信を行うためのUWB通信部218と、BLE通信を行うためのBLE通信部213とを備える。通信装置101は、BLE通信によって測距対象の通信装置102から取得した情報に基づいて測距対象の通信装置102のUWB通信機能が有効及び無効の何れであるかを判定する。通信装置101は、測距対象の通信装置102のUWB通信機能が有効であると判定された場合に、TWRによる測距方式を用いて、測距対象の通信装置102との測距を行う。
【選択図】図2
特許請求の範囲
【請求項1】
通信装置であって、
測距のための無線通信を行う第1の通信手段と、
前記無線通信と異なる通信規格の通信を行う第2の通信手段と、
前記第2の通信手段を用いて測距対象となる通信装置から取得した情報に基づいて、前記測距対象となる通信装置において前記無線通信を行うための機能が有効及び無効の何れであるかを判定する判定手段と、
前記測距対象となる通信装置において前記無線通信を行うための機能が有効であると判定された場合に、前記第1の通信手段を用いて前記通信装置と前記測距対象となる通信装置との測距を行う測距手段とを備えることを特徴とする通信装置。
続きを表示(約 1,300 文字)
【請求項2】
前記測距対象となる通信装置において前記無線通信を行うための機能が無効であると判定された場合に、前記測距対象となる通信装置において前記無線通信を行うための機能を有効にするための制御を行う制御手段を更に備えることを特徴とする請求項1に記載の通信装置。
【請求項3】
前記無線通信を行うための機能を有効にするための制御は、前記測距対象となる通信装置において前記無線通信を行うための機能が無効であることを通知する制御であることを特徴とする請求項2に記載の通信装置。
【請求項4】
前記制御手段は、前記測距対象となる通信装置において前記無線通信を行うための機能が無効であることを示すメッセージを前記通信装置の表示部に表示させることを特徴とする請求項3に記載の通信装置。
【請求項5】
前記制御手段は、前記測距対象となる通信装置における前記無線通信を行うための機能の有効化を促すメッセージを前記測距対象となる通信装置の表示部に表示させる制御を行うことを特徴とする請求項3に記載の通信装置。
【請求項6】
前記無線通信を行うための機能を有効にするための制御は、前記測距対象となる通信装置において前記無線通信を行うための機能を有効に変更する制御であることを特徴とする請求項2に記載の通信装置。
【請求項7】
前記無線通信は、UWB(Ultra Wide Band)規格に従った無線通信であることを特徴とする請求項1に記載の通信装置。
【請求項8】
前記無線通信と異なる通信規格の通信は、BLE(Bluetooth Low Energy)規格に従った無線通信であることを特徴とする請求項1に記載の通信装置。
【請求項9】
測距のための無線通信を行う第1の通信手段と、前記無線通信と異なる通信規格の通信を行う第2の通信手段とを備える通信装置の制御方法であって、
前記第2の通信手段を用いて測距対象となる通信装置から取得した情報に基づいて、前記測距対象となる通信装置において前記無線通信を行うための機能が有効及び無効の何れであるかを判定する工程と、
前記測距対象となる通信装置において前記無線通信を行うための機能が有効であると判定された場合に、前記第1の通信手段を用いて前記通信装置と前記測距対象となる通信装置との測距を行う工程とを有することを特徴とする通信装置の制御方法。
【請求項10】
測距のための無線通信を行う第1の通信手段と、前記無線通信と異なる通信規格の通信を行う第2の通信手段とを備える通信装置の制御方法をコンピュータに実行させるプログラムであって、
前記通信装置の制御方法は、
前記第2の通信手段を用いて測距対象となる通信装置から取得した情報に基づいて、前記測距対象となる通信装置において前記無線通信を行うための機能が有効及び無効の何れであるかを判定する工程と、
前記測距対象となる通信装置において前記無線通信を行うための機能が有効であると判定された場合に、前記第1の通信手段を用いて前記通信装置と前記測距対象となる通信装置との測距を行う工程とを有することを特徴とするプログラム。
発明の詳細な説明
【技術分野】
【0001】
本発明は、通信装置、通信装置の制御方法、及びプログラムに関する。
続きを表示(約 1,700 文字)
【背景技術】
【0002】
スマートフォンやタブレット端末といった高性能な通信装置が普及している。このような通信装置では、BLE(Bluetooth Low Energy)やUWB(Ultra Wide Band)等といった様々な通信規格の無線通信を行うことができる。通信装置は、これらの無線通信を利用して、例えば、他の通信装置までの距離を測定することができる。関連する技術として、特許文献1の技術が提案されている。特許文献1では、通信装置は、UWB通信を行うために必要なConfig情報を測距対象となる他の通信装置からBLE通信によって取得し、取得したConfig情報を用いてUWB通信によって他の通信装置との測距を行う。
【先行技術文献】
【特許文献】
【0003】
特開2022-50385号公報
【発明の概要】
【発明が解決しようとする課題】
【0004】
UWB通信による測距では、双方の通信装置においてUWB通信機能を有効に設定しておく必要がある。しかし、UWB通信機能は、ユーザの意思によって有効/無効を設定できるため、例えば、測距対象となる他の通信装置のUWB通信機能が無効に設定されていると、UWB通信による測距を行うことができない。
【0005】
本発明は、測距対象となる通信装置のUWB通信機能が無効であることに起因する測距エラーの発生を未然に防ぐことができる通信装置、通信装置の制御方法、及びプログラムを提供することを目的とする。
【課題を解決するための手段】
【0006】
上記目的を達成するために、本発明の通信装置は、通信装置であって、測距のための無線通信を行う第1の通信手段と、前記無線通信と異なる通信規格の通信を行う第2の通信手段と、前記第2の通信手段を用いて測距対象となる通信装置から取得した情報に基づいて、前記測距対象となる通信装置において前記無線通信を行うための機能が有効及び無効の何れであるかを判定する判定手段と、前記測距対象となる通信装置において前記無線通信を行うための機能が有効であると判定された場合に、前記第1の通信手段を用いて前記通信装置と前記測距対象となる通信装置との測距を行う測距手段とを備えることを特徴とする。
【発明の効果】
【0007】
本発明によれば、測距対象となる通信装置のUWB通信機能が無効であることに起因する測距エラーの発生を未然に防ぐことができる。
【図面の簡単な説明】
【0008】
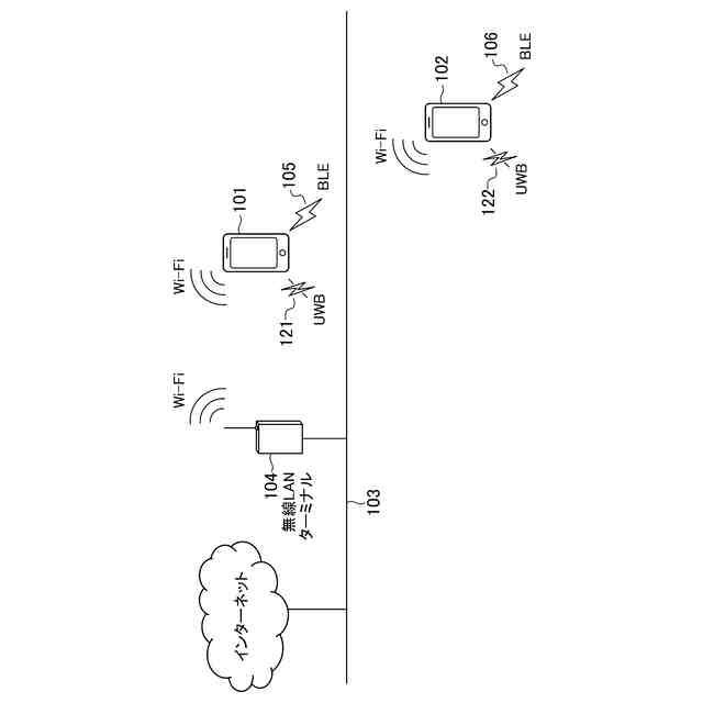
本発明の実施の形態に係る通信装置を含む通信システムの構成例を示すネットワーク図である。
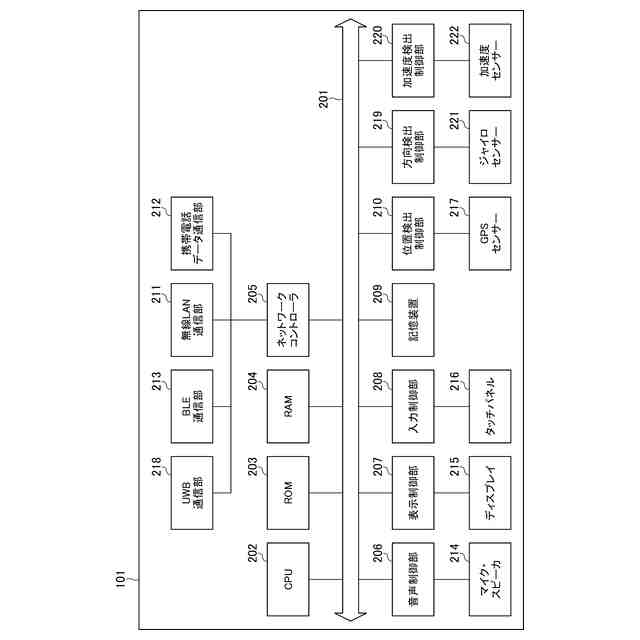
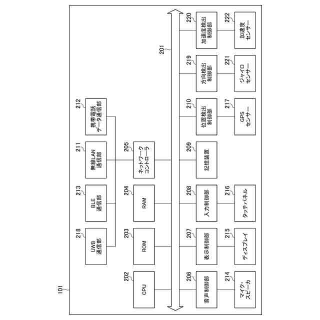
図1の通信装置のハードウェア構成を概略的に示すブロック図である。
図1の通信装置のソフトウェア構成を概略的に示すブロック図である。
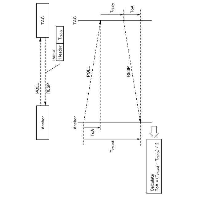
本実施の形態におけるUWB通信による測距を説明するための図である。
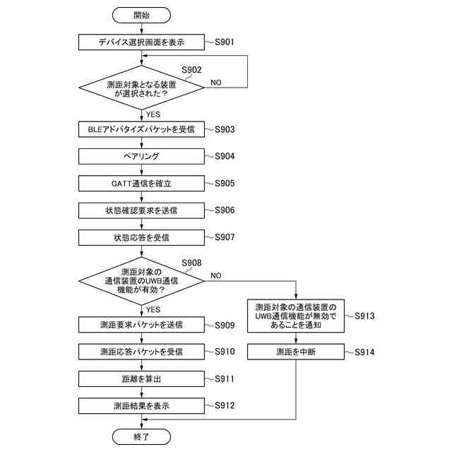
図1の通信装置によって実行される制御処理の手順を示すフローチャートである。
図2のディスプレイに表示される画面の一例を示す図である。
図5のS506のデバイス登録処理の手順を示すフローチャートである。
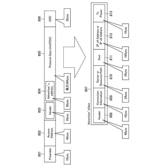
本実施の形態において用いられるBLEアドバタイズパケットの一例を示す図である。
図5のS507の測距制御処理の手順を示すフローチャートである。
図5のS507の測距制御処理の別の手順を示すフローチャートである。
【発明を実施するための形態】
【0009】
以下、本実施の形態を実施するための最良の形態について図面を用いて説明する。なお、本実施の形態では、スマートフォンやタブレット端末といった携帯端末を通信装置の一例として説明するが、特許請求の範囲に係る本発明を限定するものではない。また、実施の形態で説明されている特徴の組み合わせの全てが発明の解決手段に必須のものとは限らない。
【0010】
図1は、本発明の実施の形態に係る通信装置101を含む通信システムの構成例を示すネットワーク図である。
(【0011】以降は省略されています)
この特許をJ-PlatPat(特許庁公式サイト)で参照する
関連特許
キヤノン株式会社
容器
1か月前
キヤノン株式会社
容器
1か月前
キヤノン株式会社
トナー
1か月前
キヤノン株式会社
トナー
1か月前
キヤノン株式会社
記録装置
4日前
キヤノン株式会社
定着装置
24日前
キヤノン株式会社
記録装置
24日前
キヤノン株式会社
記録装置
4日前
キヤノン株式会社
撮像装置
3日前
キヤノン株式会社
撮像装置
3日前
キヤノン株式会社
測距装置
1か月前
キヤノン株式会社
撮像装置
3日前
キヤノン株式会社
撮像装置
1か月前
キヤノン株式会社
定着装置
24日前
キヤノン株式会社
記録装置
1か月前
キヤノン株式会社
撮像装置
1か月前
キヤノン株式会社
二次電池
5日前
キヤノン株式会社
発光装置
10日前
キヤノン株式会社
撮像装置
1か月前
キヤノン株式会社
定着装置
18日前
キヤノン株式会社
撮像装置
18日前
キヤノン株式会社
撮像装置
18日前
キヤノン株式会社
現像装置
1か月前
キヤノン株式会社
表示装置
10日前
キヤノン株式会社
表示装置
10日前
キヤノン株式会社
撮像装置
10日前
キヤノン株式会社
撮像装置
1か月前
キヤノン株式会社
定着装置
18日前
キヤノン株式会社
記録装置
1か月前
キヤノン株式会社
撮像装置
10日前
キヤノン株式会社
表示装置
10日前
キヤノン株式会社
表示装置
1か月前
キヤノン株式会社
撮像装置
12日前
キヤノン株式会社
撮像装置
1か月前
キヤノン株式会社
定着装置
24日前
キヤノン株式会社
撮像装置
3日前
続きを見る
他の特許を見る