TOP
|
特許
|
意匠
|
商標
特許ウォッチ
Twitter
他の特許を見る
公開番号
2025177232
公報種別
公開特許公報(A)
公開日
2025-12-05
出願番号
2024083868
出願日
2024-05-23
発明の名称
二酸化炭素の回収装置、および、二酸化炭素の回収方法
出願人
キヤノン株式会社
代理人
個人
,
個人
,
個人
,
個人
,
個人
主分類
B01D
19/00 20060101AFI20251128BHJP(物理的または化学的方法または装置一般)
要約
【課題】 真空ポンプの負荷をより低減した、液体中の二酸化炭素を回収する、二酸化炭素の回収装置を提供する。
【解決手段】 そのための解決手段は、大気と内部空間とを隔てる隔壁から構成され、前記内部空間に二酸化炭素が溶解した液体を貯留する貯留部と、前記内部空間に存在する気体を吸引することにより、前記液体を揚上させる吸引部と、前記大気に面する前記液体の給水面と貯留された前記液体が前記内部空間に形成した水面との鉛直方向距離を調整するアジャスタと、
前記内部空間から回収された二酸化炭素を蓄積する蓄積部と、を備えた二酸化炭素の回収装置である。
【選択図】 図3
特許請求の範囲
【請求項1】
大気と内部空間とを隔てる隔壁から構成され、前記内部空間に二酸化炭素が溶解した液体を貯留する貯留部と、
前記内部空間に存在する気体を吸引することにより、前記液体を揚上させる吸引部と、
前記大気に面する前記液体の給水面と貯留された前記液体が前記内部空間に形成した水面との鉛直方向距離を調整するアジャスタと、
前記内部空間から回収された二酸化炭素を蓄積する蓄積部と、
を備えた二酸化炭素の回収装置。
続きを表示(約 460 文字)
【請求項2】
前記液体の揚上に伴い形成されたトリチェリの真空空間から回収されることを特徴とする請求項1記載の二酸化炭素の回収装置。
【請求項3】
前記アジャスタは、前記貯留部内の真空度制御によるアジャスタである請求項1記載の二酸化炭素の回収装置。
【請求項4】
前記アジャスタは、前記貯留部内の液体を排出する排水口の位置高さである請求項1記載の二酸化炭素の回収装置。
【請求項5】
前記アジャスタは、前記液体の給水口に設けたプールの液面高さと、前記液体の排水口に設けたプールの液面高さによって調整する請求項1記載の二酸化炭素の回収装置。
【請求項6】
前記アジャスタは、前記貯留部の位置高さを調節する位置高さ調整器である請求項1記載の二酸化炭素の回収装置。
【請求項7】
前記アジャスタは、前記貯留部へ前記液体を揚水する揚水量と、前記貯留部から前記液体を排水する排水量とを制御するアジャスタである請求項1記載の二酸化炭素の回収装置。
発明の詳細な説明
【技術分野】
【0001】
この発明は、二酸化炭素の回収装置に関するものである。
続きを表示(約 1,600 文字)
【背景技術】
【0002】
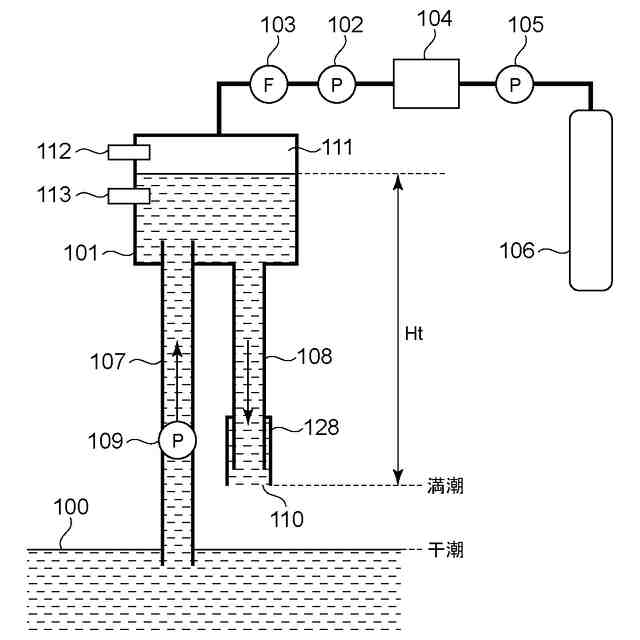
地球温暖化対策として大気中の二酸化炭素量を減らすことによる地球環境負荷低減が世界的に求められている。このためには二酸化炭素の排出量削減と、併せて大気中に存在する二酸化炭素を回収することによる大気中の二酸化炭素濃度の低減、との2つが必要である。大気中の二酸化濃度は400ppm程度と希薄であり、大気中の二酸化炭素濃度を低減させるためには、回収のためのエネルギーとして新たな二酸化炭素の放出を極力少なくする方法でなければ二酸化炭素濃度の低減はできない。
【0003】
新たな二酸化炭素を放出することなく二酸化炭素を回収する手段の一つとして、海水や淡水を介して二酸化炭素を回収する方法がある。海水や淡水には大気中に含まれる二酸化炭素が溶け込んでおり、前述の海水や淡水から減圧によって二酸化炭素を取り出す方法が知られている。
【0004】
特許文献1には、一端が海水に浸された海水循環ラインに設けられた再生タンクを減圧し、海水中に溶解している二酸化炭素を分離する、二酸化炭素を回収するシステムが記載されている。具体的には、海水の二酸化炭素を取り除くために、減圧空間で気泡化した二酸化炭素を分離し、二酸化炭素を回収するシステムである。
【0005】
しかしながら、特許文献1に記載の装置は、海水を循環させるとともに減圧して揚水するため、再生タンク内の水位は海水面の潮位変化に応じて変動する。海水面の潮位変化の大きさは地域によって異なるが、例えば日本における太平洋沿岸では2m程度の潮位差が生じ、有明海では6m程度の潮位差が生じる。このため前述の再生タンクは潮位変動に対応する高さ方向に対する大きさが必要となり、再生タンクが巨大化することに伴う真空ポンプの負荷が大きかった。
【先行技術文献】
【特許文献】
【0006】
特開2023-048054
【発明の概要】
【発明が解決しようとする課題】
【0007】
本発明は真空ポンプの負荷をより低減した、液体中の二酸化炭素を回収する、二酸化炭素の回収装置を提供することを目的とする。
【課題を解決するための手段】
【0008】
上記の課題を解決するため、本発明の一態様における二酸化炭素の回収装置は、大気と内部空間とを隔てる隔壁から構成され、前記内部空間に二酸化炭素が溶解した液体を貯留する貯留部と、
前記内部空間に存在する気体を吸引することにより、前記液体を揚上させる吸引部と、
前記大気に面する前記液体の給水面と貯留された前記液体が前記内部空間に形成した水面との鉛直方向距離を調整するアジャスタと、前記内部空間から回収された二酸化炭素を蓄積する蓄積部と、を有することを特徴とする。
【発明の効果】
【0009】
本発明によれば、真空ポンプの負荷をより低減した、液体中の二酸化炭素を回収する、二酸化炭素の回収装置を提供することができる。
【図面の簡単な説明】
【0010】
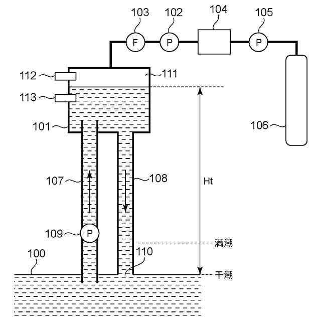
本発明の第1の実施形態に係る二酸化炭素の回収装置の概要図。
本発明の第1の実施形態に係る圧力と揚水高さの関係を示す模式図と、二酸化炭素水溶液の減圧した場合のCO2溶存量と減圧時間の関係を示す模式図。
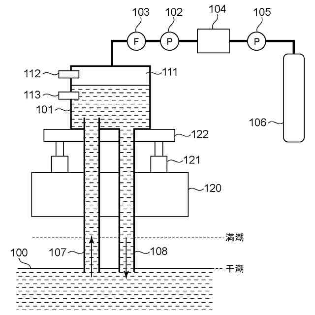
本発明の第2の実施形態に係る二酸化炭素の回収装置の概要図。
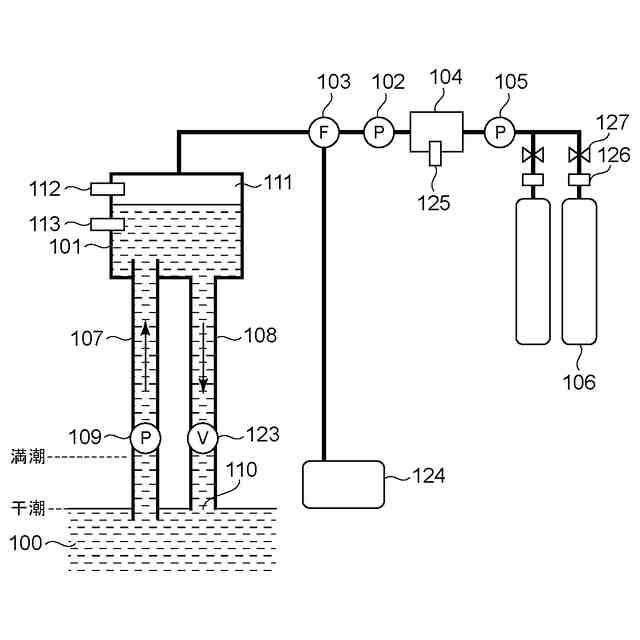
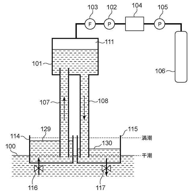
本発明の第3の実施形態に係る二酸化炭素の回収装置の概要図。
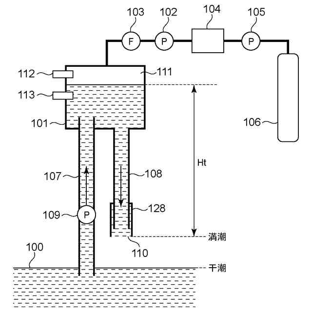
本発明の第4の実施形態に係る二酸化炭素の回収装置の概要図。
本発明の第5の実施形態に係る二酸化炭素の回収装置の概要図。
【発明を実施するための形態】
(【0011】以降は省略されています)
この特許をJ-PlatPat(特許庁公式サイト)で参照する
関連特許
キヤノン株式会社
容器
1か月前
キヤノン株式会社
容器
1か月前
キヤノン株式会社
トナー
1か月前
キヤノン株式会社
表示装置
3日前
キヤノン株式会社
電子機器
1か月前
キヤノン株式会社
雲台装置
1か月前
キヤノン株式会社
記録装置
1か月前
キヤノン株式会社
測距装置
1か月前
キヤノン株式会社
記録装置
4日前
キヤノン株式会社
撮像装置
12日前
キヤノン株式会社
定着装置
24日前
キヤノン株式会社
撮像装置
3日前
キヤノン株式会社
定着装置
24日前
キヤノン株式会社
撮像装置
3日前
キヤノン株式会社
撮像装置
3日前
キヤノン株式会社
撮像装置
3日前
キヤノン株式会社
記録装置
1か月前
キヤノン株式会社
撮像装置
3日前
キヤノン株式会社
定着装置
18日前
キヤノン株式会社
撮像装置
18日前
キヤノン株式会社
発光装置
10日前
キヤノン株式会社
表示装置
10日前
キヤノン株式会社
二次電池
5日前
キヤノン株式会社
表示装置
10日前
キヤノン株式会社
定着装置
18日前
キヤノン株式会社
表示装置
10日前
キヤノン株式会社
定着装置
24日前
キヤノン株式会社
撮像装置
10日前
キヤノン株式会社
撮像装置
1か月前
キヤノン株式会社
撮像装置
1か月前
キヤノン株式会社
撮像装置
1か月前
キヤノン株式会社
撮像装置
18日前
キヤノン株式会社
撮像装置
1か月前
キヤノン株式会社
記録装置
1か月前
キヤノン株式会社
電子機器
1か月前
キヤノン株式会社
撮像装置
1か月前
続きを見る
他の特許を見る