TOP
|
特許
|
意匠
|
商標
特許ウォッチ
Twitter
他の特許を見る
10個以上の画像は省略されています。
公開番号
2025177878
公報種別
公開特許公報(A)
公開日
2025-12-05
出願番号
2024085021
出願日
2024-05-24
発明の名称
印刷検査装置、印刷検査装置の制御方法及びプログラム
出願人
キヤノン株式会社
代理人
弁理士法人大塚国際特許事務所
主分類
B41J
29/393 20060101AFI20251128BHJP(印刷;線画機;タイプライター;スタンプ)
要約
【課題】ユーザが欠陥印刷物を再印刷物と差し替える手間を軽減するための技術を提供する。
【解決手段】印刷物を検査する印刷検査装置であって、複数の印刷物を読み取ってデータを検査する検査実行部と、前記検査実行部により正常と判定された正常印刷物を第1の排出部へ排出し、前記検査実行部により欠陥ありと判定された欠陥印刷物以降の一定数の印刷物を第2の排出部へと排出する排出先制御部と、前記第2の排出部における印刷物の排出位置をシフトするシフト部と、を備え、前記シフト部は、前記一定数の印刷物の中に欠陥印刷物が検出されるごとに、前記第2の排出部における前記排出位置をシフトする
【選択図】 図7A
特許請求の範囲
【請求項1】
印刷物を検査する印刷検査装置であって、
複数の印刷物を読み取ってデータを検査する検査実行部と、
前記検査実行部により正常と判定された正常印刷物を第1の排出部へ排出し、前記検査実行部により欠陥ありと判定された欠陥印刷物以降の一定数の印刷物を第2の排出部へと排出する排出先制御部と、
前記第2の排出部における印刷物の排出位置をシフトするシフト部と、を備え、
前記シフト部は、前記一定数の印刷物の中に欠陥印刷物が検出されるごとに、前記第2の排出部における前記排出位置をシフトすることを特徴とする印刷検査装置。
続きを表示(約 950 文字)
【請求項2】
前記第2の排出部に排出された印刷物の並び替え手順を示す情報を出力する出力手段をさらに備えることを特徴とする請求項1に記載の印刷検査装置。
【請求項3】
前記出力手段は、前記並び替え手順を示す情報を印刷して前記第2の排出部に出力することを特徴とする請求項2に記載の印刷検査装置。
【請求項4】
前記出力手段は、前記並び替え手順を示す情報を表示部に表示することを特徴とする請求項2に記載の印刷検査装置。
【請求項5】
前記並び替え手順を示す情報は、印刷物の束ごとに、束を重ねる対象を示す情報と、束の一番下の印刷物についての処理内容とを含むことを特徴とする請求項2に記載の印刷検査装置。
【請求項6】
前記シフト部は、前記一定数の印刷物の中に複数部の印刷物が含まれる場合には各部の最初のページごとに前記排出位置をシフトすることを特徴とする請求項1に記載の印刷検査装置。
【請求項7】
前記排出先制御部は、
前記一定数の印刷物に後続する正常印刷物を前記第1の排出部へ排出し、
前記欠陥印刷物に対応するページの差し替えのための再印刷物を、前記一定数の印刷物と、前記一定数の印刷物に後続する正常印刷物との間に挿入して印刷し、前記第1の排出部へ排出することを特徴とする請求項1に記載の印刷検査装置。
【請求項8】
前記排出先制御部は、1部に複数の欠陥印刷物が含まれる場合、前記複数の欠陥印刷物のうちのページ番号が最も若い最初の欠陥印刷物よりも後の欠陥印刷物に対応するページの差し替えのための再印刷物を、前記第2の排出部へ排出することを特徴とする請求項1に記載の印刷検査装置。
【請求項9】
前記シフト部は、前記再印刷物を前記第2の排出部へ排出する際に、前記排出位置をシフトすることを特徴とする請求項8に記載の印刷検査装置。
【請求項10】
複数のジョブが連続で印刷される場合に、前記第1の排出部へ排出される印刷物をジョブ毎に区切って排出する区切り部をさらに備えることを特徴とする請求項1に記載の印刷検査装置。
(【請求項11】以降は省略されています)
発明の詳細な説明
【技術分野】
【0001】
本発明は、印刷検査装置、印刷検査装置の制御方法及びプログラムに関する。
続きを表示(約 1,900 文字)
【背景技術】
【0002】
印刷装置により出力される印刷物において、インクやトナー等の色材が意図しない箇所に付着して汚れが発生することがある。あるいは、色材が付着して画像を形成すべき箇所に十分な色材が付着せず、本来よりも色が薄くなってしまう色抜けが発生することがある。こうした汚れや色抜けといった印刷欠陥は、印刷物の品質を低下させる。そのため、印刷欠陥の有無を検査することによって、印刷物の品質を保証することが求められる。
【0003】
特許文献1は、検査でNG(欠陥有り)と判断された欠陥印刷物以降の既に用紙搬送路に投入された給紙済みの印刷物を有効利用して損紙を削減する技術を開示している。特許文献1は、排出トレイを3つ使用し、1部が複数ページからなるデータを複数部印刷するジョブの場合に正しいページ順となるように制御を実施している。具体的には、正常印刷物を第一のトレイへ排出し、欠陥印刷物を第二のトレイへ排出し、後続の所定枚数の印刷物を第三トレイへ排出し、再印刷物と、その後の未出力ページの出力順を入れ替えた印刷物とを、第一のトレイへ排出する。
【先行技術文献】
【特許文献】
【0004】
特開2018-86799号公報
【発明の概要】
【発明が解決しようとする課題】
【0005】
しかしながら、特許文献1の技術では、複数の欠陥印刷物が発生した場合の処理については言及がない。そのため、ユーザが欠陥印刷物を再印刷物と差し替える手間を軽減することが難しいという課題がある。
【0006】
本発明は、上記の課題に鑑みてなされたものであり、ユーザが欠陥印刷物を再印刷物と差し替える手間を軽減するための技術を提供することを目的とする。
【課題を解決するための手段】
【0007】
上記の目的を達成する本発明に係る印刷検査装置は、
印刷物を検査する印刷検査装置であって、
複数の印刷物を読み取ってデータを検査する検査実行部と、
前記検査実行部により正常と判定された正常印刷物を第1の排出部へ排出し、前記検査実行部により欠陥ありと判定された欠陥印刷物以降の一定数の印刷物を第2の排出部へと排出する排出先制御部と、
前記第2の排出部における印刷物の排出位置をシフトするシフト部と、を備え、
前記シフト部は、前記一定数の印刷物の中に欠陥印刷物が検出されるごとに、前記第2の排出部における前記排出位置をシフトすることを特徴とする。
【発明の効果】
【0008】
本発明によれば、ユーザが欠陥印刷物を再印刷物と差し替える手間を軽減することが可能となる。
【図面の簡単な説明】
【0009】
一実施形態に係る印刷システム全体の構成を示す図。
一実施形態に係る印刷システムの機能ブロック図。
一実施形態に係る印刷指示を受け付けるユーザインタフェースの一例を示す図。
一実施形態に係る検査設定部の機能ブロック図。
(a)-(c)一実施形態に係る印刷物の並びと排出場所を表す模式図。
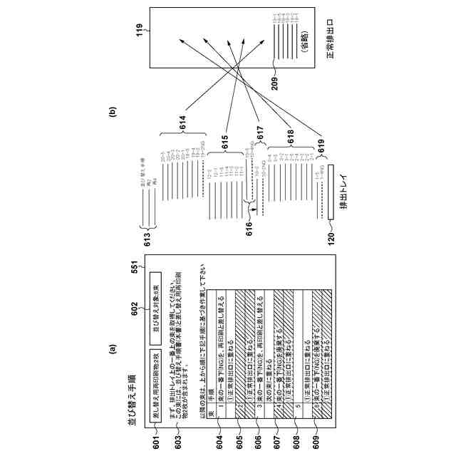
(a)-(b)一実施形態に係る並び替え手順の説明図。
実施形態1に係る処理の手順を示すフローチャート。
実施形態1に係る並び替え命令の一例を示す図。
(a)-(b)実施形態2に係る処理例を示す模式図。
実施形態2に係る処理の手順を示すフローチャート。
実施形態2に係る並び替え命令の一例を示す図。
実施形態3に係る処理例を示す模式図。
(a)-(b)実施形態4に係る処理例を示す模式図。
一実施形態に係る検査設定を受け付けるユーザインタフェースの一例を示す。
(a)一実施形態に係る搬送路情報の一例を示す図、(b)一実施形態に係る印刷設定情報の一例を示す図。
実施形態1に係る給紙済み用紙の予想枚数を算出する処理の手順を示すフローチャート。
一実施形態に係る排紙トレイへ排出する枚数を説明するための模式図。
【発明を実施するための形態】
【0010】
以下、添付図面を参照して実施形態を詳しく説明する。尚、以下の実施形態は特許請求の範囲に係る発明を限定するものでない。実施形態には複数の特徴が記載されているが、これらの複数の特徴の全てが発明に必須のものとは限らず、また、複数の特徴は任意に組み合わせられてもよい。さらに、添付図面においては、同一若しくは同様の構成に同一の参照番号を付し、重複した説明は省略する。
(【0011】以降は省略されています)
この特許をJ-PlatPat(特許庁公式サイト)で参照する
関連特許
キヤノン株式会社
容器
1か月前
キヤノン株式会社
容器
1か月前
キヤノン株式会社
トナー
1か月前
キヤノン株式会社
トナー
1か月前
キヤノン株式会社
撮像装置
18日前
キヤノン株式会社
撮像装置
1か月前
キヤノン株式会社
撮像装置
3日前
キヤノン株式会社
電子機器
1か月前
キヤノン株式会社
記録装置
1か月前
キヤノン株式会社
定着装置
18日前
キヤノン株式会社
撮像装置
1か月前
キヤノン株式会社
撮像装置
1か月前
キヤノン株式会社
撮像装置
3日前
キヤノン株式会社
表示装置
1か月前
キヤノン株式会社
現像装置
1か月前
キヤノン株式会社
現像容器
1か月前
キヤノン株式会社
現像装置
1か月前
キヤノン株式会社
撮像装置
3日前
キヤノン株式会社
記録装置
4日前
キヤノン株式会社
記録装置
1か月前
キヤノン株式会社
二次電池
5日前
キヤノン株式会社
撮像装置
26日前
キヤノン株式会社
撮影装置
1か月前
キヤノン株式会社
発光装置
10日前
キヤノン株式会社
撮像装置
1か月前
キヤノン株式会社
撮像装置
18日前
キヤノン株式会社
電子機器
26日前
キヤノン株式会社
定着装置
18日前
キヤノン株式会社
表示装置
10日前
キヤノン株式会社
記録装置
1か月前
キヤノン株式会社
撮像装置
1か月前
キヤノン株式会社
表示装置
10日前
キヤノン株式会社
現像容器
1か月前
キヤノン株式会社
表示装置
10日前
キヤノン株式会社
撮像装置
10日前
キヤノン株式会社
記録装置
4日前
続きを見る
他の特許を見る