TOP
|
特許
|
意匠
|
商標
特許ウォッチ
Twitter
他の特許を見る
公開番号
2025177423
公報種別
公開特許公報(A)
公開日
2025-12-05
出願番号
2024084252
出願日
2024-05-23
発明の名称
情報処理装置、情報処理方法
出願人
キヤノン株式会社
代理人
弁理士法人大塚国際特許事務所
主分類
G06T
7/00 20170101AFI20251128BHJP(計算;計数)
要約
【課題】 目的に応じた学習モデルを効率的に選択するための技術を提供すること。
【解決手段】 撮影画像に対して学習モデルを用いた処理を行う撮像部により撮影された画像から、該撮影においてユーザが行ったユーザ操作に応じて代表画像を選択する。該選択した代表画像を用いて複数の学習モデルを評価し、撮像部が用いる学習モデルを該評価の結果に基づいて変更する。
【選択図】 図2
特許請求の範囲
【請求項1】
撮影画像に対して学習モデルを用いた処理を行う撮像部により撮影された画像から、該撮影においてユーザが行ったユーザ操作に応じて代表画像を選択する選択手段と、
前記選択手段が選択した代表画像を用いて複数の学習モデルを評価し、前記撮像部が用いる学習モデルを該評価の結果に基づいて変更する変更手段と
を備えることを特徴とする情報処理装置。
続きを表示(約 1,200 文字)
【請求項2】
前記選択手段は、前回の前記処理の終了タイミングから現在実行中の前記処理の開始タイミングまでの経過時間が閾値以下であれば、撮影中のフレームの画像を代表画像として選択することを特徴とする請求項1に記載の情報処理装置。
【請求項3】
前記選択手段は、前回の前記処理の終了タイミングから現在実行中の前記処理の開始タイミングまでの経過時間が閾値以下であり、現在実行中の前記処理の開始タイミングから閾値以上の時間が経過している場合は、撮影中のフレームの画像を代表画像として選択することを特徴とする請求項1に記載の情報処理装置。
【請求項4】
前記選択手段は、前記処理の成功または失敗を表す音声の入力に応じて、撮影中のフレームの画像を代表画像として選択することを特徴とする請求項1に記載の情報処理装置。
【請求項5】
前記変更手段は、代表画像に対する前記複数の学習モデルのそれぞれの推論結果をユーザに提示し、前記撮像部が用いる学習モデルを、該提示に応じてユーザにより選択された学習モデルに変更する
ことを特徴とする請求項1に記載の情報処理装置。
【請求項6】
前記変更手段は、代表画像に対する前記複数の学習モデルのそれぞれの評価値を求め、前記撮像部が用いる学習モデルを、最大の評価値を求めた学習モデルに変更する
ことを特徴とする請求項1に記載の情報処理装置。
【請求項7】
前記選択手段は、撮影画像の前後の複数フレームの画像のうち閲覧された時間の累積時間が閾値以上となる画像が、該撮影画像から規定時間内の期間内のフレームの画像である場合には、該撮影画像および該複数フレームの画像を代表画像として選択することを特徴とする請求項1に記載の情報処理装置。
【請求項8】
前記選択手段は、撮影画像の前後の複数フレームの画像のうち閲覧された時間の累積時間が閾値以上となる画像が、該撮影画像から規定時間内の期間内のフレームの画像ではない場合には、該撮影画像を代表画像として選択することを特徴とする請求項1に記載の情報処理装置。
【請求項9】
前記選択手段は、撮影画像の前後の複数フレームの画像のうち削除された画像が該撮影画像から規定時間内の期間内のフレームの画像である場合には、該撮影画像および該複数フレームの画像を代表画像として選択することを特徴とする請求項1に記載の情報処理装置。
【請求項10】
前記選択手段は、撮影画像の前後の複数フレームの画像のうち削除された画像が該撮影画像から規定時間内の期間内のフレームの画像ではない場合には、該撮影画像を代表画像として選択することを特徴とする請求項1に記載の情報処理装置。
(【請求項11】以降は省略されています)
発明の詳細な説明
【技術分野】
【0001】
本発明は、学習モデルの選択技術に関する。
続きを表示(約 1,500 文字)
【背景技術】
【0002】
近年、機械学習の手法を用いたコンピュータビジョン(CV)タスクがさまざまな場面で活用されている。従来技術として、ユーザが自らの目的に応じて機械学習済みのモデル(以下、「学習モデル」と称する)を作成したり、サービス上で公開、配布されている複数の学習モデルから学習モデルを選択したりすることで、学習モデルが使用できるサービスがある。例えば、特許文献1では、複数の学習モデルにおける物体検出の結果を用いて学習モデルを比較することで、学習モデルの選択を効率的に行う手法が開示されている。
【先行技術文献】
【特許文献】
【0003】
特開2022―105923号公報
【発明の概要】
【発明が解決しようとする課題】
【0004】
しかしながら、ユーザはどのような画像を用いると自らの目的に適した学習モデルが選択できるかの指標を持ち得ていないため、比較の難しい画像や多量の画像で比較されることが考えられ、学習モデルの選択が効率的でない場合があるという課題があった。本発明では、目的に応じた学習モデルを効率的に選択するための技術を提供する。
【課題を解決するための手段】
【0005】
本発明の一様態は、撮影画像に対して学習モデルを用いた処理を行う撮像部により撮影された画像から、該撮影においてユーザが行ったユーザ操作に応じて代表画像を選択する選択手段と、前記選択手段が選択した代表画像を用いて複数の学習モデルを評価し、前記撮像部が用いる学習モデルを該評価の結果に基づいて変更する変更手段とを備えることを特徴とする。
【発明の効果】
【0006】
本発明によれば、目的に応じた学習モデルを効率的に選択することができる。
【図面の簡単な説明】
【0007】
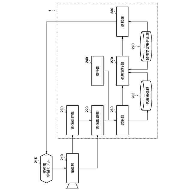
情報処理装置1のハードウェア構成例を示すブロック図。
情報処理装置1を適用するシステムの機能構成例を示すブロック図。
システムの動作のフローチャート。
撮像部210の状態変化を示す図。
撮像部210の状態変化を示す図。
システムの動作のフローチャート。
システムの機能構成例を示すブロック図。
撮像部210の状態変化を示す図。
【発明を実施するための形態】
【0008】
以下、添付図面を参照して実施形態を詳しく説明する。尚、以下の実施形態は特許請求の範囲に係る発明を限定するものではない。実施形態には複数の特徴が記載されているが、これらの複数の特徴の全てが発明に必須のものとは限らず、また、複数の特徴は任意に組み合わせられてもよい。さらに、添付図面においては、同一若しくは同様の構成に同一の参照番号を付し、重複した説明は省略する。
【0009】
[第1の実施形態]
先ず、本実施形態に係る情報処理装置1のハードウェア構成例について、図1のブロック図を用いて説明する。本実施形態に係る情報処理装置1は、PC、タブレット端末装置、スマートフォン、などのコンピュータ装置である。
【0010】
CPU(Central Processing Unit)100は、RAM120に格納されているコンピュータプログラムやデータを用いて各種の処理を実行する。これによりCPU100は、情報処理装置1全体の動作制御を行うと共に、情報処理装置1が行う処理として説明する各種の処理を実行もしくは制御する。
(【0011】以降は省略されています)
この特許をJ-PlatPat(特許庁公式サイト)で参照する
関連特許
キヤノン株式会社
トナー
1か月前
キヤノン株式会社
撮像装置
26日前
キヤノン株式会社
定着装置
24日前
キヤノン株式会社
撮像装置
3日前
キヤノン株式会社
撮像装置
18日前
キヤノン株式会社
撮像装置
18日前
キヤノン株式会社
撮像装置
12日前
キヤノン株式会社
定着装置
18日前
キヤノン株式会社
撮像装置
1か月前
キヤノン株式会社
撮像装置
3日前
キヤノン株式会社
撮像装置
3日前
キヤノン株式会社
記録装置
4日前
キヤノン株式会社
記録装置
4日前
キヤノン株式会社
定着装置
24日前
キヤノン株式会社
記録装置
1か月前
キヤノン株式会社
電子機器
1か月前
キヤノン株式会社
記録装置
1か月前
キヤノン株式会社
表示装置
3日前
キヤノン株式会社
電子機器
1か月前
キヤノン株式会社
記録装置
24日前
キヤノン株式会社
二次電池
5日前
キヤノン株式会社
表示装置
10日前
キヤノン株式会社
撮像装置
10日前
キヤノン株式会社
定着装置
24日前
キヤノン株式会社
雲台装置
1か月前
キヤノン株式会社
撮像装置
1か月前
キヤノン株式会社
撮像装置
10日前
キヤノン株式会社
表示装置
10日前
キヤノン株式会社
電子機器
26日前
キヤノン株式会社
表示装置
10日前
キヤノン株式会社
発光装置
10日前
キヤノン株式会社
撮像装置
3日前
キヤノン株式会社
撮像装置
3日前
キヤノン株式会社
撮像装置
1か月前
キヤノン株式会社
電子機器
3日前
キヤノン株式会社
測距装置
1か月前
続きを見る
他の特許を見る