TOP
|
特許
|
意匠
|
商標
特許ウォッチ
Twitter
他の特許を見る
10個以上の画像は省略されています。
公開番号
2025176520
公報種別
公開特許公報(A)
公開日
2025-12-04
出願番号
2024082728
出願日
2024-05-21
発明の名称
車両用灯具および車両用灯具の製造方法
出願人
スタンレー電気株式会社
代理人
個人
,
個人
,
個人
主分類
F21S
43/27 20180101AFI20251127BHJP(照明)
要約
【課題】インナーレンズの発光面をアウターレンズに対し左右方向に広く確保しつつ容易に組み立てを行うことができる車両用灯具の提供。
【解決手段】照射部20と、照射部の後側に位置するインナーレンズ40と、インナーレンズの後側に位置するアウターレンズ50と、を有し、アウターレンズは、前側に突出するガイド凸部および位置決め凸部を有し、インナーレンズは、ガイド孔、および位置決め孔と、を有し、ガイド凸部は、左右方向に隙間を空けた状態でガイド孔に挿入され、位置決め凸部が、位置決め孔に挿入されることでインナーレンズがアウターレンズに対し左右方向に位置決めされる、車両用灯具。
【選択図】図3
特許請求の範囲
【請求項1】
車両の後端部に位置し前記車両の後側に光を照射する車両用灯具であって、
後側に光を照射する照射部と、
前記照射部の後側に位置し左右方向に延びるインナーレンズと、
前記インナーレンズの後側に位置し前記左右方向に延びるアウターレンズと、を有し、
前記アウターレンズは、
前記左右方向に並び前側に突出するガイド凸部および位置決め凸部と、
前記アウターレンズの前記左右方向の端部からそれぞれ前側に延びる側壁部と、
前記側壁部の前側の端部からそれぞれ前記左右方向の内側に突出する内側突出部と、を有し、
前記インナーレンズは、
前記アウターレンズに固定される固定部と、
前記車両の前後方向に貫通するガイド孔、および位置決め孔と、を有し、
前記インナーレンズの前記左右方向の端部は、それぞれ前記側壁部と隙間をして対向し、前記前後方向から見て前記内側突出部と重なっており、
前記ガイド凸部は、前記左右方向に隙間を空けた状態で前記ガイド孔に挿入され、
前記位置決め凸部が、前記位置決め孔に挿入されることで前記インナーレンズが前記アウターレンズに対し前記左右方向に位置決めされる、
車両用灯具。
続きを表示(約 1,700 文字)
【請求項2】
前記ガイド凸部は、前記位置決め凸部に対し、前記左右方向の第1側に位置し、
前記アウターレンズは、前記ガイド凸部の前記第1側に位置するストッパー凸部を有し、
前記インナーレンズは、前記インナーレンズに対し上下方向に突出し前記ガイド孔が設けられる突出片を有し、
前記ガイド凸部と前記ストッパー凸部との間は、前側に凹む凹部が形成される、
請求項1に記載の車両用灯具。
【請求項3】
前記ガイド凸部は、前記位置決め凸部に対し、前記左右方向の第1側に位置し、
前記ガイド凸部は、
先端部と、
前記先端部に対して前記第1側に位置する第1傾斜面と、
前記先端部に対して前記第1側と反対側の第2側に位置する第2傾斜面と、を有し、
前記第1傾斜面は、前記第1側に向かうに従い前側に向かう方向に傾斜し、
前記第2傾斜面は、前記第2側に向かうに従い前側に向かう方向に傾斜し、
前記左右方向に対する前記第1傾斜面の傾斜角度は、前記左右方向に対する前記第2傾斜面の傾斜角度よりも大きい、
請求項1に記載の車両用灯具。
【請求項4】
前記アウターレンズは、前記位置決め凸部に対し前記左右方向の両側に配置される複数の前記ガイド凸部を有し、
前記インナーレンズは、前記位置決め孔に対し前記左右方向の両側に配置される複数の前記ガイド孔を有する、
請求項1に記載の車両用灯具。
【請求項5】
前記位置決め凸部は、前記アウターレンズの前記左右方向の中央に位置し、
前記位置決め孔は、前記インナーレンズの前記左右方向の中央に位置する、
請求項4に記載の車両用灯具。
【請求項6】
後側に開口し前記照射部を収容するハウジングを備え、
前記内側突出部は、前端部において前記ハウジングに溶着される、
請求項1に記載の車両用灯具。
【請求項7】
前記照射部、前記インナーレンズ、および前記アウターレンズを有する前記車両のトランクリッドに搭載されるリッドランプと、
前記リッドランプの右側および左側にそれぞれ並んで配置される一対のリアコンビネーションランプと、を備える、
請求項1~6の何れか一項に記載の車両用灯具。
【請求項8】
車両の後端部に位置し前記車両の後側に光を照射する車両用灯具の製造方法であって、
左右方向に延びるインナーレンズを、前記インナーレンズの後側に位置し左右方向に延びるアウターレンズに固定するレンズ組み立て工程を有し、
前記アウターレンズは、
前記左右方向に並び前側に突出するガイド凸部および位置決め凸部と、
前記アウターレンズの前記左右方向の端部からそれぞれ前側に延びる側壁部と、
前記側壁部の前側の端部からそれぞれ前記左右方向の内側に突出する内側突出部と、を有し、
前記インナーレンズは、
前記車両の前後方向に貫通するガイド孔、および位置決め孔と、を有し、
前記ガイド凸部は、前記位置決め凸部に対し、前記左右方向の第1側に位置しており、
前記レンズ組み立て工程は、
前記インナーレンズの前記第1側に位置する第1端部を、前記第1側と反対側の第2側に位置する第2端部よりも前側に位置させた状態で、前記第1端部を前記側壁部の内側面に対向させ、前記ガイド凸部を前記ガイド孔に挿入する第1工程と、
前記ガイド凸部を前記ガイド孔に挿入した状態を維持しつつ前記第2端部を後側に移動し、前記位置決め凸部を前記位置決め孔に挿入する第2工程と、
前記インナーレンズを前記アウターレンズに固定する第3工程と、を有し、
前記第1工程において、前記ガイド凸部は、前記左右方向に隙間を空けた状態で前記ガイド孔に挿入され、
前記第2工程において、前記位置決め凸部を前記位置決め孔に挿入することで、前記インナーレンズが前記アウターレンズに対し前記左右方向に位置決めされる、
車両用灯具の製造方法。
発明の詳細な説明
【技術分野】
【0001】
本発明は、車両用灯具および車両用灯具の製造方法に関する。
続きを表示(約 3,900 文字)
【背景技術】
【0002】
車両の後端側の両コーナー部に搭載されるリアコンビネーションランプと、車両のバックゲートに搭載されるリッドランプとを車幅方向に並設した車両用灯具が知られている(例えば、下記特許文献1)。
【先行技術文献】
【特許文献】
【0003】
特開2018-106941号公報
【発明の概要】
【発明が解決しようとする課題】
【0004】
このような車両用灯具では、リッドランプとリアコンビネーションランプとの間に生じる隙間によって、リッドランプ側の発光領域と、リアコンビネーションランプ側の発光領域との間に暗部が生じてしまう。そこで、リッドランプのインナーレンズの左右方向の端部をアウターレンズの内側面に近づけて配置することで、リッドランプ側の発光領域と、リアコンビネーションランプ側の発光領域とを一連の発光領域として、発光の見栄えを改善することが行われている。しかしながら、アウターレンズの側壁部が左右方向に奥まった形状をする場合に、アウターレンズの収容空間にインナーレンズを配置しにくく、アウターレンズの側壁部とインナーレンズの端部との距離を近づけることが難しくなる。
【0005】
本発明は、このような従来の事情に鑑みて提案されたものであり、インナーレンズの発光面をアウターレンズに対し左右方向に広く確保しつつ容易に組み立てを行うことができる車両用灯具を提供することを目的とする。
【課題を解決するための手段】
【0006】
上記目的を達成するために、本発明は以下の手段を提供する。
[1] 車両の後端部に位置し前記車両の後側に光を照射する車両用灯具であって、
後側に光を照射する照射部と、
前記照射部の後側に位置し左右方向に延びるインナーレンズと、
前記インナーレンズの後側に位置し前記左右方向に延びるアウターレンズと、を有し、
前記アウターレンズは、
前記左右方向に並び前側に突出するガイド凸部および位置決め凸部と、
前記アウターレンズの前記左右方向の端部からそれぞれ前側に延びる側壁部と、
前記側壁部の前側の端部からそれぞれ前記左右方向の内側に突出する内側突出部と、を有し、
前記インナーレンズは、
前記アウターレンズに固定される固定部と、
前記車両の前後方向に貫通するガイド孔、および位置決め孔と、を有し、
前記インナーレンズの前記左右方向の端部は、それぞれ前記側壁部と隙間をして対向し、前記前後方向から見て前記内側突出部と重なっており、
前記ガイド凸部は、前記左右方向に隙間を空けた状態で前記ガイド孔に挿入され、
前記位置決め凸部が、前記位置決め孔に挿入されることで前記インナーレンズが前記アウターレンズに対し前記左右方向に位置決めされる、車両用灯具。
[2] 前記ガイド凸部は、前記位置決め凸部に対し、前記左右方向の第1側に位置し、
前記アウターレンズは、前記ガイド凸部の前記第1側に位置するストッパー凸部を有し、
前記インナーレンズは、前記インナーレンズに対し上下方向に突出し前記ガイド孔が設けられる突出片を有し、
前記ガイド凸部と前記ストッパー凸部との間は、前側に凹む凹部が形成される、[1]に記載の車両用灯具。
[3] 前記ガイド凸部は、前記位置決め凸部に対し、前記左右方向の第1側に位置し、
前記ガイド凸部は、
先端部と、
前記先端部に対して前記第1側に位置する第1傾斜面と、
前記先端部に対して前記第1側と反対側の第2側に位置する第2傾斜面と、を有し、
前記第1傾斜面は、前記第1側に向かうに従い前側に向かう方向に傾斜し、
前記第2傾斜面は、前記第2側に向かうに従い前側に向かう方向に傾斜し、
前記左右方向に対する前記第1傾斜面の傾斜角度は、前記左右方向に対する前記第2傾斜面の傾斜角度よりも大きい、[1]に記載の車両用灯具。
[4] 前記アウターレンズは、前記位置決め凸部に対し前記左右方向の両側に配置される複数の前記ガイド凸部を有し、
前記インナーレンズは、前記位置決め孔に対し前記左右方向の両側に配置される複数の前記ガイド孔を有する、[1]に記載の車両用灯具。
[5] 前記位置決め凸部は、前記アウターレンズの前記左右方向の中央に位置し、
前記位置決め孔は、前記インナーレンズの前記左右方向の中央に位置する、[4]に記載の車両用灯具。
[6] 後側に開口し前記照射部を収容するハウジングを備え、
前記内側突出部は、前端部において前記ハウジングに溶着される、[1]に記載の車両用灯具。
[7] 前記照射部、前記インナーレンズ、および前記アウターレンズを有する前記車両のトランクリッドに搭載されるリッドランプと、
前記リッドランプの右側および左側にそれぞれ並んで配置される一対のリアコンビネーションランプと、を備える、[1]~[6]の何れか一項に記載の車両用灯具。
[8] 車両の後端部に位置し前記車両の後側に光を照射する車両用灯具の製造方法であって、
左右方向に延びるインナーレンズを、前記インナーレンズの後側に位置し左右方向に延びるアウターレンズに固定するレンズ組み立て工程を有し、
前記アウターレンズは、
前記左右方向に並び前側に突出するガイド凸部および位置決め凸部と、
前記アウターレンズの前記左右方向の端部からそれぞれ前側に延びる側壁部と、
前記側壁部の前側の端部からそれぞれ前記左右方向の内側に突出する内側突出部と、を有し、
前記インナーレンズは、
前記車両の前後方向に貫通するガイド孔、および位置決め孔と、を有し、
前記ガイド凸部は、前記位置決め凸部に対し、前記左右方向の第1側に位置しており、
前記レンズ組み立て工程は、
前記インナーレンズの前記第1側に位置する第1端部を、前記第1側と反対側の第2側に位置する第2端部よりも前側に位置させた状態で、前記第1端部を前記側壁部の内側面に対向させ、前記ガイド凸部を前記ガイド孔に挿入する第1工程と、
前記ガイド凸部を前記ガイド孔に挿入した状態を維持しつつ前記第2端部を後側に移動し、前記位置決め凸部を前記位置決め孔に挿入する第2工程と、
前記インナーレンズを前記アウターレンズに固定する第3工程と、を有し、
前記第1工程において、前記ガイド凸部は、前記左右方向に隙間を空けた状態で前記ガイド孔に挿入され、
前記第2工程において、前記位置決め凸部を前記位置決め孔に挿入することで、前記インナーレンズが前記アウターレンズに対し前記左右方向に位置決めされる、車両用灯具の製造方法。
【発明の効果】
【0007】
以上のように、本発明によれば、インナーレンズの発光面をアウターレンズに対し左右方向に広く確保しつつ容易に組み立てを行うことができる車両用灯具を提供することができる。
【図面の簡単な説明】
【0008】
図1は、一実施形態の車両用灯具が搭載される車両を後側から見た図である。
図2は、一実施形態のリッドランプとリアコンビネーションランプを後側から見た図である。
図3は、図2のIII-III線に沿う車両用灯具の断面図である。
図4は、一実施形態のインナーレンズとアウターレンズとの半組品を前側から見た図である。
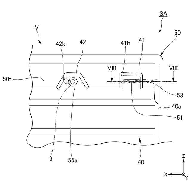
図5は、図4に示す領域Vの拡大図である。
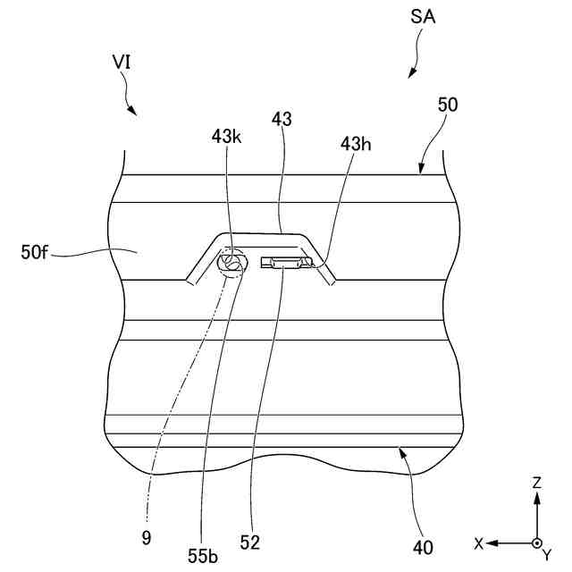
図6は、図4に示す領域VIの拡大図である。
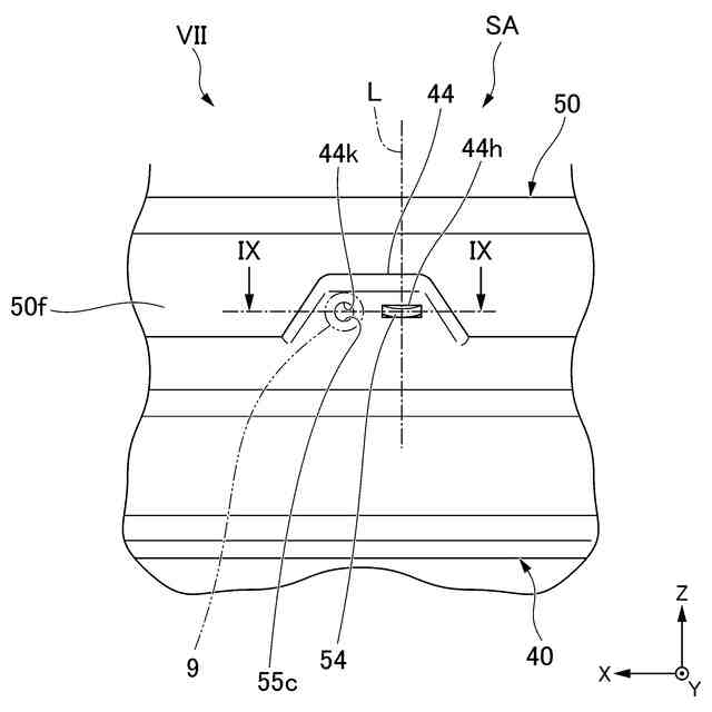
図7は、図4に示す領域VIIの拡大図である。
図8は、図5のVIII-VIII線に沿う第1ガイド凸部、ストッパー凸部、および第1突出片の断面図である。
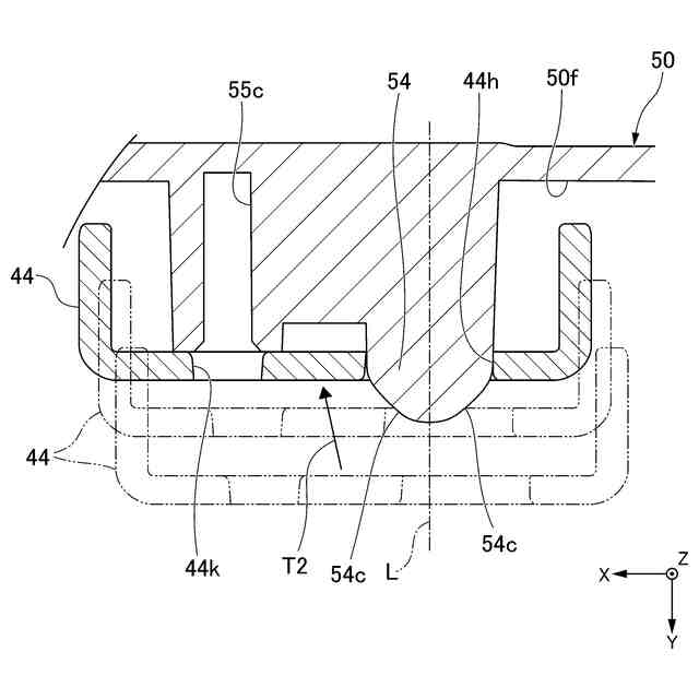
図9は、図7のIX-IX線に沿う位置決め凸部、および第4突出片の断面図である。
図10は、一実施形態のレンズ組み立て工程の第1工程を説明するための断面模式図である。
図11は、図10の部分拡大図である。
図12は、一実施形態のレンズ組み立て工程の第2工程を説明するための断面模式図である。
図13は、図12の部分拡大図である。
【発明を実施するための形態】
【0009】
以下、本発明の実施形態について、図面を参照して詳細に説明する。
なお、以下の説明で用いる図面においては、各構成要素を見やすくするため、構成要素によって寸法の縮尺を異ならせて示すことがあり、各構成要素の寸法比率などが実際と同じであるとは限らない。
【0010】
また、以下に示す図面では、XYZ直交座標系を設定する。Y軸方向は、車両用灯具1が搭載される車両100の前後方向であり、+Y側を前側とし、-Y側を後側とする。X軸方向は、車両用灯具1が搭載される車両100の左右方向(車幅方向)であり、+X側を右側とし、-X側を左側とする。Z軸方向は、車両用灯具1の鉛直方向であり、+Z側を上側とし、-Z側を下側とする。
(【0011】以降は省略されています)
この特許をJ-PlatPat(特許庁公式サイト)で参照する
関連特許
スタンレー電気株式会社
MEMSミラー駆動回路、走査型投影システム及びMEMSミラー駆動方法
今日
個人
照明装置
27日前
個人
室外機器
5か月前
個人
照明システム
5か月前
個人
消火器設置表示装置
1か月前
個人
気泡を用いた遊具。
7か月前
個人
車載機器の通気構造
2か月前
株式会社遠藤照明
照明器具
6か月前
株式会社遠藤照明
照明装置
2か月前
日亜化学工業株式会社
面状光源
7日前
株式会社小糸製作所
車両用灯具
1か月前
株式会社小糸製作所
車両用灯具
1か月前
能美防災株式会社
表示灯
2か月前
個人
LEDライト
5か月前
デンカ株式会社
照明装置
5か月前
デンカ株式会社
道路用照明
5か月前
株式会社小糸製作所
投光装置
2か月前
株式会社小糸製作所
投光装置
2か月前
フルトラム株式会社
光学機器
1か月前
スタンレー電気株式会社
照射用光源
2か月前
アクア株式会社
冷蔵庫
4か月前
株式会社小糸製作所
誘導装置
2か月前
株式会社小糸製作所
車両用灯具
6か月前
株式会社小糸製作所
車両用灯具
6か月前
株式会社小糸製作所
車両用灯具
4か月前
株式会社小糸製作所
車両用灯具
6か月前
株式会社小糸製作所
車両用灯具
5か月前
株式会社小糸製作所
車両用灯具
4か月前
株式会社小糸製作所
車両用灯具
1か月前
株式会社小糸製作所
車両用灯具
1か月前
株式会社小糸製作所
車両用灯具
5か月前
株式会社小糸製作所
車両用灯具
1か月前
株式会社小糸製作所
車両用灯具
1か月前
株式会社小糸製作所
車両用灯具
1か月前
株式会社小糸製作所
車両用灯具
5か月前
株式会社小糸製作所
車両用灯具
8か月前
続きを見る
他の特許を見る