TOP
|
特許
|
意匠
|
商標
特許ウォッチ
Twitter
他の特許を見る
10個以上の画像は省略されています。
公開番号
2025176550
公報種別
公開特許公報(A)
公開日
2025-12-04
出願番号
2024082785
出願日
2024-05-21
発明の名称
MEMSミラー駆動回路、走査型投影システム及びMEMSミラー駆動方法
出願人
スタンレー電気株式会社
代理人
個人
,
個人
主分類
G02B
26/10 20060101AFI20251127BHJP(光学)
要約
【課題】MEMS駆動データが受信できない等の異常事象が発生しても、異常事象の影響を極力避ける。
【解決手段】MEMSミラー駆動回路は、制御回路210からMEMS駆動データを受信し、MEMS駆動データに基づいて生成した駆動信号をMEMSミラーデバイス260に出力する駆動回路120と、制御回路210からステータス情報及びMEMS駆動データを受信して、制御回路210とのデータ通信が正常か否かを判定し、データ通信が正常ならステータス情報及びMEMS駆動データに基づいて駆動信号の代替となる代替駆動信号を生成するための駆動信号情報を取得し、データ通信が正常でないなら駆動信号情報に基づいて生成した代替駆動信号を駆動信号の代わりにMEMSミラーデバイス260に出力する安全回路110と、を備える。
【選択図】図1
特許請求の範囲
【請求項1】
制御回路からMEMS駆動データを受信し、前記MEMS駆動データに基づいて生成した駆動信号をMEMSミラーデバイスに出力する駆動回路と、
前記制御回路からステータス情報及び前記MEMS駆動データを受信して、前記制御回路とのデータ通信が正常か否かを判定し、前記データ通信が正常なら前記ステータス情報及び前記MEMS駆動データに基づいて前記駆動信号の代替となる代替駆動信号を生成するための駆動信号情報を取得し、前記データ通信が正常でないなら前記駆動信号情報に基づいて生成した前記代替駆動信号を前記駆動信号の代わりに前記MEMSミラーデバイスに出力する安全回路と、
を備える、
MEMSミラー駆動回路。
続きを表示(約 1,500 文字)
【請求項2】
前記ステータス情報は、前記MEMS駆動データの値の昇降状態を示す昇降状態情報を含む、
請求項1に記載のMEMSミラー駆動回路。
【請求項3】
前記安全回路は、
前記駆動信号情報として、前記昇降状態情報に基づいて、前記MEMS駆動データの値が上昇している期間である上昇期間と前記MEMS駆動データの値が下降している期間である下降期間とを取得し、
前記制御回路とのデータ通信が正常でなくなったタイミング並びに前記上昇期間及び前記下降期間に基づいて前記代替駆動信号を生成する、
請求項2に記載のMEMSミラー駆動回路。
【請求項4】
前記安全回路は、
前記駆動信号情報として、前記昇降状態情報及び前記MEMS駆動データに基づいて、前記MEMS駆動データの一周期分のデータである周期分駆動データを取得し、
前記制御回路とのデータ通信が正常でなくなったタイミング及び前記周期分駆動データに基づいて前記代替駆動信号を生成する、
請求項2に記載のMEMSミラー駆動回路。
【請求項5】
前記安全回路は、
光源の発光状態を示す発光状態データを受信し、
前記発光状態データが消灯を示していた場合、
前記MEMSミラーデバイスが備えるMEMSミラーの特性に合わせた減衰量に従って、所定の周期毎に前記代替駆動信号の振幅を徐々に0まで減少させる、
請求項3又は4に記載のMEMSミラー駆動回路。
【請求項6】
光を放射する光源と、
前記光源から放射された光を反射して投影面に照射するMEMSミラーと前記MEMSミラーを揺動させるアクチュエータとを備えるMEMSミラーデバイスと、
前記アクチュエータを駆動させる駆動信号を生成するためのMEMS駆動データを出力する制御回路と、
前記制御回路から前記MEMS駆動データを受信して前記駆動信号を出力するMEMSミラー駆動回路と、
を備える走査型投影システムであって、
前記MEMSミラー駆動回路は、
前記制御回路から前記MEMS駆動データを受信し、前記MEMS駆動データに基づいて生成した前記駆動信号を前記MEMSミラーデバイスに出力する駆動回路と、
前記制御回路からステータス情報及び前記MEMS駆動データを受信して、前記制御回路とのデータ通信が正常か否かを判定し、前記データ通信が正常なら前記ステータス情報及び前記MEMS駆動データに基づいて前記駆動信号の代替となる代替駆動信号を生成するための駆動信号情報を取得し、前記データ通信が正常でないなら前記駆動信号情報に基づいて生成した前記代替駆動信号を前記駆動信号の代わりに前記MEMSミラーデバイスに出力する安全回路と、
を備える、
走査型投影システム。
【請求項7】
制御回路からステータス情報及びMEMS駆動データを受信して、前記制御回路とのデータ通信が正常か否かを判定し、
前記データ通信が正常なら、前記MEMS駆動データに基づいて生成した駆動信号をMEMSミラーデバイスに出力するとともに、前記ステータス情報及び前記MEMS駆動データに基づいて前記駆動信号の代替となる代替駆動信号を生成するための駆動信号情報を取得し、
前記データ通信が正常でないなら、前記駆動信号情報に基づいて生成した前記代替駆動信号を前記駆動信号の代わりに前記MEMSミラーデバイスに出力する、
MEMSミラー駆動方法。
発明の詳細な説明
【技術分野】
【0001】
本発明は、MEMSミラー駆動回路、走査型投影システム及びMEMSミラー駆動方法に関する。
続きを表示(約 1,800 文字)
【背景技術】
【0002】
光源から出射された光をMEMS(Micro Electro Mechanical Systems)ミラーで走査して映像を投射する照明装置や映像投射装置が知られている。このような装置においては、MEMSミラーが適切に動作しているかを確認する必要があり、例えば特許文献1には、簡易な構成でMEMSミラーの動作を検出することができる光偏光器を備える照明装置等が記載されている。
【先行技術文献】
【特許文献】
【0003】
特許第7343410号公報
【発明の概要】
【発明が解決しようとする課題】
【0004】
しかし、特許文献1に記載されているような従来の装置では、MEMSミラーを駆動するMEMSドライバーが制御回路からのMEMS駆動データを確実に受信できることを前提として設計されている。このため、MEMSドライバーが制御回路からのMEMS駆動データを受信できない等の異常事象が発生した場合に問題が生じる可能性があった。
【0005】
本発明は、上記に鑑みてなされたものであって、MEMS駆動データが受信できない等の異常事象が発生しても、異常事象の影響を極力避けることができるMEMSミラー駆動回路、走査型投影システム及びMEMSミラー駆動方法を提供することを目的とする。
【課題を解決するための手段】
【0006】
本発明に係るMEMSミラー駆動回路は、
制御回路からMEMS駆動データを受信し、前記MEMS駆動データに基づいて生成した駆動信号をMEMSミラーデバイスに出力する駆動回路と、
前記制御回路からステータス情報及び前記MEMS駆動データを受信して、前記制御回路とのデータ通信が正常か否かを判定し、前記データ通信が正常なら前記ステータス情報及び前記MEMS駆動データに基づいて前記駆動信号の代替となる代替駆動信号を生成するための駆動信号情報を取得し、前記データ通信が正常でないなら前記駆動信号情報に基づいて生成した前記代替駆動信号を前記駆動信号の代わりに前記MEMSミラーデバイスに出力する安全回路と、
を備える。
【発明の効果】
【0007】
本発明によれば、MEMS駆動データが受信できない等の異常事象が発生しても、異常事象の影響を極力避けることができる。
【図面の簡単な説明】
【0008】
実施形態1に係る走査型投影システムの構成例を示す図である。
実施形態1に係る安全回路の内部ブロックの構成例を示す図である。
レーザーを水平方向に走査させるときのMEMSミラーの駆動電圧信号の波形の一例を示す図である。
レーザーを垂直方向に走査させるときのMEMSミラーの駆動電圧信号の波形の一例を示す図である。
実施形態1に係るステータス情報受信処理のフローチャートの一例である。
実施形態1に係るタイムアウト時処理のフローチャートの一例である。
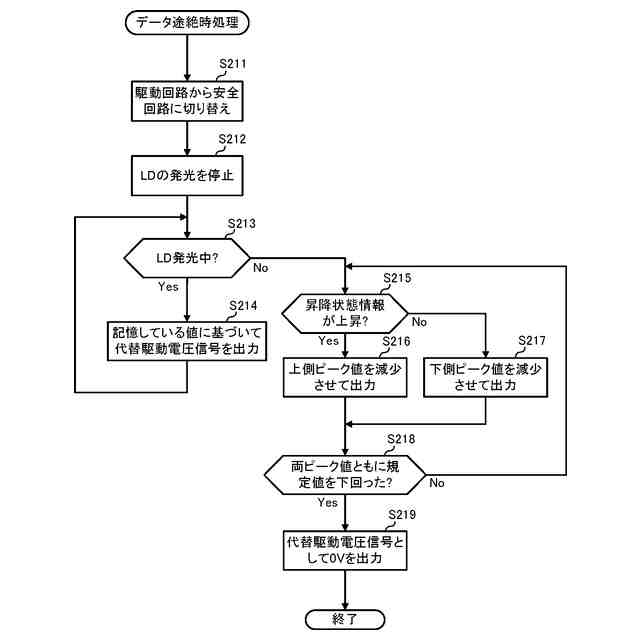
実施形態1に係るデータ途絶時処理のフローチャートの一例である。
MEMSミラーの停止シーケンスを説明するための図である。
バイポーラ駆動の場合の上側ピーク値と下側ピーク値を説明するための図である。
ユニポーラ駆動の場合の上側ピーク値を説明するための図である。
実施形態2に係る駆動データ保存処理のフローチャートの一例である。
【発明を実施するための形態】
【0009】
以下、本発明の実施形態について、図面を参照して説明する。なお、図中同一又は相当する部分には同一符号を付す。
【0010】
(実施形態1)
本発明の実施形態1に係る走査型投影システム1000は、図1に示すように、MEMSドライバー100と、制御回路210と、LDD(Laser Diode Driver)220と、LD(Laser Diode)230と、ビームスプリッター240と、PD(Photo-Diode)モジュール250と、MEMSミラーデバイス260と、を備える。
(【0011】以降は省略されています)
この特許をJ-PlatPat(特許庁公式サイト)で参照する
関連特許
スタンレー電気株式会社
流体除菌装置
今日
スタンレー電気株式会社
距離測定装置
14日前
スタンレー電気株式会社
面発光ユニット及び面発光装置
今日
スタンレー電気株式会社
車両用灯具および車両用灯具の製造方法
今日
スタンレー電気株式会社
MEMSミラー駆動回路、走査型投影システム及びMEMSミラー駆動方法
今日
カンタツ株式会社
光学系
1か月前
住友化学株式会社
偏光板
1か月前
株式会社シグマ
結像光学系
27日前
株式会社シグマ
結像光学系
1か月前
住友化学株式会社
垂直偏光板
1か月前
日本精機株式会社
ミラーユニット
1か月前
古河電気工業株式会社
融着機
1か月前
アイカ工業株式会社
反射防止フィルム
1日前
日本電気株式会社
光モジュール
1か月前
個人
多方向視差効果のための微細穴加工
1か月前
日東電工株式会社
導光部材
27日前
豊田合成株式会社
調光装置
14日前
株式会社コシナ
投射ズームレンズ
20日前
日東電工株式会社
光学積層体
29日前
京セラ株式会社
光学系
1か月前
個人
眼鏡装着位置変更具および眼鏡
1か月前
三菱電機株式会社
レンズモジュール
1か月前
AGC株式会社
インフィニティミラー
1か月前
日本精機株式会社
ヘッドアップディスプレイ
1か月前
日本精機株式会社
ヘッドアップディスプレイ
27日前
キヤノン株式会社
表示装置
6日前
マクセル株式会社
映像表示装置
20日前
日本精機株式会社
ヘッドアップディスプレイ装置
27日前
京セラ株式会社
アイソレータ
6日前
新光電気工業株式会社
光導波路部品
1か月前
日本精機株式会社
ヘッドアップディスプレイ装置
28日前
新光電気工業株式会社
光導波路部品
1か月前
株式会社タムロン
ズームレンズ及び撮像装置
1か月前
株式会社リコー
光走査装置及び画像形成装置
27日前
レーザーテック株式会社
光学装置及び調整方法
27日前
スタンレー電気株式会社
透光性樹脂部材
1か月前
続きを見る
他の特許を見る