TOP
|
特許
|
意匠
|
商標
特許ウォッチ
Twitter
他の特許を見る
10個以上の画像は省略されています。
公開番号
2025174030
公報種別
公開特許公報(A)
公開日
2025-11-28
出願番号
2024080017
出願日
2024-05-16
発明の名称
鋳造用砂型の製造方法および工具
出願人
三菱電機株式会社
代理人
弁理士法人深見特許事務所
主分類
B22C
9/02 20060101AFI20251120BHJP(鋳造;粉末冶金)
要約
【課題】キャビティ面の表面粗さを低減可能な鋳造用砂型の製造方法を提供する。
【解決手段】鋳造用砂型100の製造方法は、以下の工程を備えている。鋳物砂によって構成されている被削材9を切削加工することによって、キャビティ29が設けられている砂型2が形成される。キャビティ29を構成している砂型2のキャビティ面22に工具1の表面3が連続的に押し当てられる。
【選択図】図3
特許請求の範囲
【請求項1】
鋳物砂によって構成されている被削材を切削加工することによって、キャビティが設けられている砂型を形成する工程と、
前記キャビティを構成している前記砂型のキャビティ面に工具の表面を連続的に押し当てる工程と、を備える、鋳造用砂型の製造方法。
続きを表示(約 1,100 文字)
【請求項2】
請求項1に記載の鋳型用砂型の製造方法に用いられる工具であって、
工作機械に把持される被把持部と、
前記被把持部に支持されており、且つ前記表面を構成している押し当て部と、を備える、工具。
【請求項3】
前記押し当て部は、円柱形状であり、
前記押し当て部は、
前記押し当て部の中心軸を取り囲んでいる外周面と、
前記外周面に連なる前端面と、を有し、
前記外周面と前記前端面とは、前記表面を構成している、請求項2に記載の工具。
【請求項4】
請求項3に記載の工具を用いた鋳造用砂型の製造方法であって、
前記キャビティ面に前記工具の前記表面を連続的に押し当てる工程において、前記表面を前記キャビティ面に押し付けつつ前記キャビティ面に沿って前記工具を移動させる、鋳造用砂型の製造方法。
【請求項5】
前記押し当て部は、前記被把持部に対して相対的に回転し、
前記押し当て部の回転軸に沿って見た場合、前記表面は、円形状である、請求項2に記載の工具。
【請求項6】
請求項5に記載の工具を用いた鋳造用砂型の製造方法であって、
前記キャビティ面に前記工具の前記表面を連続的に押し当てる工程において、前記工具を前記キャビティ面に押し付けつつ前記キャビティ面に沿って前記工具を移動させることによって、前記押し当て部は、前記回転軸の周りを回転する、鋳造用砂型の製造方法。
【請求項7】
前記キャビティ面は、
前記キャビティの開口方向と平行な方向に見て直線状である第1側壁面部と、
前記第1側壁面部に連なり、且つ前記開口方向と平行な方向に見て円弧状である第2側壁面部と、を有し、
前記押し当て部は、前記被把持部に連なっている接続面を有し、
前記表面は、
前記接続面に垂直に見て直線状である第1側面部と、
前記第1側面部に連なり、且つ前記接続面に垂直に見て円弧状である第2側面部と、を有し、
前記接続面に垂直に見た場合における前記第2側面部の曲率半径は、前記開口方向と平行な方向に見た場合における前記第2側壁面部の曲率半径の0.5倍以上1倍以下である、請求項2に記載の工具。
【請求項8】
請求項7に記載の工具を用いた鋳造用砂型の製造方法であって、
前記キャビティ面に前記工具の前記表面を連続的に押し当てる工程において、前記第1側面部および前記第2側面部を、それぞれ前記第1側壁面部および前記第2側壁面部に同時に押し付ける、鋳造用砂型の製造方法。
発明の詳細な説明
【技術分野】
【0001】
本開示は、鋳造用砂型の製造方法および工具に関する。
続きを表示(約 2,500 文字)
【背景技術】
【0002】
通常、鋳造用砂型は木型を用いて作製される。木型を用いて砂型が製作される場合、木型の製作に時間およびコストが必要になる。また、木型を保管するためのコストが必要になる。
【0003】
木型を用いない鋳造用砂型の製造方法の一例として、特表2005-503929号公報(特許文献1)には、鋳物砂からなる耐熱鋳型の製造方法であって、鋳型材料を切削する方法が記載されている。特許文献1に記載の耐熱鋳型の製造方法は、鋳型材料の内側輪郭をフライス工具によって粗仕上げ切削するステップと、フライス工具を用いて鋳型空洞を仕上げ切削するステップとを有する。
【先行技術文献】
【特許文献】
【0004】
特表2005-503929号公報
【発明の概要】
【発明が解決しようとする課題】
【0005】
上記特許文献1に記載されている耐熱鋳型の製造方法によれば、鋳型材料を仕上げ切削加工する際に、切削工具の切れ刃によって鋳物砂の砂粒が弾き飛ばされる。従って、木型を用いて砂型を製造した場合と比較して、キャビティを形成している砂型のキャビティ面の表面粗さが増大する。
【0006】
本開示は、上記に鑑みてなされたものであり、その目的は、キャビティ面の表面粗さを低減可能な鋳造用砂型の製造方法および工具を提供することである。
【課題を解決するための手段】
【0007】
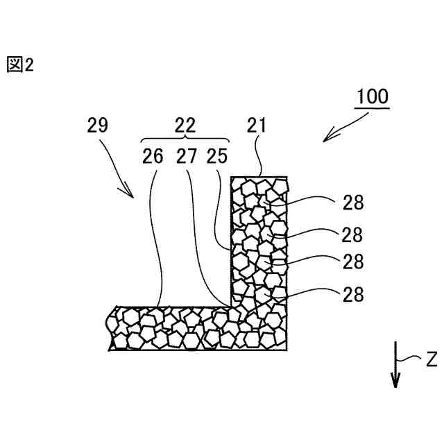
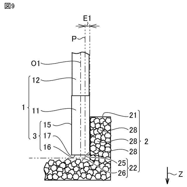
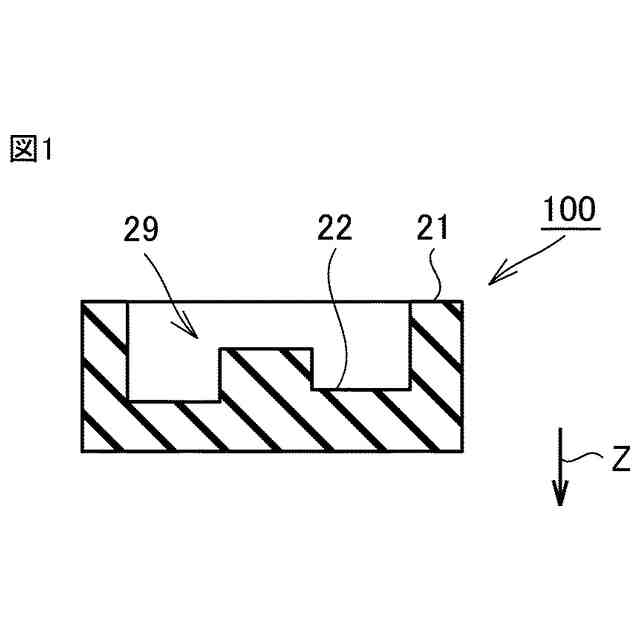
本開示に係る鋳造用砂型の製造方法は、以下の工程を備えている。鋳物砂によって構成されている被削材を切削加工することによって、キャビティが設けられている砂型が形成される。キャビティを構成している砂型のキャビティ面に工具の表面が連続的に押し当てられる。
【発明の効果】
【0008】
本開示に係る鋳造用砂型の製造方法によれば、キャビティ面に工具の表面を連続的に押し当てることによって、表面凹凸の凸部の鋳物砂の砂粒を砂型内部に押し込む、あるいは削り取ることができる。これによって、キャビティ面の表面粗さを低減することができる。
【図面の簡単な説明】
【0009】
実施の形態1に係る鋳造用砂型の構成を示す断面模式図である。
実施の形態1に係る鋳造用砂型の構成を示す拡大断面模式図である。
実施の形態1に係る鋳造用砂型の製造方法を概略的に示すフロー図である。
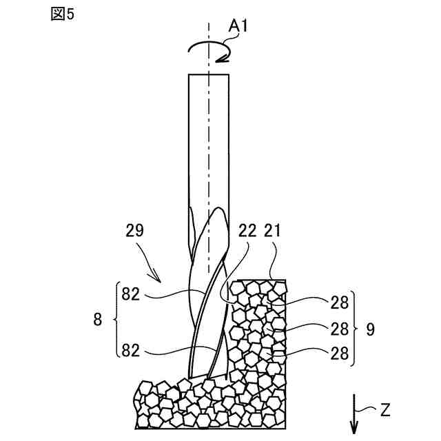
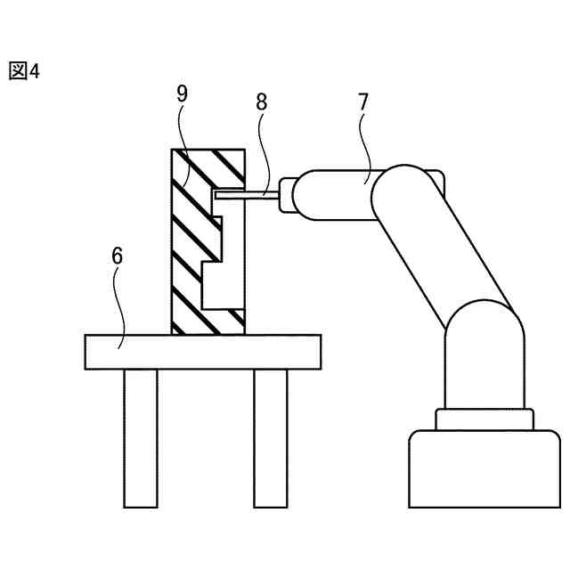
被削材を切削加工することによって砂型を形成する工程を示す部分断面模式図である。
被削材を切削加工することによって砂型を形成する工程を示す拡大断面模式図である。
実施の形態1に係る砂型の構成を示す拡大断面模式図である。
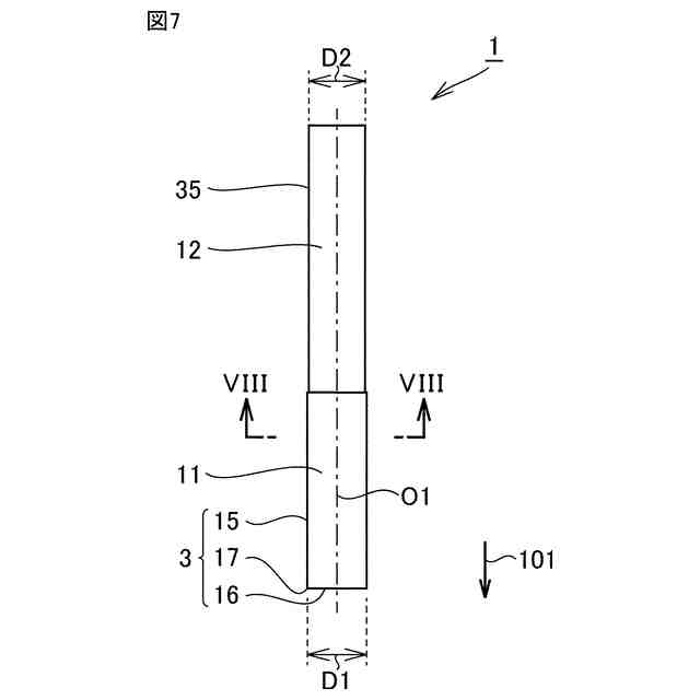
実施の形態1に係る工具の構成を示す正面模式図である。
図7のVIII-VIII線に沿った断面模式図である。
実施の形態1に係る工具の表面をキャビティ面の側壁面に連続的に押し当てている状態を示す拡大断面模式図である。
実施の形態1に係る工具の表面をキャビティ面の側壁面に連続的に押し当てている状態を示す拡大平面模式図である。
実施の形態1に係る工具の表面をキャビティ面の底面に連続的に押し当てている状態を示す拡大断面模式図である。
実施の形態1に係る工具の表面をキャビティ面の底面に連続的に押し当てている状態を示す拡大平面模式図である。
工具を回転させつつキャビティ面の側壁面に工具の表面を連続的に押し当てている状態を示す拡大平面模式図である。
実施の形態1の第1変形例に係る工具の構成を示す正面模式図である。
実施の形態1の第2変形例に係る工具の構成を示す正面模式図である。
実施の形態1の第3変形例に係る工具の構成を示す正面模式図である。
実施の形態2に係る工具の構成を示す正面模式図である。
実施の形態2に係る工具の構成を示す底面模式図である。
実施の形態2に係る工具の表面をキャビティ面の側壁面に連続的に押し当てている状態を示す拡大断面模式図である。
実施の形態2の第1変形例に係る工具の構成を示す正面模式図である。
実施の形態2の第1変形例に係る工具の構成を示す側面模式図である。
実施の形態2の第1変形例に係る工具の表面をキャビティ面の底面に連続的に押し当てている状態を示す拡大断面模式図である。
実施の形態2の第2変形例に係る工具の構成を示す正面模式図である。
実施の形態2の第2変形例に係る工具の構成を示す側面模式図である。
実施の形態2の第2変形例に係る工具の表面をキャビティ面の角部に連続的に押し当てている状態を示す拡大断面模式図である。
実施の形態3に係る鋳造用砂型の構成を示す斜視模式図である。
実施の形態3に係る鋳造用砂型の構成を示す平面模式図である。
実施の形態3に係る鋳造用砂型の構成を示す断面模式図である。
実施の形態3に係る工具の構成を示す斜視模式図である。
実施の形態3に係る工具の構成を示す平面模式図である。
実施の形態3に係る工具の構成を示す正面模式図である。
実施の形態3に係る工具の表面をキャビティ面の側壁面に連続的に押し当てている状態を示す平面模式図である。
実施の形態3に係る工具の表面をキャビティ面の角部および底面に連続的に押し当てている状態を示す部分断面模式図である。
実施の形態3に係る工具の表面をキャビティ面の底面に連続的に押し当てている状態を示す部分断面模式図である。
【発明を実施するための形態】
【0010】
以下、図面に基づいて本開示の実施の形態について説明する。なお、以下の図面において同一または相当する部分には同一の参照番号を付し、その説明は繰返さない。
(【0011】以降は省略されています)
この特許をJ-PlatPat(特許庁公式サイト)で参照する
関連特許
三菱電機株式会社
冷蔵庫
1か月前
三菱電機株式会社
換気扇
1か月前
三菱電機株式会社
冷蔵庫
19日前
三菱電機株式会社
扇風機
1か月前
三菱電機株式会社
増幅器
1か月前
三菱電機株式会社
換気扇
1か月前
三菱電機株式会社
換気扇
1か月前
三菱電機株式会社
換気扇
12日前
三菱電機株式会社
換気装置
11日前
三菱電機株式会社
回転電機
2か月前
三菱電機株式会社
照明装置
1か月前
三菱電機株式会社
照明装置
2か月前
三菱電機株式会社
送風装置
今日
三菱電機株式会社
照明器具
13日前
三菱電機株式会社
電気機器
19日前
三菱電機株式会社
送風装置
今日
三菱電機株式会社
回転電機
2か月前
三菱電機株式会社
電子機器
1か月前
三菱電機株式会社
収集装置
1か月前
三菱電機株式会社
空気調和機
1か月前
三菱電機株式会社
半導体装置
1か月前
三菱電機株式会社
冷凍冷蔵庫
4日前
三菱電機株式会社
加熱調理器
27日前
三菱電機株式会社
半導体装置
6日前
三菱電機株式会社
半導体装置
6日前
三菱電機株式会社
半導体装置
2か月前
三菱電機株式会社
半導体装置
今日
三菱電機株式会社
加熱調理器
2か月前
三菱電機株式会社
保護リレー
1か月前
三菱電機株式会社
半導体装置
4日前
三菱電機株式会社
回路遮断器
27日前
三菱電機株式会社
半導体装置
2か月前
三菱電機株式会社
半導体装置
19日前
三菱電機株式会社
電動送風機
11日前
三菱電機株式会社
半導体装置
今日
三菱電機株式会社
空気清浄装置
27日前
続きを見る
他の特許を見る