TOP
|
特許
|
意匠
|
商標
特許ウォッチ
Twitter
他の特許を見る
10個以上の画像は省略されています。
公開番号
2025174026
公報種別
公開特許公報(A)
公開日
2025-11-28
出願番号
2024080013
出願日
2024-05-16
発明の名称
線状発光体
出願人
株式会社TISM
代理人
弁理士法人岡田国際特許事務所
主分類
F21S
4/24 20160101AFI20251120BHJP(照明)
要約
【課題】長手方向に亘り所望の明るさで発光することができると共に、故障や光源の接続部分の剥離などを抑制し、耐久性の向上を図ることができる線状発光体を提供する。
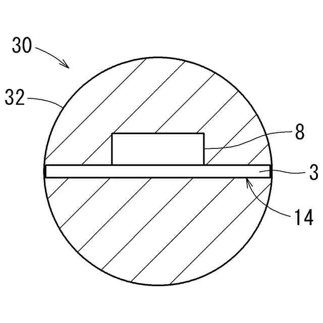
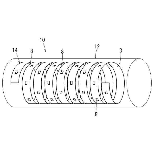
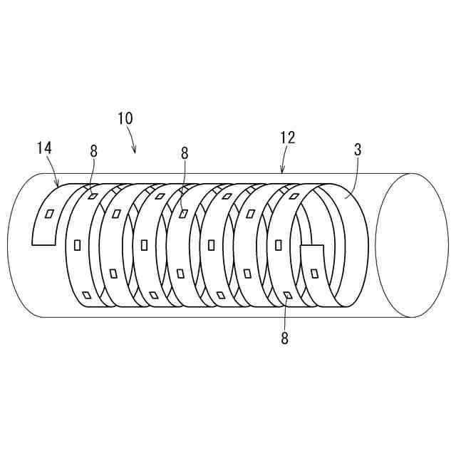
【解決手段】線状発光体10,20,30は、透光性を備える長尺状の保護材12,32と、発光基布14,24とを備える。発光基布14,24は、耐熱性と柔軟性を備え保護材12,32内に挿入可能な幅を有する長尺状の帯状基布3と、帯状基布3の長手方向に沿って導電性糸4が縫い付けられることで帯状基布3の導電性糸4が縫い付けられた側の面に電気的に導通するよう構成された電気回路図5と、電気回路図5上において帯状基布3の長手方向に沿って配設されており、電気回路図5と電気的に接続されている複数の発光素子8とを有し、発光基布14,24が保護材12,32の内部において保護材12,32の長手方向に沿って配設された構成とされる。
【選択図】図1
特許請求の範囲
【請求項1】
透光性を備える長尺状の保護材と、
発光基布と、を備え、
前記発光基布は、
耐熱性と柔軟性を備え前記保護材内に配設可能な幅を有する長尺状の帯状基布と、
前記帯状基布の長手方向に沿って導電性糸が縫い付けられることで前記帯状基布の前記導電性糸が縫い付けられた側の面に電気的に導通するよう構成された電気回路図と、
前記電気回路図上において前記帯状基布の長手方向に沿って配設されており、前記電気回路図と電気的に接続されている複数の発光素子と、を有し、
前記発光基布が前記保護材の内部において前記保護材の長手方向に沿って配設されている線状発光体。
続きを表示(約 710 文字)
【請求項2】
請求項1に記載された線状発光体であって、
前記電気回路図は、前記帯状基布上において上糸と下糸の少なくとも一方が前記導電性糸によって縫い付けられた構成であり、
前記発光基布が螺旋状に捻じれた状態で前記保護材の内部において前記保護材の長手方向に沿って配設されている線状発光体。
【請求項3】
請求項1に記載された線状発光体であって、
前記電気回路図は、前記帯状基布上において上糸と下糸の両方が前記導電性糸によって縫い付けられた構成であり、
前記発光基布は、前記帯状基布の両面に前記複数の発光素子が配設された状態で、前記保護材の内部において前記保護材の長手方向に沿って配設されている線状発光体。
【請求項4】
請求項1から3のいずれか一項に記載された線状発光体であって、
前記電気回路図は、金属箔糸が縫い付けられることで前記発光素子を配設可能に構成された複数の接続部を有し、
前記複数の接続部を介して前記複数の発光素子と前記電気回路図が電気的に接続されている線状発光体。
【請求項5】
請求項1から3のいずれか一項に記載された線状発光体であって、
前記保護材は、中空管であり、前記発光基布が前記中空管の内部において前記中空管の長手方向に沿って配設されている線状発光体。
【請求項6】
請求項1から3のいずれか一項に記載された線状発光体であって、
前記保護材は、樹脂製の中実部材であり、前記発光基布が前記中実部材の内部において前記中実部材の長手方向に沿って埋設されている線状発光体。
発明の詳細な説明
【技術分野】
【0001】
本発明は、線状発光体に関する。
続きを表示(約 1,700 文字)
【背景技術】
【0002】
従来、発光体として、LED等の光源を端部に接続させた光ファイバが知られている。屈曲性を有する光ファイバは、形状の自由度が高く、通信用のほか照明用や装飾用など、様々な用途に利用されている。例えば特許文献1には、発光体(光ファイバ)が開示されている。この発光体は、光源からの光が光ファイバ内を通り、光源と逆側の端部を発光させている。また、光ファイバの一部の箇所にあえて傷をつけて、その箇所から光が漏れて発光するように構成することもできる。
【0003】
一方で、特許文献1に記載された発光体は、端部のみに光源が設けられているため、光源からの光が光源と逆側の端部に向かうにつれて弱くなり、光源から離れた発光箇所や、光源と反対側の端部に亘って均一の明るさで発光させることは困難である。そこで、照明用途や装飾用途を目的として、電線や基材に複数のLEDを直接取り付けた発光体などが利用されている。
【先行技術文献】
【特許文献】
【0004】
特許第7033364号公報
【発明の概要】
【発明が解決しようとする課題】
【0005】
しかしながら、電線や基材に複数の光源を取り付けた発光体は、利用者が光源に直接触れることで、故障や光源の接続部分の剥離が発生する懸念がある。
【0006】
本発明は、このような点に鑑みて創案されたものであり、本発明が解決しようとする課題は、長手方向に亘り所望の明るさで発光することができると共に、故障や光源の接続部分の剥離などを抑制し、耐久性の向上を図ることができる線状発光体を提供することにある。
【課題を解決するための手段】
【0007】
上記課題を解決する線状発光体の一つの特徴は、透光性を備える長尺状の保護材と、発光基布とを備え、前記発光基布は、耐熱性と柔軟性を備え前記保護材内に配設可能な幅を有する長尺状の帯状基布と、前記帯状基布の長手方向に沿って導電性糸が縫い付けられることで前記帯状基布の前記導電性糸が縫い付けられた側の面に電気的に導通するよう構成された電気回路図と、前記電気回路図上において前記帯状基布の長手方向に沿って配設されており、前記電気回路図と電気的に接続されている複数の発光素子とを有し、前記発光基布が前記保護材の内部において前記保護材の長手方向に沿って配設された構成とされる。
【0008】
上記構成の一つの特徴及び利点は、線状発光体は、透光性を備える長尺状の保護材の内部に長尺状の発光基布が配設された構成である。発光基布は、長尺状の帯状基布の導電性糸が縫い付けられた側の面に電気的に導通するよう構成された電気回路図と、電気回路図上に配設され電気回路図と電気的に接続されている複数の発光素子を有している。複数の発光素子が帯状基布の長手方向に沿って配設された構成により、発光基布の任意の箇所に発光素子を複数配設した線状発光体を構成できる。すなわち、線状発光体の光源を長手方向に沿って複数配設することにより、線状発光体の長手方向に亘り所望の明るさで発光させることができる。さらに、発光素子を含む発光基布を保護材で覆うことで、利用者が光源に直接触れることによる故障や、接続部分の剥離等の発生を抑制でき、耐久性向上を図ることができる。
【0009】
上記線状発光体について、前記電気回路図は、前記帯状基布上において上糸と下糸の少なくとも一方が前記導電性糸によって縫い付けられた構成であり、前記帯状基布が螺旋状に捻じれた状態で前記保護材の内部において前記保護材の長手方向に沿って配設されている構成としても良い。
【0010】
上記構成の一つの特徴及び利点は、発光基布は、柔軟性を備えた帯状基布の少なくとも一方の面に電気回路図が構成され、電気回路図上に複数の発光素子が配設されている。保護材の内部に発光基布を螺旋状に捻じれた状態で配設することにより、発光素子が保護材の長手方向中心軸から多方向を向くように配置され、保護材の周方向における発光範囲をより広くできる。
(【0011】以降は省略されています)
この特許をJ-PlatPat(特許庁公式サイト)で参照する
関連特許
株式会社TISM
線状発光体
7日前
株式会社TISM
回路基板及び電子基板
7日前
国立大学法人東海国立大学機構
能動体、能動体の製造方法および能動体の作動方法
今日
個人
照明装置
28日前
個人
室外機器
5か月前
個人
照明システム
5か月前
個人
消火器設置表示装置
1か月前
個人
車載機器の通気構造
2か月前
株式会社遠藤照明
照明器具
6か月前
株式会社遠藤照明
照明装置
2か月前
デンカ株式会社
照明装置
5か月前
能美防災株式会社
表示灯
2か月前
株式会社小糸製作所
車両用灯具
1か月前
日亜化学工業株式会社
面状光源
8日前
株式会社小糸製作所
車両用灯具
1か月前
個人
LEDライト
5か月前
デンカ株式会社
道路用照明
5か月前
フルトラム株式会社
光学機器
1か月前
株式会社小糸製作所
投光装置
2か月前
スタンレー電気株式会社
照射用光源
2か月前
株式会社小糸製作所
投光装置
2か月前
アクア株式会社
冷蔵庫
4か月前
株式会社小糸製作所
誘導装置
2か月前
株式会社小糸製作所
車両用灯具
1か月前
株式会社小糸製作所
車両用灯具
1か月前
株式会社小糸製作所
表示用灯具
2か月前
株式会社小糸製作所
車両用灯具
1か月前
株式会社小糸製作所
車両用灯具
5か月前
株式会社小糸製作所
車両用灯具
4か月前
株式会社小糸製作所
車両用灯具
今日
株式会社小糸製作所
車両用灯具
1か月前
株式会社小糸製作所
車両用灯具
1か月前
株式会社小糸製作所
車両用灯具
5か月前
株式会社小糸製作所
表示用灯具
2か月前
株式会社小糸製作所
車両用灯具
5か月前
株式会社小糸製作所
車両用灯具
5か月前
続きを見る
他の特許を見る