TOP
|
特許
|
意匠
|
商標
特許ウォッチ
Twitter
他の特許を見る
10個以上の画像は省略されています。
公開番号
2025172903
公報種別
公開特許公報(A)
公開日
2025-11-26
出願番号
2025146425,2023565973
出願日
2025-09-03,2022-04-27
発明の名称
照明装置
出願人
エルジー イノテック カンパニー リミテッド
代理人
個人
,
個人
,
個人
,
個人
,
個人
,
個人
,
個人
,
個人
,
個人
主分類
F21S
2/00 20160101AFI20251118BHJP(照明)
要約
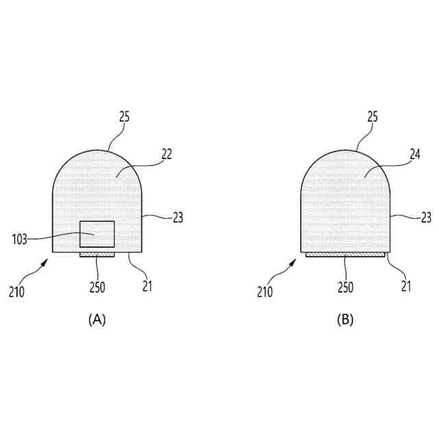
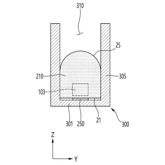
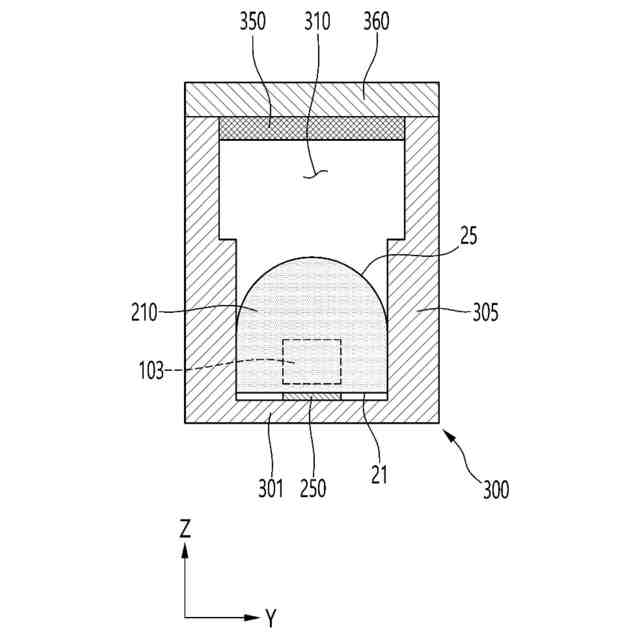
【課題】レール形状またはバー形状を有する樹脂層の底面に光波長変換層を有する照明装置を提供する。
【解決手段】照明装置は、反射部材300と、前記反射部材の上に配置される樹脂層210と、前記樹脂層の一側面に対応するように配置される発光素子103と、前記樹脂層の一面上に配置される光波長変換層250とを含み、前記光波長変換層250は、前記樹脂層210の長軸方向に配置されたメイン蛍光体パターンを含み、前記メイン蛍光体パターンは、第1領域に配置された第1単位蛍光体パターンと、第2領域に配置された第2単位蛍光体パターンを含み、前記第1領域は、前記第2領域よりも前記発光素子に隣接して配置され、前記第1単位蛍光体パターンの幅は、前記第2単位蛍光体パターンの幅より小さくてもよい。
【選択図】図3
特許請求の範囲
【請求項1】
反射部材と、
前記反射部材の上に配置される樹脂層と、
前記樹脂層の一側面に対応するように配置される発光素子と、
前記樹脂層の一面上に配置される光波長変換層と、
を含み、
前記光波長変換層は、前記樹脂層の長軸方向に配置されたメイン蛍光体パターンを含み、
前記メイン蛍光体パターンは、第1領域に配置された第1単位蛍光体パターンと、第2領域に配置された第2単位蛍光体パターンを含み、
前記第1領域は、前記第2領域よりも前記発光素子に隣接して配置され、
前記第1単位蛍光体パターンの幅は、前記第2単位蛍光体パターンの幅より小さい照明装置。
続きを表示(約 1,000 文字)
【請求項2】
前記メイン蛍光体パターンは、前記第2領域に隣接した第3領域に配置された第3単位蛍光体パターンを含み、
前記第2領域は、前記第1領域と前記第3領域の間に配置され、
前記第3単位蛍光体パターンの幅は、前記第1単位蛍光体パターンの幅より大きい、請求項1に記載の照明装置。
【請求項3】
前記第1~第3単位蛍光体パターンの長さは、同一である、請求項2に記載の照明装置。
【請求項4】
前記光波長変換層は、前記第1領域に配置され、前記第1単位蛍光体パターンと離隔して配置されるサブ蛍光体パターンを含む、請求項1または2に記載の照明装置。
【請求項5】
前記サブ蛍光体パターンは、互いに離隔された複数の単位サブ蛍光体パターンを含み、
前記複数の単位サブ蛍光体パターンの断面積は、互いに同一である、請求項4に記載の照明装置。
【請求項6】
前記複数の単位サブ蛍光体パターンの間の隔離距離は、互いに同一である、請求項5に記載の照明装置。
【請求項7】
前記第1単位蛍光体パターンの蛍光体濃度は、前記第2単位蛍光体パターンの蛍光体濃度と同一である、請求項1または2に記載の照明装置。
【請求項8】
前記樹脂層上に配置された有色光学層を含み、
前記有色光学層は、前記光波長変換層から発光された光は放出し、前記発光素子から出射した光と同じ波長帯の光の放出は制限する、請求項1または2に記載の照明装置。
【請求項9】
反射部材と、
前記反射部材の上に配置される樹脂層と、
前記樹脂層の一側面に対応するように配置される発光素子と、
前記樹脂層の一面上に配置される光波長変換層と、
を含み、
前記光波長変換層は、前記樹脂層の長軸方向に配置されたメイン蛍光体パターンと、前記メイン蛍光体パターンと離隔されたサブ蛍光体パターンを含み、
前記メイン蛍光体パターンは、第1領域に配置された第1単位蛍光体パターンを含み、
前記サブ蛍光体パターンは、前記第1領域に配置され、前記第1単位蛍光体パターンと離隔して配置される複数の単位サブ蛍光体パターンを含む、照明装置。
【請求項10】
前記光波長変換層は、前記樹脂層と前記反射部材の間に配置される、請求項9に記載の照明装置。
(【請求項11】以降は省略されています)
発明の詳細な説明
【技術分野】
【0001】
発明の実施例は、レール(rail)形態の照明装置に関するものである。発明の実施例は、レール照明を有するライトユニット、表示装置、または車両用ランプに関するものである。
続きを表示(約 1,800 文字)
【背景技術】
【0002】
通常の照明の応用は、車両用照明(light)だけではなく、ディスプレイ及び看板用バックライトを含む。発光素子、例えば、発光ダイオード(LED)は、蛍光灯、白熱灯等既存の光源に比べて低消費電力、半永久的な寿命、はやい応答速度、安全性、環境にやさしい等の長所がある。このような発光素子は、各種表示装置、室内灯または室外灯のような各種照明装置に適用されている。最近では、車両用発光素子として発光素子を採用するランプが提案されている。白熱灯と比較すると、発光素子は、消費電力が小さい点で有利である。しかし、発光素子から出射される光の出射角が小さいので、発光素子を利用したランプの発光面積の増加に関する要求がある。発光素子は、サイズが小さいので、ランプのデザイン自由度を高めることができ、半永久的な寿命により経済性もある。
【発明の概要】
【発明が解決しようとする課題】
【0003】
発明の実施例は、一方向に長い形状を有する照明装置を提供することができる。発明の実施例は、レール形状またはバー形状を有する樹脂層の底面に光波長変換層を有する照明装置を提供することができる。発明の実施例は、樹脂層の底面に長軸方向のセンター領域にメイン蛍光体パターン及び長軸方向のエッジ領域にサブ蛍光体パターンを有する照明装置を提供することができる。発明の実施例は、レール照明を有するライトユニット、表示装置、車両用ランプを提供することができる。
【課題を解決するための手段】
【0004】
発明の実施例に係る照明装置は、反射部材と、前記反射部材の上に配置される樹脂層と、前記樹脂層の一側面に対応するように配置される発光素子と、前記樹脂層の一面上に配置される光波長変換層とを含み、前記光波長変換層は、前記樹脂層の長軸方向に配置されたメイン蛍光体パターンを含み、前記メイン蛍光体パターンは、第1領域に配置された第1単位蛍光体パターンと、第2領域に配置された第2単位蛍光体パターンを含み、前記第1領域は、前記第2領域よりも前記発光素子に隣接して配置され、前記第1単位蛍光体パターンの幅は、前記第2単位蛍光体パターンの幅より小さくてもよい。
【0005】
発明の実施例によれば、前記メイン蛍光体パターンは、前記第2領域に隣接した第3領域に配置された第3単位蛍光体パターンを含み、前記第2領域は、前記第1領域と前記第3領域の間に配置され、前記第3単位蛍光体パターンの幅は、前記第1単位蛍光体パターンの幅より大きくてもよい。前記第1~第3単位蛍光体パターンの長さは、同一であってもよい。
【0006】
発明の実施例によれば、前記光波長変換層は、前記第1領域に配置され、前記第1単位蛍光体パターンと離隔して配置されるサブ蛍光体パターンを含むことができる。前記サブ蛍光体パターンは、互いに離隔された複数の単位サブ蛍光体パターンを含み、前記複数の単位サブ蛍光体パターンの断面積は、互いに同一であってもよい。
【0007】
発明の実施例によれば、前記複数の単位サブ蛍光体パターンの間の隔離距離は、互いに同一であってもよい。前記第1単位蛍光体パターンの蛍光体濃度は、前記第2単位蛍光体パターンの蛍光体濃度と同一であってもよい。
【0008】
発明の実施例によれば、前記樹脂層上に配置された有色光学層を含み、前記有色光学層は、前記光波長変換層から発光された光は放出し、前記発光素子から出射した光と同じ波長帯の光の放出は制限することができる。
【0009】
発明の実施例に係る照明装置は、反射部材と、前記反射部材の上に配置される樹脂層と、前記樹脂層の一側面に対応するように配置される発光素子と、前記樹脂層の一面上に配置される光波長変換層とを含み、前記光波長変換層は、前記樹脂層の長軸方向に配置されたメイン蛍光体パターンと、前記メイン蛍光体パターンと離隔されたサブ蛍光体パターンを含み、前記メイン蛍光体パターンは、第1領域に配置された第1単位蛍光体パターンを含み、前記サブ蛍光体パターンは、前記第1領域に配置され、前記第1単位蛍光体パターンと離隔して配置される複数の単位サブ蛍光体パターンを含むことができる。
【0010】
発明の実施例によれば、前記光波長変換層は、前記樹脂層と前記反射部材の間に配置される。
(【0011】以降は省略されています)
この特許をJ-PlatPat(特許庁公式サイト)で参照する
関連特許
個人
照明装置
20日前
個人
室外機器
5か月前
個人
照明システム
4か月前
個人
気泡を用いた遊具。
7か月前
個人
車載機器の通気構造
2か月前
個人
消火器設置表示装置
1か月前
株式会社遠藤照明
照明装置
2か月前
株式会社遠藤照明
照明器具
6か月前
能美防災株式会社
表示灯
2か月前
日亜化学工業株式会社
面状光源
今日
デンカ株式会社
照明装置
5か月前
株式会社小糸製作所
車両用灯具
1か月前
株式会社小糸製作所
車両用灯具
1か月前
個人
LEDライト
4か月前
デンカ株式会社
道路用照明
5か月前
株式会社小糸製作所
誘導装置
2か月前
瀧住電機工業株式会社
ダクトレール
8か月前
株式会社小糸製作所
投光装置
2か月前
株式会社小糸製作所
投光装置
2か月前
スタンレー電気株式会社
照射用光源
1か月前
フルトラム株式会社
光学機器
1か月前
アクア株式会社
冷蔵庫
3か月前
株式会社小糸製作所
車両用灯具
1か月前
株式会社オカムラ
間仕切り装置
8か月前
株式会社小糸製作所
車両用灯具
8か月前
株式会社小糸製作所
車両用灯具
4か月前
株式会社小糸製作所
表示用灯具
1か月前
株式会社小糸製作所
車両用灯具
4か月前
株式会社小糸製作所
車両用灯具
5か月前
株式会社小糸製作所
表示用灯具
1か月前
株式会社小糸製作所
車両用灯具
4か月前
株式会社小糸製作所
車両用灯具
5か月前
株式会社小糸製作所
車両用灯具
1か月前
株式会社小糸製作所
描画用灯具
8か月前
株式会社小糸製作所
車両用灯具
1か月前
株式会社小糸製作所
車両用灯具
5か月前
続きを見る
他の特許を見る