TOP
|
特許
|
意匠
|
商標
特許ウォッチ
Twitter
他の特許を見る
10個以上の画像は省略されています。
公開番号
2025172857
公報種別
公開特許公報(A)
公開日
2025-11-26
出願番号
2025141493,2024066670
出願日
2025-08-27,2020-07-02
発明の名称
シースルーピクセルアレイ内のアーチファクトを軽減するための幾何学形状
出願人
マジック リープ, インコーポレイテッド
,
Magic Leap,Inc.
代理人
個人
,
個人
,
個人
主分類
G02F
1/13 20060101AFI20251118BHJP(光学)
要約
【課題】シースルーピクセルアレイ内のアーチファクトを軽減するための幾何学形状の提供。
【解決手段】開示されるものは、光学的に透過性のディスプレイによって生産されたアーチファクトを低減させるための調光アセンブリおよびディスプレイシステムである。本システムは、その上に複数の電子コンポーネントが配置される、基板を含んでもよい。電子コンポーネントは、複数のピクセルと、複数の導体と、複数の回路モジュールとを含んでもよい。複数のピクセルは、2次元アレイに配列されてもよく、各ピクセルは、少なくとも1つの湾曲側を伴う形状に対応する、2次元幾何学形状を有する。複数の導体は、複数のピクセルに隣接して配列されてもよい。本システムはまた、複数の導体に電気的に結合される、制御回路網を含んでもよい。制御回路網は、複数の導体を用いて、電気信号を複数の回路モジュールに印加するように構成されてもよい。
【選択図】図10
特許請求の範囲
【請求項1】
調光アセンブリであって、
基板と、
前記基板の上方に配置されている複数のピクセル電極であって、前記複数のピクセル電極のそれぞれは、複数の湾曲した辺を有する形状に対応する2次元幾何学形状を有する、複数のピクセル電極と、
複数の導体であって、前記複数の導体のそれぞれは、前記複数のピクセル電極のうちの隣接する2つのピクセル電極の間に配置されている、複数の導体と、
前記複数の導体の複数の交差部に位置付けられている複数の回路モジュールであって、前記複数の回路モジュールのそれぞれは、(i)前記複数のピクセル電極のうちの1つのピクセル電極と、(ii)前記複数の導体のうちの2つの導体とに電気的に結合されている、複数の回路モジュールと、
前記複数の導体と前記複数の回路モジュールとに整合するように位置付けられている光遮断マスクであって、前記光遮断マスクは、前記複数の導体の前記複数の交差部のそれぞれに湾曲した占有面積を有し、前記複数の回路モジュールのそれぞれは、前記複数の導体の前記複数の交差部のうちの1つにおいて、前記光遮断マスクの前記湾曲した占有面積内に全体として位置付けられている、光遮断マスクと
を備える調光アセンブリ。
続きを表示(約 740 文字)
【請求項2】
前記調光アセンブリは、前記複数の導体に電気的に結合されている制御回路網をさらに備え、前記制御回路網は、前記複数の導体を用いて、複数の電気信号を前記複数の回路モジュールに印加するように構成されている、請求項1に記載の調光アセンブリ。
【請求項3】
前記隣接する2つのピクセル電極の間の前記光遮断マスクの幅は、前記隣接する2つのピクセル電極の間の間隔の幅よりも大きい、請求項1に記載の調光アセンブリ。
【請求項4】
前記複数の導体のそれぞれは、前記複数のピクセル電極のうちの2つのピクセル電極の2次元幾何学形状に沿って湾曲した経路に追従する、請求項1に記載の調光アセンブリ。
【請求項5】
前記基板は、光学的に透過性の基板である、請求項1に記載の調光アセンブリ。
【請求項6】
前記調光アセンブリは、前記基板の上方に配置されている平面電極層をさらに備える、請求項1に記載の調光アセンブリ。
【請求項7】
前記調光アセンブリは、前記平面電極層と前記複数のピクセル電極との間に位置付けられている層をさらに備え、前記層は、電場に応答する、請求項6に記載の調光アセンブリ。
【請求項8】
電場に応答する前記層は、液晶層である、請求項7に記載の調光アセンブリ。
【請求項9】
前記複数のピクセル電極は、特定の平面充填を形成する、請求項1に記載の調光アセンブリ。
【請求項10】
前記複数の湾曲した辺のそれぞれは、半円、蛇行、シヌソイド、または、これらの組み合わせである、請求項1に記載の調光アセンブリ。
(【請求項11】以降は省略されています)
発明の詳細な説明
【技術分野】
【0001】
(関連出願の相互参照)
本願は、その全内容が、あらゆる目的のために、参照することによって本明細書に組み込まれる、2019年7月5日に出願され、「GEOMETRIES FOR MITIGATING ARTIFACTS IN SEE-THROUGH PIXEL ARRAYS」と題された、米国仮特許出願第62/870,896号の優先権の利益を主張する。
(参照による組み込み)
続きを表示(約 2,400 文字)
【0002】
本願は、参照することによって、以下の特許出願、すなわち、2017年4月5日に出願され、2017年10月12日に米国特許公開第2017/0293141号として公開された、米国特許出願第15/479,700号、「SPATIALLY-RESOLVED DYNAMIC DIMMING FOR AUGMENTED REALITY DEVICE」と題され、2018年8月31日に出願された、米国仮特許出願第62/725,993号、「SYSTEMS AND METHODS FOR EXTERNAL LIGHT MANAGEMENT」と題され、2018年9月14日号に出願された、米国仮特許出願第62/731,755号、および「SPATIALLY-RESOLVED DYNAMIC DIMMING FOR AUGMENTED REALITY DEVICE」と題され、2019年6月6日に出願された、米国仮特許出願第62/858,252号のそれぞれの全体を組み込む。
【背景技術】
【0003】
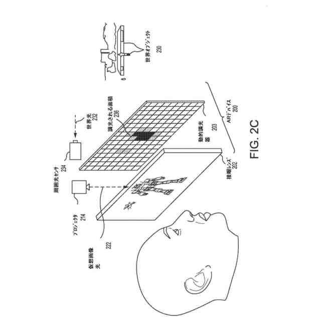
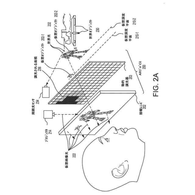
現代のコンピューティングおよびディスプレイ技術は、いわゆる「仮想現実」または「拡張現実」体験のためのシステムの開発を促進しており、デジタル的に再現された画像またはその一部が、現実であるように見える、またはそのように知覚され得る様式で、ユーザに提示される。仮想現実、すなわち、「VR」シナリオは、典型的には、他の実際の実世界の視覚的入力に対する透過性を伴わずに、デジタルまたは仮想画像情報の提示を伴う。拡張現実、すなわち、「AR」シナリオは、典型的には、ユーザの周囲の実際の世界の可視化に対する拡張としてのデジタルまたは仮想画像情報の提示を伴う。
【0004】
これらのディスプレイ技術において成された進歩にもかかわらず、当技術分野において、拡張現実システム、特に、ディスプレイシステムに関連する、改良された方法、システム、およびデバイスの必要性が存在する。
【発明の概要】
【課題を解決するための手段】
【0005】
本開示は、概して、広範囲の周囲光条件下での光学システムを改良するための技法に関する。より具体的には、本開示の実施形態は、実世界光源に起因するアーチファクトを低減させる、調光要素を備える、拡張現実(AR)デバイスを動作させるためのシステムおよび方法を提供する。本開示は、ARデバイスを参照して説明されるが、本開示は、コンピュータビジョンおよび画像ディスプレイシステムにおける種々の用途に適用可能である。
【0006】
本発明の概要が、実施例の一覧を参照して下記に提供される。下記で使用されるように、一連の実施例の任意の参照は、それらの実施例のそれぞれの分離参照として理解されるべきである(例えば、「実施例1-4」は、「実施例1、2、3、または4」として理解されるべきである)。
【0007】
実施例1は、調光アセンブリであって、その上に複数の電子コンポーネントが配置される、光学的に透過性の基板であって、電子コンポーネントは、2次元アレイ内で相互から離間して配列される、複数の電極であって、それぞれ、複数の湾曲側を伴う形状に対応する、2次元幾何学形状を有する、複数の電極と、2次元格子模様内で複数の電極に隣接して配列される、複数の導体であって、それぞれ、複数の電極からの隣接する電極の2次元幾何学形状に共形化する、湾曲経路に追従する、複数の導体と、2次元アレイ内で複数の電極に隣接して配列される、複数の回路モジュールであって、それぞれ、(i)複数の電極からの個別の電極、および(ii)複数の導体からの個別の対の導体に電気的に結合される、複数の回路モジュールとを備える、基板と、複数の電極と整合するように位置付けられる、平面電極層と、光学的に透過性の基板と平面電極層との間に位置付けられる、1つ以上の層であって、電場に応答する、材料の1つ以上の層を備える、1つ以上の層と、複数の導体および平面電極層に電気的に結合される、制御回路網であって、複数の導体を用いて、電気信号を複数の回路モジュールに印加し、平面電極層と、それぞれ、2次元アレイ内の複数の電極のうちの1つ以上のものとの間に、1つ以上の電場を選択的に生成するように構成される、制御回路網とを備える、調光アセンブリである。
【0008】
実施例2は、ディスプレイシステムであって、その上に複数の電子コンポーネントが配置される、基板であって、電子コンポーネントは、2次元アレイに配列される、複数のピクセルであって、それぞれ、少なくとも1つの湾曲側を伴う形状に対応する、2次元幾何学形状を有する、複数のピクセルと、複数のピクセルに隣接して配列される、複数の導体と、複数のピクセルに隣接して配列される、複数の回路モジュールであって、それぞれ、複数のピクセルからの個別のピクセル、および複数の導体からの少なくとも1つの導体に電気的に結合される、複数の回路モジュールとを備える、基板と、複数の導体に電気的に結合される、制御回路網であって、複数の導体を用いて、電気信号を複数の回路モジュールに印加するように構成される、制御回路網とを備える、ディスプレイシステムである。
【0009】
実施例3は、複数の導体がそれぞれ、複数のピクセルからの隣接するピクセルの2次元幾何学形状に共形化する、湾曲経路に追従する、実施例2に記載のディスプレイシステムである。
【0010】
実施例4は、基板が、光学的に透過性の基板である、実施例2-3に記載のディスプレイシステムである。
(【0011】以降は省略されています)
特許ウォッチbot のツイートを見る
この特許をJ-PlatPat(特許庁公式サイト)で参照する
関連特許
個人
立体像表示装置
1か月前
住友化学株式会社
偏光板
1か月前
カンタツ株式会社
光学系
1か月前
株式会社シグマ
結像光学系
21日前
株式会社シグマ
結像光学系
1か月前
住友化学株式会社
垂直偏光板
1か月前
東レ株式会社
赤外線遮蔽構成体
1か月前
東レ株式会社
貼合体の製造方法
1か月前
日本精機株式会社
ミラーユニット
1か月前
古河電気工業株式会社
融着機
1か月前
日本電気株式会社
光モジュール
1か月前
個人
多方向視差効果のための微細穴加工
1か月前
日東電工株式会社
導光部材
21日前
株式会社コシナ
投射ズームレンズ
14日前
豊田合成株式会社
調光装置
8日前
個人
眼鏡装着位置変更具および眼鏡
1か月前
京セラ株式会社
光学系
29日前
日東電工株式会社
光学積層体
23日前
三菱電機株式会社
レンズモジュール
1か月前
AGC株式会社
インフィニティミラー
1か月前
日本精機株式会社
ヘッドアップディスプレイ
24日前
住友化学株式会社
偏光板
1か月前
日本精機株式会社
ヘッドアップディスプレイ
21日前
住友化学株式会社
偏光板
1か月前
キヤノン株式会社
表示装置
今日
住友化学株式会社
光学積層体
1か月前
京セラ株式会社
アイソレータ
今日
住友化学株式会社
偏光積層体
1か月前
マクセル株式会社
映像表示装置
14日前
新光電気工業株式会社
光導波路部品
1か月前
新光電気工業株式会社
光導波路部品
1か月前
日本精機株式会社
ヘッドアップディスプレイ装置
21日前
日本精機株式会社
ヘッドアップディスプレイ装置
22日前
株式会社リコー
光走査装置及び画像形成装置
21日前
株式会社タムロン
ズームレンズ及び撮像装置
29日前
レーザーテック株式会社
光学装置及び調整方法
21日前
続きを見る
他の特許を見る