TOP
|
特許
|
意匠
|
商標
特許ウォッチ
Twitter
他の特許を見る
10個以上の画像は省略されています。
公開番号
2025171830
公報種別
公開特許公報(A)
公開日
2025-11-20
出願番号
2024077534
出願日
2024-05-10
発明の名称
判定方法、制御方法、プログラム、データ処理装置、及び制御システム
出願人
エナジーウィズ株式会社
代理人
弁理士法人太陽国際特許事務所
主分類
G01R
31/392 20190101AFI20251113BHJP(測定;試験)
要約
【課題】本開示は、複数の蓄電池の運用中において、一群の蓄電池の特徴を個別に分析せずに判定する判定方法、制御方法、プログラム、判定装置、制御システム、蓄電システム、及び発電システムの提供を目的とする。
【解決手段】複数の蓄電池44の状態に関するパラメータを測定し、パラメータについて複数の経時変化データ27Cを作成することと、複数の蓄電池44を、蓄電池44の経時変化データ27Cに基づいて一群として分類することと、一群に含まれる複数の蓄電池44と対応する経時変化データ27Cに基づいて、一群の蓄電池44の特徴を判定することと、を実行する。
【選択図】図9
特許請求の範囲
【請求項1】
複数の蓄電池の状態に関するパラメータを測定し、前記パラメータについて複数の経時変化データを作成することと、
複数の前記蓄電池を、前記蓄電池の前記経時変化データに基づいて一群として分類することと、
前記一群に含まれる複数の前記蓄電池と対応する経時変化データに基づいて、前記一群の蓄電池の特徴を判定することと、
を実行する、判定方法。
続きを表示(約 970 文字)
【請求項2】
前記一群の蓄電池の特徴を判定することでは、前記一群の蓄電池と対応する経時変化データの特徴が、劣化したと判定された他の蓄電池における経時変化データと類似している場合に、前記一群の蓄電池の特徴を、劣化の可能性が大きい一群であると判定する、
請求項1に記載の、判定方法。
【請求項3】
前記他の蓄電池を、前記一群の蓄電池と一体的に使用されている蓄電池から選ぶ、
請求項2に記載の、判定方法。
【請求項4】
前記一群の蓄電池の特徴を判定することを、当該一群の蓄電池の個数が予め定められた個数よりも多い場合に実行する、
請求項1に記載の、判定方法。
【請求項5】
請求項1から請求項4のいずれか一項に記載の判定方法で判定された前記一群の蓄電池の特徴に基づいて、前記蓄電池の状態に関するパラメータを制御する、
制御方法。
【請求項6】
複数の蓄電池の状態に関するパラメータを測定し、前記パラメータについて複数の経時変化データを作成することと、
複数の前記蓄電池を、前記蓄電池の前記経時変化データに基づいて一群として分類することと、
前記一群に含まれる複数の前記蓄電池と対応する経時変化データに基づいて、前記一群の蓄電池の特徴を判定することと、
をプロセッサに実行させる、プログラム。
【請求項7】
記録部と、
プロセッサと、
を備え、
前記プロセッサは、
複数の蓄電池の状態に関するパラメータを測定し、前記パラメータについて複数の経時変化データを作成することと、
複数の前記蓄電池を、前記蓄電池の前記経時変化データに基づいて一群として分類することと、
前記一群に含まれる複数の前記蓄電池と対応する経時変化データに基づいて、前記一群の蓄電池の特徴を判定することと、
を実行する、データ処理装置。
【請求項8】
前記一群の蓄電池の特徴に基づいて、前記蓄電池を制御する設定条件を設定すること、を実行する請求項7に記載のデータ処理装置と、
前記設定条件に基づいて蓄電池の状態を制御する制御部と、
を備える、制御システム。
発明の詳細な説明
【技術分野】
【0001】
本開示は、判定方法、制御方法、プログラム、データ処理装置、及び制御システムに関する。
続きを表示(約 1,400 文字)
【背景技術】
【0002】
例えば特許文献1には、蓄電素子に対する測定データを処理するデータ処理装置であって、前記蓄電素子毎、又は、複数の前記蓄電素子をグループ分けした蓄電素子群毎に測定された測定データが入力された場合に、前記測定データに異質な蓄電素子の測定データが含まれているか否かに対応するスコアを出力するように学習された判定モデルを記憶した記憶部と、取得した測定データを前記判定モデルへ入力して出力されたスコアに基づいて異質な蓄電素子の測定データを特定する特定部とを備えるデータ処理装置が開示されている。
【先行技術文献】
【特許文献】
【0003】
特許第7310137号公報
【発明の概要】
【発明が解決しようとする課題】
【0004】
再生可能エネルギーを利用した発電・蓄電システムにおいて使用される蓄電部には、直列又は並列に接続された複数の蓄電池が組み合わされている。これらの蓄電池は、個別の蓄電池の個体差により、それぞれ劣化の程度や寿命等の特徴が異なりやすい。また、発電システムにおいて用いられる蓄電池が多数であることから、個別の蓄電池についてその特徴の判定を行うことは、保守管理に対する費用の増加につながる。
【0005】
本開示は、複数の蓄電池の運用中において、一群の蓄電池の特徴を個別に分析せずに判定する判定方法、制御方法、プログラム、判定装置、制御システム、蓄電システム、及び発電システムの提供を目的とする。
【課題を解決するための手段】
【0006】
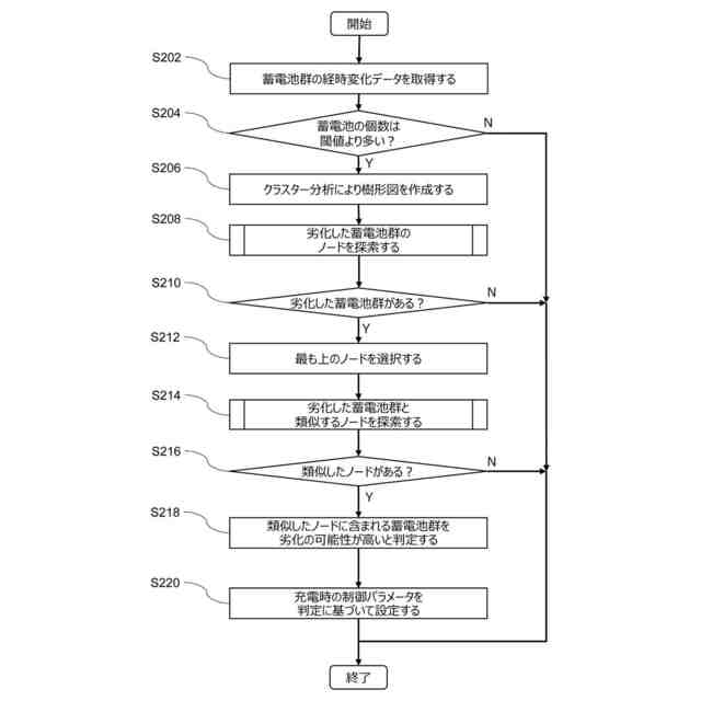
第一態様の判定方法は、複数の蓄電池の状態に関するパラメータを測定し、前記パラメータについて複数の経時変化データを作成することと、複数の前記蓄電池を、前記蓄電池の前記経時変化データに基づいて一群として分類することと、前記一群に含まれる複数の前記蓄電池と対応する経時変化データに基づいて、前記一群の蓄電池の特徴を判定することと、を実行する。
【0007】
この態様に係る判定方法では、複数の蓄電池を経時変化データに基づいて一群として分類してから、一群の蓄電池の特徴を判定する。このため、この態様に係る判定方法では、複数の蓄電池の運用中において、一群の蓄電池の特徴を個別に分析せずに判定することができる。
【0008】
第二態様の判定方法は、第一態様に記載の判定方法において、前記一群の蓄電池の特徴を判定することでは、前記一群の蓄電池と対応する経時変化データの特徴が、劣化したと判定された他の蓄電池における経時変化データと類似している場合に、前記一群の蓄電池の特徴を、劣化の可能性が大きい一群であると判定する。
【0009】
この態様に係る判定方法では、一群の蓄電池の経時変化データが、劣化したと判定された蓄電池の特徴と類似している場合に、一群の蓄電池の特徴を、劣化の可能性が大きい一群であると判定する。これにより、この態様に係る判定方法では、劣化の可能性が高い蓄電池に対する予防保全を行いやすい。
【0010】
第三態様の判定方法は、第二態様に記載の判定方法において、前記他の蓄電池を、前記一群の蓄電池と一体的に使用されている蓄電池から選ぶ。
(【0011】以降は省略されています)
この特許をJ-PlatPat(特許庁公式サイト)で参照する
関連特許
個人
採尿及び採便具
22日前
日本精機株式会社
検出装置
16日前
個人
計量機能付き容器
11日前
個人
高精度同時多点測定装置
1か月前
個人
アクセサリー型テスター
1か月前
株式会社カクマル
境界杭
1日前
甲神電機株式会社
電流検出装置
16日前
株式会社ミツトヨ
測定器
28日前
アズビル株式会社
電磁流量計
1か月前
大成建設株式会社
風洞実験装置
11日前
トヨタ自動車株式会社
監視装置
1か月前
ダイキン工業株式会社
監視装置
1か月前
個人
システム、装置及び実験方法
1か月前
愛知電機株式会社
軸部材の外観検査装置
25日前
長崎県
形状計測方法
1か月前
TDK株式会社
磁気センサ
1か月前
双庸電子株式会社
誤配線検査装置
17日前
ローム株式会社
半導体装置
1か月前
ローム株式会社
半導体装置
1か月前
大和製衡株式会社
組合せ計量装置
25日前
日本信号株式会社
距離画像センサ
14日前
個人
非接触による電磁パルスの測定方法
14日前
愛知時計電機株式会社
ガスメータ
28日前
日本特殊陶業株式会社
ガスセンサ
9日前
個人
計量具及び計量機能付き容器
11日前
大和製衡株式会社
組合せ計量装置
25日前
日本特殊陶業株式会社
センサ
28日前
株式会社不二越
X線測定装置
14日前
キーコム株式会社
画像作成システム
1日前
トヨタ自動車株式会社
測定システム
1か月前
日本特殊陶業株式会社
センサ
1か月前
日東精工株式会社
振動波形検査装置
17日前
日本特殊陶業株式会社
センサ
1か月前
日本特殊陶業株式会社
センサ
1か月前
個人
液位検視及び品質監視システム
9日前
株式会社デンソー
電流センサ
1か月前
続きを見る
他の特許を見る