TOP
|
特許
|
意匠
|
商標
特許ウォッチ
Twitter
他の特許を見る
公開番号
2025170273
公報種別
公開特許公報(A)
公開日
2025-11-18
出願番号
2025130270,2024530414
出願日
2025-08-04,2021-12-01
発明の名称
半導体ベースの単一光子放出計算断層撮影検出器のためのインタポーザ
出願人
シーメンス メディカル ソリューションズ ユーエスエー インコーポレイテッド
,
Siemens Medical Solutions USA,Inc.
代理人
弁理士法人山口・竹本知的財産事務所
,
個人
,
個人
,
個人
主分類
G01T
1/24 20060101AFI20251111BHJP(測定;試験)
要約
【課題】ガンマカメラの半導体センサを試験するための方法を提供する。
【解決手段】SPECTにおける半導体ベースの検出器の試験または製造のために、導体を有するエラストマデバイスなどのインタポーザ106が、キャリアと半導体検出器との間に挟まれ、導体は信号処理回路への検出器電極の一時的な別個の接続を可能にし、信号処理回路を用いて動作する検出器の試験を行い、インタポーザ106は試験のための別個の電気接続を提供する。
【選択図】図1
特許請求の範囲
【請求項1】
単一光子放射型コンピュータ断層撮影(SPECT)検出器システムであって、
第1の検出器表面上に露出した第1の導体を有する半導体を備えるSPECT検出器と、
取り付けられた信号処理回路を有するキャリアであって、第1のキャリア表面上に露出した第2の導体を有するキャリアと、前記SPECT検出器の第1の表面と前記キャリアの第2の表面との間のインタポーザであって、第1のインタポーザ表面と第2のインタポーザ表面との間に延在する第3の導体を有するインタポーザとを備え、前記第3の導体は、前記SPECT検出器の別個の検出セルのための別個の電気経路において前記第1の導体を前記第2の導体と電気的に接続する、インタポーザと、
を備えたSPECT検出器システム。
続きを表示(約 910 文字)
【請求項2】
前記SPECT検出器が、前記第1の導体が前記別個の検出セルのための電気的に絶縁された電極であり、
前記キャリアがプリント回路基板を備え、
前記信号処理回路が、特定用途向け集積回路を含むピクセル化検出器を備える、
請求項1に記載のSPECT検出器システム。
【請求項3】
前記インタポーザが、前記SPECT検出器との接合がない凹凸接触状態にある、請求項1に記載のSPECT検出器システム。
【請求項4】
前記キャリアが、前記SPECT検出器が試験装置内で前記キャリア上の前記インタポーザと取り外し可能に積み重ねられた試験リグ内にある、請求項3に記載のSPECT検出器システム。
【請求項5】
前記インタポーザが、エラストマによって分離された前記第3の導体のアレイを備える、請求項1に記載のSPECT検出器システム。
【請求項6】
前記別個の電気経路が、前記検出セルのいずれかの間を短絡することなく、前記キャリア上のパッドに前記検出セルを1対1で配置することを含む、請求項1に記載のSPECT検出器システム。
【請求項7】
前記インタポーザが前記第1のインタポーザ表面上にマスクを備え、
前記マスクが前記第3の導体を前記1対1の配置のために露出させる、
請求項6に記載のSPECT検出器システム。
【請求項8】
前記マスクが、前記検出セルのピッチで前記第3の導体を露出させるインタポーザセルを形成する電気絶縁ストリップの誘電体を備え、
前記電気絶縁ストリップは許容誤差スタックアップを収容する幅を有する、
請求項7に記載のSPECT検出器システム。
【請求項9】
前記第3の導体が、前記インタポーザ内に湾曲ワイヤを備える、請求項1に記載のSPECT検出器システム。
【請求項10】
前記第3の導体が、前記インタポーザ内に直線ワイヤを備える、請求項1に記載のSPECT検出器システム。
(【請求項11】以降は省略されています)
発明の詳細な説明
【技術分野】
【0001】
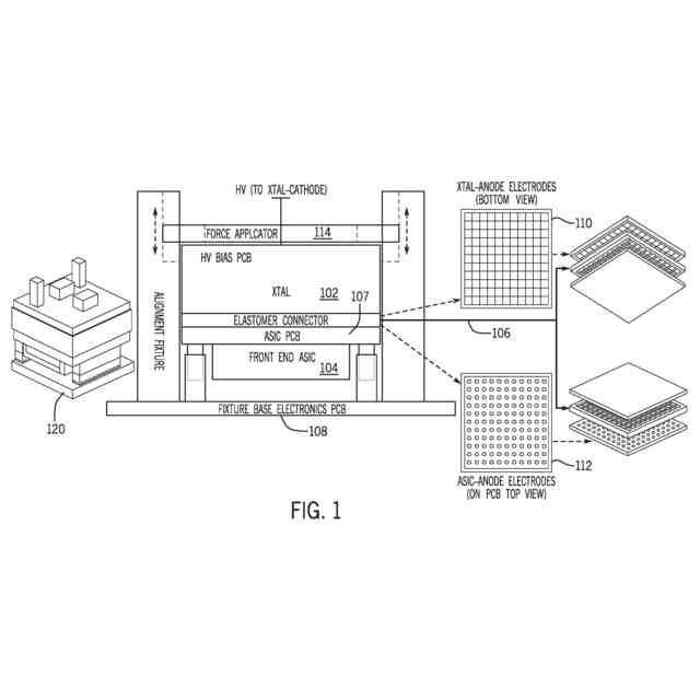
本実施形態は、単一光子放出型コンピュータ断層撮影(SPECT)発明の半導体検出器に関する。電流検出器は、電子機器に取り付ける前に試験される。唯一の試験はプレコンタクトアタッチメントであり、半導体検出器の製造業者は、複数の用途で使用するための検出器を適格にするための基礎として使用する。コネクタを有するキャリアボードは、検出器が中間ステップによって、またはキャリアおよび電子機器との相互作用によって引き起こされる追加の問題を有するかどうかを確認することなく、検出器に取り付けられる。これは今日の問題ではない。なぜなら、検出器を認定するために使用される試験器具はコネクタを有し、これらの検出器を交換するコストは問題が存在するとしても、重要ではないからである。
続きを表示(約 1,500 文字)
【0002】
より深刻な問題は検出器および特定用途向け集積回路(ASIC)がコンパクトで不可分なユニットに組み立てられるように、パッケージが完全に集積されるときに生じる。半導体検出器は、直接取り付け技術を使用する場合、接触後取り付け試験されない。取り付け後に必要に応じて検出器が動作していることの確認はない。正常に動作しない場合は、ASICを含むアセンブリ全体を廃棄する必要がある。
【発明の概要】
【0003】
導入として、以下に記載される好ましい実施形態は、SPECTにおける半導体ベースの検出器の試験または製造のための方法およびシステムを含む。導体を有するエラストマデバイスなどのインタポーザは、キャリアと半導体検出器との間に挟まれる。導体は信号処理回路への検出器電極の一時的な別個の接続を可能にし、信号処理回路を用いて動作する検出器の試験を提供する。インタポーザは試験のための別個の電気接続を提供するが、SPECTシステムで使用するための最終的な完全に一体化された検出器で使用されてもよい。
【0004】
第1の態様では、SPECT検出器システムが第1の検出器表面上に露出した第1の導体を有する半導体であるSPECT検出器を含む。キャリアは、取り付けられた信号処理回路と、第1のキャリア表面上に露出した第2の導体とを有する。インタポーザは、SPECT検出器の第1の表面とキャリアの第2の表面との間にある。インタポーザは、第1および第2のインタポーザ表面の間に延在する第3の導体を有する。第3の導体は、SPECT検出器の別個の検出セルのための別個の電気経路において、第1の導体を第2の導体と電気的に接続する。
【0005】
一実施形態では、SPECT検出器が第1の導体が別個の検出セルのための電気的に絶縁された電極であるピクセル化検出器である。キャリアはプリント回路基板である。信号処理回路は、特定用途向け集積回路である。
【0006】
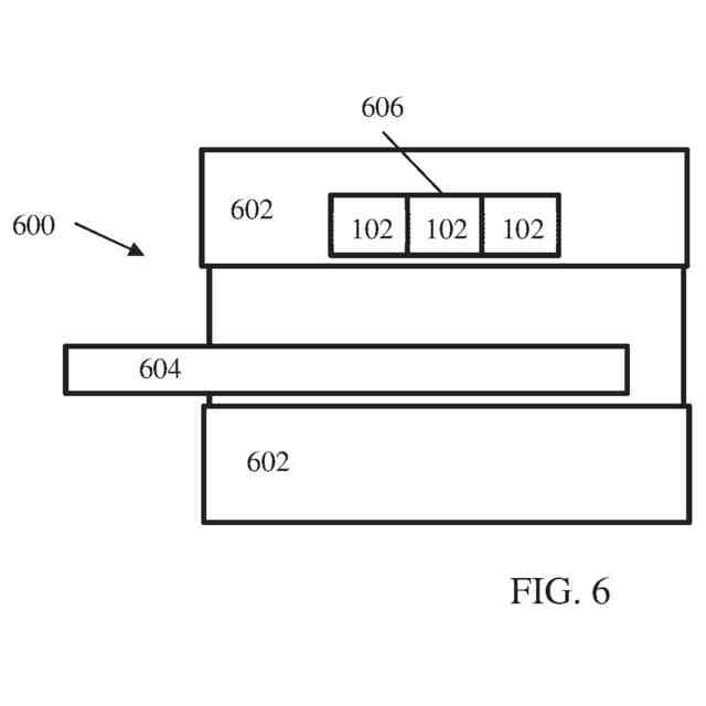
別の実施形態では、インタポーザがSPECT検出器との接合がない凹凸接触状態にある。例えば、キャリアは、試験装置においてキャリア上のインタポーザと取り外し可能に積み重ねられたSPECT検出器を有する試験リグ(rig)内にある。別の実施形態では、SPECT検出器はインタポーザに接合され、インタポーザはキャリアに接合される。
【0007】
さらに別の実施形態では、インタポーザがエラストマによって分離された第3の導体のアレイである。
【0008】
他の実施形態では、別個の電気経路が検出セルのいずれかの間を短絡することなく、キャリア上のパッドへの検出セルの1対1の配置である。第1のインタポーザ表面上にマスクを設けることによって、標準的なインタポーザまたはエラストマデバイスを使用することができる。マスクは、1対1の配置のための第3の導体を露出させる。例えば、マスクは、検出セルのピッチで第3の導体を露出させるインタポーザセルを形成する電気絶縁ストリップの誘電体である。電気絶縁ストリップは、許容誤差スタックアップを収容する幅を有する。
【0009】
いくつかの実施形態では、第3の導体がインタポーザ内の湾曲ワイヤである。他の実施形態では、第3の導体がインタポーザ内の直線ワイヤである。
【0010】
一実施形態では、インタポーザが第1および第2のインタポーザ表面がプレートの平行な最大表面であるプレートである。
(【0011】以降は省略されています)
この特許をJ-PlatPat(特許庁公式サイト)で参照する
関連特許
個人
採尿及び採便具
23日前
日本精機株式会社
検出装置
17日前
個人
アクセサリー型テスター
1か月前
個人
高精度同時多点測定装置
1か月前
個人
計量機能付き容器
12日前
株式会社ミツトヨ
測定器
29日前
甲神電機株式会社
電流検出装置
17日前
株式会社カクマル
境界杭
2日前
アズビル株式会社
電磁流量計
1か月前
大成建設株式会社
風洞実験装置
12日前
トヨタ自動車株式会社
監視装置
1か月前
ダイキン工業株式会社
監視装置
1か月前
日本特殊陶業株式会社
ガスセンサ
10日前
TDK株式会社
磁気センサ
1か月前
個人
計量具及び計量機能付き容器
12日前
長崎県
形状計測方法
1か月前
愛知時計電機株式会社
ガスメータ
29日前
ローム株式会社
半導体装置
1か月前
日本信号株式会社
距離画像センサ
15日前
双庸電子株式会社
誤配線検査装置
18日前
大和製衡株式会社
組合せ計量装置
26日前
大和製衡株式会社
組合せ計量装置
26日前
愛知電機株式会社
軸部材の外観検査装置
26日前
個人
システム、装置及び実験方法
1か月前
ローム株式会社
半導体装置
1か月前
個人
非接触による電磁パルスの測定方法
15日前
株式会社デンソー
電流センサ
1か月前
中国電力株式会社
電柱管理システム
1か月前
トヨタ自動車株式会社
測定システム
1か月前
キーコム株式会社
画像作成システム
2日前
日東精工株式会社
振動波形検査装置
18日前
ダイハツ工業株式会社
移動支援装置
1か月前
日本特殊陶業株式会社
センサ
1か月前
日本特殊陶業株式会社
センサ
1か月前
日本特殊陶業株式会社
センサ
1か月前
日本特殊陶業株式会社
センサ
29日前
続きを見る
他の特許を見る