TOP
|
特許
|
意匠
|
商標
特許ウォッチ
Twitter
他の特許を見る
10個以上の画像は省略されています。
公開番号
2025168773
公報種別
公開特許公報(A)
公開日
2025-11-12
出願番号
2024073512
出願日
2024-04-30
発明の名称
液滴吐出装置
出願人
コニカミノルタ株式会社
代理人
弁理士法人光陽国際特許事務所
主分類
B41J
2/17 20060101AFI20251105BHJP(印刷;線画機;タイプライター;スタンプ)
要約
【課題】記録媒体の汚損の抑制と、メンテナンスの手間の低減とを実現可能な液滴吐出装置を提供する。
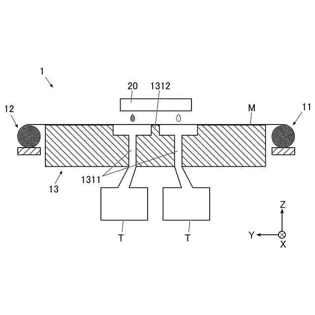
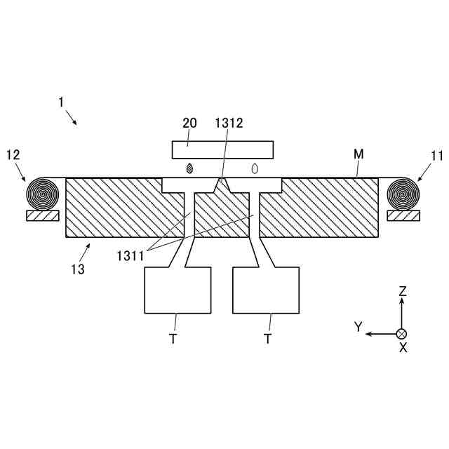
【解決手段】液滴吐出装置1は、複数のローラー間に張架された記録媒体Mを搬送する搬送部10と、不溶性を有する粒子を含む液体を記録媒体Mに吐出する液滴吐出部20と、を備え、搬送部10は、液滴吐出部20から吐出された液体を受ける液体受け溝131を備え、液体受け溝131は、液体の堆積を抑制する堆積抑制部として、例えば仕切部1312を備える。
【選択図】図1B
特許請求の範囲
【請求項1】
複数のローラー間に張架された記録媒体を搬送方向に搬送する搬送部と、
不溶性を有する粒子を含む液体を前記記録媒体に吐出する液滴吐出部と、
前記液滴吐出部から吐出された前記液体のうち、前記記録媒体から裏抜けしたあるいは前記記録媒体からはみ出した液体を受ける液体受け溝と、を備え、
前記液体受け溝は、前記液体の堆積を抑制する堆積抑制部を備える液滴吐出装置。
続きを表示(約 660 文字)
【請求項2】
前記液滴吐出部は、顔料を含むインクを吐出するインク吐出部を備える請求項1に記載の液滴吐出装置。
【請求項3】
前記液滴吐出部は、前記インクを凝集させる凝集剤を含む処理液を吐出する処理液吐出部を備える請求項2に記載の液滴吐出装置。
【請求項4】
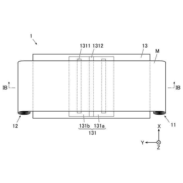
前記堆積抑制部は、前記搬送方向と交差する幅方向に延設する仕切部であり、
前記仕切部は、前記液体受け溝を、前記インクを受けるインク受け部及び前記処理液を受ける処理液受け部と、に二分する請求項3に記載の液滴吐出装置。
【請求項5】
前記搬送部は、搬送される前記記録媒体を支持する支持部を備える請求項4に記載の液滴吐出装置。
【請求項6】
前記支持部には、前記液体受け溝が設けられ、
前記仕切部と前記支持部の天面が略同一の高さである請求項5に記載の液滴吐出装置。
【請求項7】
前記液体受け溝は、深さが5cm以上である請求項1に記載の液滴吐出装置。
【請求項8】
前記堆積抑制部は、前記液体受け溝中を所定のタイミングで走査するワイプ部材である請求項1に記載の液滴吐出装置。
【請求項9】
前記堆積抑制部は、前記液体受け溝中に液体を流す液体流出部である請求項1に記載の液滴吐出装置。
【請求項10】
前記堆積抑制部は、前記液体受け溝を加振する加振部である請求項1に記載の液滴吐出装置。
(【請求項11】以降は省略されています)
発明の詳細な説明
【技術分野】
【0001】
本発明は、液滴吐出装置に関する。
続きを表示(約 1,400 文字)
【背景技術】
【0002】
従来、ノズル面に設けられたノズルから液滴を吐出して記録媒体の所望の位置に着弾させる液滴吐出装置が知られている。特に、搬送ベルトを用いずに、ロール状に巻かれた記録媒体を、下面をプラテンで支持しながら、直接他のローラーで引き出して搬送する、プラテン支持での搬送方式の液滴吐出装置が知られている。記録媒体の搬送部を、このように搬送ベルトを用いないベルトレスの構成とすると、液滴吐出装置を小型化及び軽量化できる。また、搬送ベルトを用いるベルト搬送方式の場合は、記録媒体を搬送ベルトに固定する地張剤を用いるが、この地張剤の塗布には有機溶剤を用いる。これに対して、ベルトレスの構成では、地張剤の塗布が不要となるため、環境上好ましい。
【0003】
ところで、液滴吐出装置においては、液滴が記録媒体を透過したり、記録媒体からはみ出したりすることがある。ベルト搬送方式の液滴吐出装置の場合は、液滴吐出部よりも搬送方向下流側に搬送ベルトに付着した液滴を除去するクリーニング部を設けることで、後続する記録媒体の汚損を抑制できる。しかしながら、特にプラテン支持での搬送方式の液滴吐出装置の場合は、搬送部に付着した液滴がそのまま残るため、後続する記録媒体が当該液滴によって汚損されるおそれがある。また、プラテンを備えない構成においても、記録媒体をすり抜けた液滴が装置を汚損するおそれがある。
【0004】
そこで、例えば特許文献1には、液滴吐出装置であるインクジェット記録装置において、インクジェットヘッドの直下の領域に、滴下インクを受けて集めるインク受け溝を設ける構成が記載されている。
【先行技術文献】
【特許文献】
【0005】
特許第4333969号公報
【発明の概要】
【発明が解決しようとする課題】
【0006】
しかしながら、インク受け溝を設けても、インク受け溝で固着したインクが堆積を重ねると、記録媒体を汚損するおそれがある。そのため、定期的にインク受け溝のメンテナンスを行ってインクの堆積を抑制する必要があり、手間である。
【0007】
本発明はかかる事情に鑑みてなされたものである。その目的は、記録媒体の汚損の抑制と、メンテナンスの手間の低減とを実現可能な液滴吐出装置を提供することである。
【課題を解決するための手段】
【0008】
請求項1に記載の発明は、液滴吐出装置であって、
複数のローラー間に張架された記録媒体を搬送方向に搬送する搬送部と、
不溶性を有する粒子を含む液体を前記記録媒体に吐出する液滴吐出部と、を備え、
前記搬送部は、前記液滴吐出部から吐出された前記液体のうち、前記記録媒体から裏抜けしたあるいは前記記録媒体からはみ出した液体を受ける液体受け溝を備え、
前記液体受け溝は、前記液体の堆積を抑制する堆積抑制部を備える。
【0009】
請求項2に記載の発明は、請求項1に記載の液滴吐出装置であって、
前記液滴吐出部は、顔料を含むインクを吐出するインク吐出部を備える。
【0010】
請求項3に記載の発明は、請求項2に記載の液滴吐出装置であって、
前記液滴吐出部は、前記インクを凝集させる凝集剤を含む処理液を吐出する処理液吐出部を備える。
(【0011】以降は省略されています)
この特許をJ-PlatPat(特許庁公式サイト)で参照する
関連特許
コニカミノルタ株式会社
光計測装置
3日前
コニカミノルタ株式会社
画像形成装置
9日前
コニカミノルタ株式会社
液滴吐出装置
11日前
コニカミノルタ株式会社
放射線撮影システム
9日前
コニカミノルタ株式会社
放射線撮影システム
9日前
コニカミノルタ株式会社
抗菌剤塗布装置および画像形成装置
16日前
コニカミノルタ株式会社
画像読取装置及び画像形成システム
3日前
コニカミノルタ株式会社
トナー収容容器および画像形成装置
3日前
コニカミノルタ株式会社
開発システムおよび学習管理システム
16日前
コニカミノルタ株式会社
インクジェット記録装置及びプログラム
11日前
コニカミノルタ株式会社
画像形成装置、制御方法及びプログラム
3日前
コニカミノルタ株式会社
動態画像解析装置、方法、及びプログラム。
9日前
コニカミノルタ株式会社
動態画像解析装置、方法、及びプログラム。
9日前
コニカミノルタ株式会社
情報処理装置、情報表示システム及びプログラム
3日前
コニカミノルタ株式会社
プログラム、情報処理システム及び情報処理方法
9日前
コニカミノルタ株式会社
放射線画像処理装置及び放射線画像処理プログラム
9日前
コニカミノルタ株式会社
断裁装置、画像形成システム及び断裁位置決定方法
3日前
コニカミノルタ株式会社
色調整システム、色調整装置、色調整方法及びプログラム
9日前
コニカミノルタ株式会社
状態評価装置、状態評価方法、および状態評価プログラム
9日前
コニカミノルタ株式会社
中綴じ処理機構および中綴じ処理機構を備えた画像形成装置
9日前
コニカミノルタ株式会社
画像形成装置
3日前
コニカミノルタ株式会社
画像検査装置
9日前
コニカミノルタ株式会社
画像形成装置
16日前
コニカミノルタ株式会社
検査装置、画像形成システム、異常検出方法およびプログラム
9日前
コニカミノルタ株式会社
活性エネルギー線硬化型インクジェットインク及び画像形成方法
11日前
コニカミノルタ株式会社
介護支援システム、介護支援装置、制御方法、および制御プログラム
9日前
コニカミノルタ株式会社
プログラム、医用情報処理装置、医用情報処理システム及び医用情報処理方法
9日前
コニカミノルタ株式会社
画像形成方法、インクジェット捺染用インクセット及びインクジェット捺染装置
4日前
コニカミノルタ株式会社
波長測定装置及び波長測定方法
16日前
コニカミノルタ株式会社
放射線画像処理装置、放射線画像処理システム、放射線画像処理方法及びプログラム
16日前
コニカミノルタ株式会社
インクジェット記録装置のメンテナンス方法、インクジェット記録装置及びプログラム
11日前
コニカミノルタ株式会社
サービス提供システム、サービス提供サーバー、印刷設定支援方法およい印刷設定支援プログラム
3日前
コニカミノルタ株式会社
インクジェットインク、硬化物の形成方法および硬化物
9日前
コニカミノルタ株式会社
学習用データ生成支援装置、移動制御装置、物品取得配置システム、学習用データ生成支援方法及びプログラム
11日前
コニカミノルタ株式会社
インクジェット用インク、ソルダーレジスト、プリント配線基板、塗膜形成方法及び塗膜形成装置
3日前
個人
箔熱転写装置
2か月前
続きを見る
他の特許を見る