TOP
|
特許
|
意匠
|
商標
特許ウォッチ
Twitter
他の特許を見る
10個以上の画像は省略されています。
公開番号
2025167662
公報種別
公開特許公報(A)
公開日
2025-11-07
出願番号
2024072498
出願日
2024-04-26
発明の名称
開発システムおよび学習管理システム
出願人
コニカミノルタ株式会社
代理人
弁理士法人磯野国際特許商標事務所
主分類
G06N
20/00 20190101AFI20251030BHJP(計算;計数)
要約
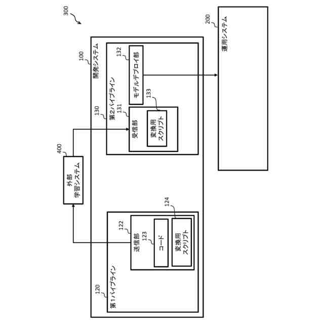
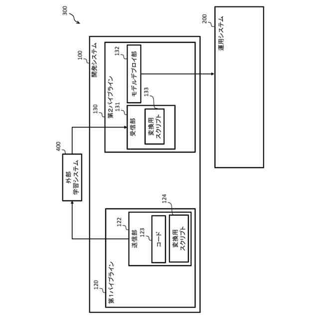
【課題】所定のプラットフォームを組み合わせてMLOpsシステムを構築することができ、各プラットフォームの特性を活かした効率的なMLOpsシステムを実現すること。
【解決手段】開発システム100は、学習データを外部学習システム400の学習用に処理し、処理した学習データを用いて外部学習システム400で機械学習モデル401を学習させる第1パイプライン120と、学習データを学習した機械学習モデル401を運用システム200にデプロイする第2パイプライン130と、を有する。
【選択図】図1
特許請求の範囲
【請求項1】
学習データを外部の学習システムの学習用に処理し、処理した前記学習データを用いて前記外部の学習システムで機械学習モデルを学習させる第1パイプラインと、
前記学習データを学習した機械学習モデルを運用システムにデプロイする第2パイプラインと、
を有する開発システム。
続きを表示(約 1,000 文字)
【請求項2】
前記第1パイプラインは、
外部の学習システムに処理した学習データを含む情報を送信する送信部を有し、
前記第2パイプラインは、
前記外部の学習システムが学習させた機械学習モデルを受信する受信部と、
前記機械学習モデルを運用システムにデプロイするモデルデプロイ部と、
を有する請求項1に記載の開発システム。
【請求項3】
前記送信部は、
前記第2パイプラインを実行する際に必要な情報を含んで送信する、
請求項2に記載の開発システム。
【請求項4】
前記第2パイプラインを実行する際に必要な情報には、前記第2パイプラインの処理を開始するための処理命令トリガーのコードを含む、
請求項3に記載の開発システム。
【請求項5】
前記第1パイプラインは、
前記外部の学習システムの機械学習モデルに適したデータ形式に変換し、当該変換したデータ形式の学習データを、前記送信部により前記外部の学習システムに向けて送信する、
請求項2に記載の開発システム。
【請求項6】
前記外部の学習システムの機械学習モデルに適したデータ形式に変換する変換用スクリプトを更に有する、
請求項5に記載の開発システム。
【請求項7】
前記第2パイプラインは、
前記外部の学習システムにより学習された機械学習モデルを受信するとともに、受信した前記機械学習モデルを、前記運用システムで利用可能な形式に変換する、
請求項2に記載の開発システム。
【請求項8】
前記モデルデプロイ部は、
前記運用システムに向けて、前記機械学習モデルを送信する、
請求項2に記載の開発システム。
【請求項9】
前記受信部は、
所定の機械学習フレームワークの受取型式の指定を受け付けて、受信した前記機械学習モデルを、前記指定された受取型式の所定の機械学習フレームワークに変換する、
請求項7に記載の開発システム。
【請求項10】
前記第1パイプラインは、
前記送信部に送出するためのデータを用意し、当該データを転送するデータセット部を、さらに備える、
請求項2に記載の開発システム。
(【請求項11】以降は省略されています)
発明の詳細な説明
【技術分野】
【0001】
本発明は、開発システムおよび学習管理システムに関する。
続きを表示(約 3,300 文字)
【背景技術】
【0002】
近年、機械学習の分野において、機械学習(ML:Machine Learning)と運用(Operations)を組み合わせた造語のMLOpsシステムが普及している。MLOpsシステムは、機械学習を円滑に進めるフローであり、例えば、開発工程と運用工程をパイプライン化することで、データ処理やコミュニケーションの円滑化を図っている。また、MLOpsは、バージョン管理やデプロイなどの自動化を図ることで、生産性の向上も図ることができる(非特許文献1および2参照)。
【0003】
非特許文献1の要約書の参考訳によれば、「すべての産業用機械学習(ML)プロジェクトの最終目標は、ML 製品を開発し、迅速に実稼働環境に導入することである。ただし、ML製品を自動化して運用することは、非常に困難であるため、多くのMLの取り組みは、期待を達成できない。Machine Learning Operations (MLOps)のパラダイムは、この問題に対処する。MLOpsには、ベストプラクティス、一連の概念、開発文化などのいくつかの側面が含まれている。ただし、MLOpsはまだ曖昧な用語であり、研究者や専門家にとっての影響は曖昧である。このギャップに対処するために、私たちは文献レビュー、ツールレビュー、専門家インタビューなどの混合方法調査を実施する。これらの調査の結果、必要な原則、コンポーネント、役割、および関連するアーキテクチャとワークフローの集約された概要を提供することで、一連の知識に貢献する。さらに、MLOps の包括的な定義を提供し、この分野での未解決の課題に焦点を当てる。最後に、この作業は、指定された一連のテクノロジーを使用してML製品を自動化および運用したいと考えているML研究者および実践者にガイダンスを提供する。」という旨が記載されている。
【0004】
また、非特許文献2のMLOpsレベル1:MLパイプラインの自動化には、「レベル1の目標は、MLパイプラインを自動化することにより、モデルの継続的トレーニングを実行することです。これにより、モデル予測サービスの継続的デリバリーを実現できます。新しいデータを使用して本番環境においてモデルを再トレーニングするプロセスを自動化するには、自動化されたデータとモデル検証の手順、およびパイプライントリガーとメタデータ管理をパイプラインに導入する必要があります。」という旨が記載されている。
【0005】
さらに、非特許文献2の図3の特徴として、以下の旨が記載されている。
「 ・迅速なテスト: ML テストの手順は統合されています。手順間の移動が自動化されることで、テストのイテレーションが迅速になり、パイプライン全体を本番環境に移行する準備が改善されます。
・本番環境でのモデルのCT:次のセクションで説明するライブパイプライントリガーに基づいて、新しいデータを使用して本番環境でモデルが自動的にトレーニングされます。
・テストと運用の対称性:開発環境またはテスト環境で使用されるパイプライン実装は、本番前環境と本番環境で使用されます。これは、DevOpsを統合するMLOps手法の重要な側面です。
・コンポーネントとパイプライン用のモジュール化されたコード:MLパイプラインを構築するには、コンポーネントを再利用可能、構成可能で、場合によってはMLパイプライン間で共有できる必要があります。したがって、EDAコードはノートブック内に存在できますが、コンポーネントのソースコードはモジュール化する必要があります。また、コンポーネントは次の操作のためにコンテナ化するのが理想的です。
・実行環境とカスタムコードランタイムを分離する。
・開発環境と本番環境の間でコードを再現可能にする。
・パイプライン内で各コンポーネントを分離する。各コンポーネントは、独自のバージョンのランタイム環境、異なる言語とライブラリを持つことができます。
・モデルの継続的デリバリー: 本番環境のMLパイプラインは、新しいデータでトレーニングされた新しいモデルに予測サービスを継続的に提供します。オンライン予測用の予測サービスとしてトレーニング済みで検証済みのモデルを提供するモデルのデプロイ手順が自動化されます。
・パイプラインのデプロイ:レベル0では、トレーニング済みモデルを予測サービスとして本番環境にデプロイします。レベル1の場合、トレーニング済みのモデルを予測サービスとして提供するために自動的に繰り返し実行されるトレーニングパイプライン全体をデプロイします。」
【先行技術文献】
【特許文献】
【0006】
Dominik Kreuzberger, Niklas Kuhl, and Sebastian Hirschl. ” Machine Learning Operations (MLOps): Overview, Definition, and Architecture”, IEEE Access, 27 March 2023, p.31866- p31879, [online], [令和6年4月2日検索],インターネット<https://ieeexplore.ieee.org/document/10081336>
Cloud アーキテクチャ センター, [online], [令和6年4月2日検索],インターネット<https://cloud.google.com/architecture/mlops-continuous-delivery-and-automation-pipelines-in-machine-learning?hl=jahttps%3A%2F%2Fieeexplore.ieee.org%2Fdocument%2F10081336>
【発明の概要】
【発明が解決しようとする課題】
【0007】
ここで、MLOpsは、AIプロダクトの円滑な運用管理を行うことを目的としている。そのため、MLOpsのフローにおいて、すべてのステップで使用するデータ、ソースコード、デバイスなどは、集約しやすい同一のプラットフォーム(PF:PlatForm)上に存在する必要がある。しかしながら、機械学習において最も重要な学習環境を考慮してプラットフォームを選んでしまうと、データベース、モデル管理、UI(User Interface)に特化したプラットフォームを選定できないこともある。
【0008】
したがって、MLOpsのフローにおいて各ステップの用途に合ったプラットフォームを組み合わせることができない場合、MLOpsシステムを用いたAIプロダクトの開発の作業効率を下げてしまうことが想定される。
【0009】
非特許文献1は、MLOpsの基本的な仕組みである連続した機械学習フローにより、学習済みモデルの修正に対して迅速な対応を実現している。しかしながら、非特許文献1のMLOpsのフローでは、修正しきれない学習済みモデルの大幅な精度劣化時には対応することが困難である。この場合、非特許文献1では、機械学習に特化したフローにより、別途、精度を上げる処理を集中的に行う必要がある。
【0010】
一方、非特許文献2は、MLOpsを2つのパートに拡張している。具体的には、開発パートと運用パートとに切り分けている。開発パートでは、アルゴリズムの精度を上げる処理を集中的に行っている。これに対し、運用パートでは、現場の微細な精度劣化に迅速に対応している。これにより、非特許文献2では、機械学習モデルの精度を上げるためのアップデートを円滑に行うことができる。よって、非特許文献2は、非特許文献1の精度劣化時に対応することができる。
(【0011】以降は省略されています)
この特許をJ-PlatPat(特許庁公式サイト)で参照する
関連特許
コニカミノルタ株式会社
光計測装置
3日前
コニカミノルタ株式会社
画像形成装置
9日前
コニカミノルタ株式会社
液滴吐出装置
11日前
コニカミノルタ株式会社
放射線撮影システム
9日前
コニカミノルタ株式会社
放射線撮影システム
9日前
コニカミノルタ株式会社
トナー収容容器および画像形成装置
3日前
コニカミノルタ株式会社
画像読取装置及び画像形成システム
3日前
コニカミノルタ株式会社
画像形成装置、制御方法及びプログラム
3日前
コニカミノルタ株式会社
インクジェット記録装置及びプログラム
11日前
コニカミノルタ株式会社
動態画像解析装置、方法、及びプログラム。
9日前
コニカミノルタ株式会社
動態画像解析装置、方法、及びプログラム。
9日前
コニカミノルタ株式会社
情報処理装置、情報表示システム及びプログラム
3日前
コニカミノルタ株式会社
プログラム、情報処理システム及び情報処理方法
9日前
コニカミノルタ株式会社
断裁装置、画像形成システム及び断裁位置決定方法
3日前
コニカミノルタ株式会社
放射線画像処理装置及び放射線画像処理プログラム
9日前
コニカミノルタ株式会社
状態評価装置、状態評価方法、および状態評価プログラム
9日前
コニカミノルタ株式会社
色調整システム、色調整装置、色調整方法及びプログラム
9日前
コニカミノルタ株式会社
中綴じ処理機構および中綴じ処理機構を備えた画像形成装置
9日前
コニカミノルタ株式会社
検査装置、画像形成システム、異常検出方法およびプログラム
9日前
コニカミノルタ株式会社
画像形成装置
3日前
コニカミノルタ株式会社
画像形成装置
16日前
コニカミノルタ株式会社
画像検査装置
9日前
コニカミノルタ株式会社
活性エネルギー線硬化型インクジェットインク及び画像形成方法
11日前
コニカミノルタ株式会社
介護支援システム、介護支援装置、制御方法、および制御プログラム
9日前
コニカミノルタ株式会社
プログラム、医用情報処理装置、医用情報処理システム及び医用情報処理方法
9日前
コニカミノルタ株式会社
画像形成方法、インクジェット捺染用インクセット及びインクジェット捺染装置
4日前
コニカミノルタ株式会社
インクジェット記録装置のメンテナンス方法、インクジェット記録装置及びプログラム
11日前
コニカミノルタ株式会社
サービス提供システム、サービス提供サーバー、印刷設定支援方法およい印刷設定支援プログラム
3日前
コニカミノルタ株式会社
インクジェットインク、硬化物の形成方法および硬化物
9日前
コニカミノルタ株式会社
学習用データ生成支援装置、移動制御装置、物品取得配置システム、学習用データ生成支援方法及びプログラム
11日前
コニカミノルタ株式会社
インクジェット用インク、ソルダーレジスト、プリント配線基板、塗膜形成方法及び塗膜形成装置
3日前
個人
詐欺保険
1か月前
個人
縁伊達ポイン
1か月前
個人
RFタグシート
27日前
個人
職業自動販売機
9日前
個人
5掛けポイント
16日前
続きを見る
他の特許を見る