TOP
|
特許
|
意匠
|
商標
特許ウォッチ
Twitter
他の特許を見る
10個以上の画像は省略されています。
公開番号
2025170942
公報種別
公開特許公報(A)
公開日
2025-11-20
出願番号
2024075813
出願日
2024-05-08
発明の名称
情報処理装置、情報表示システム及びプログラム
出願人
コニカミノルタ株式会社
代理人
弁理士法人光陽国際特許事務所
主分類
G06F
3/12 20060101AFI20251113BHJP(計算;計数)
要約
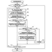
【課題】本発明の課題は、複数の印刷装置を保有する印刷会社の管理者が、受注したジョブをどの印刷装置のどの給紙トレイを使って印刷するかを効率よく、かつ容易に決定することができる情報処理装置、情報表示システム及びプログラムを提供することである。
【解決手段】複数の印刷装置からジャムの発生に関する情報を取得する取得部と、取得した前記ジャムの発生に関する情報から、前記複数の印刷装置ごとにおける給紙トレイごとのジャムの発生に関する数値を算出する算出部と、算出された、前記複数の印刷装置ごとにおける前記給紙トレイごとのジャムの発生に関する数値を出力する出力部と、を備える情報処理装置。
【選択図】図1
特許請求の範囲
【請求項1】
複数の印刷装置からジャムの発生に関する情報を取得する取得部と、
取得した前記ジャムの発生に関する情報から、前記複数の印刷装置の各印刷装置における給紙トレイごとのジャムの発生に関する数値を算出する算出部と、
算出された、前記各印刷装置における前記給紙トレイごとのジャムの発生に関する数値を出力する出力部と、を備える情報処理装置。
続きを表示(約 1,200 文字)
【請求項2】
前記算出部は、用紙の種類ごとに、ジャムの発生に関する数値を算出し、
前記出力部は、前記用紙の種類ごとに、ジャムの発生に関する数値を出力する
請求項1に記載の情報処理装置。
【請求項3】
前記用紙の種類は、少なくとも紙質、坪量、及びサイズの中のいずれか一つを含む
請求項2に記載の情報処理装置。
【請求項4】
前記ジャムの発生に関する情報は、少なくともカバレッジ情報を含む
請求項1又は請求項2に記載の情報処理装置。
【請求項5】
前記ジャムの発生に関する情報は、少なくとも温湿度情報を含む
請求項1又は請求項2に記載の情報処理装置。
【請求項6】
前記出力部は、ジャムの発生に関する数値の一覧を出力する
請求項1又は請求項2に記載の情報処理装置。
【請求項7】
前記用紙の種類を取得する第2取得部を備え、
前記出力部は、前記情報処理装置が解析した前記ジャムの発生に関する情報、取得された前記用紙の種類に対応したジャムの発生に関する数値を出力する
請求項2に記載の情報処理装置。
【請求項8】
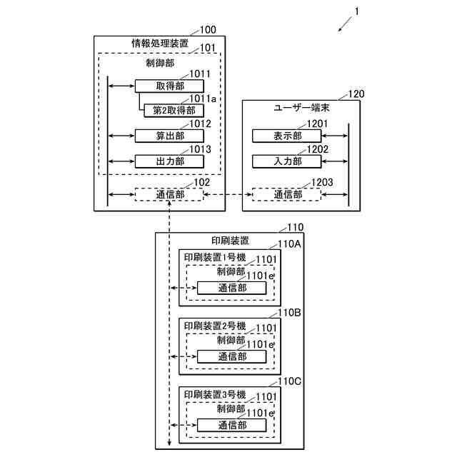
請求項1に記載の情報処理装置と、前記情報処理装置に接続され用紙を収納する給紙トレイを有する複数の印刷装置と、前記情報処理装置に接続され表示部を有するユーザー端末と、を備え、
前記ユーザー端末は、ジャムの発生に関する数値を前記複数の印刷装置ごとに切り替えて前記表示部に表示する情報表示システム。
【請求項9】
請求項2に記載の情報処理装置と、前記情報処理装置に接続され用紙を収納する給紙トレイを有する複数の印刷装置と、前記情報処理装置に接続され表示部を有するユーザー端末と、を備え、
前記情報処理装置は、前記ユーザー端末に、予め登録された前記用紙の種類の候補リストの前記用紙の種類に関するジャムの発生に関する数値を出力することが可能であり、
前記ユーザー端末は、前記候補リストを前記表示部に表示してユーザーに選択肢を提示する情報表示システム。
【請求項10】
請求項1に記載の情報処理装置と、前記情報処理装置に接続され用紙を収納する給紙トレイを有する複数の印刷装置と、前記情報処理装置に接続され表示部を有するユーザー端末と、を備え、
前記情報処理装置は、前記算出部によって算出された前記ジャムの発生に関する数値からジャムの発生しづらい給紙トレイを導き出し、かつ、出力することが可能であり、
前記ユーザー端末は、前記ジャムの発生しづらい給紙トレイをユーザーに識別可能となるように前記表示部に表示する情報表示システム。
(【請求項11】以降は省略されています)
発明の詳細な説明
【技術分野】
【0001】
本発明は、情報処理装置、情報表示システム及びプログラムに関する。
続きを表示(約 1,200 文字)
【背景技術】
【0002】
印刷会社の管理者は、受注したジョブを、保有する複数の印刷装置の中からどの印刷装置のどの給紙トレイを使って印刷するかを決定している。そして、その際には、管理者は、品質の向上、納期、コスト削減等の様々な条件を考慮している。このような様々な条件を含め、印刷時の損紙の枚数を低減することは重要である。ここで、「損紙」とは、ジャム等によって廃棄することとなった紙のことである。
【0003】
例えば特許文献1に開示される技術では、損紙の枚数を低減させるため、単一の印刷装置において、当該印刷装置が備える給紙トレイごとのジャムの発生回数を記憶する。そして、当該ジャムの発生回数に基づいてどの給紙トレイにどのような大きさの用紙をセットするべきかを印刷装置のディスプレイ(表示部)に表示する。これにより、当該印刷装置の使用者に推奨給紙トレイを提案する。
【先行技術文献】
【特許文献】
【0004】
特開2023-097596号公報
【発明の概要】
【発明が解決しようとする課題】
【0005】
しかしながら、特許文献1に開示される技術では、単一の印刷装置において、当該印刷装置のディスプレイ(表示部)に推奨給紙トレイを提案するのみである。そのため、印刷会社が複数の印刷装置を保有する場合において、当該印刷会社の管理者が、受注したジョブをどの印刷装置のどの給紙トレイを使って印刷するかを決定する際には、そのまま活用できない。
【0006】
本発明は、上記問題・状況に鑑みてなされたものである。その解決課題は、複数の印刷装置を保有する印刷会社の管理者が、受注したジョブをどの印刷装置のどの給紙トレイを使って印刷するかを効率よく、かつ容易に決定することができる情報処理装置、情報表示システム及びプログラムを提供することである。
【課題を解決するための手段】
【0007】
上記課題は、以下の手段により解決される。
【0008】
1.複数の印刷装置からジャムの発生に関する情報を取得する取得部と、
取得した前記ジャムの発生に関する情報から、前記複数の印刷装置ごとにおける給紙トレイごとのジャムの発生に関する数値を算出する算出部と、
算出された、前記複数の印刷装置ごとにおける前記給紙トレイごとのジャムの発生に関する数値を出力する出力部と、を備える情報処理装置。
【0009】
2.前記算出部は、用紙の種類ごとに、ジャムの発生に関する数値を算出し、
前記出力部は、前記用紙の種類ごとに、ジャムの発生に関する数値を出力する
第1項に記載の情報処理装置。
【0010】
3.前記用紙の種類は、少なくとも紙質、坪量、及びサイズの中のいずれか一つを含む
第2項に記載の情報処理装置。
(【0011】以降は省略されています)
この特許をJ-PlatPat(特許庁公式サイト)で参照する
関連特許
コニカミノルタ株式会社
緩衝材
16日前
コニカミノルタ株式会社
パレット
24日前
コニカミノルタ株式会社
光計測装置
3日前
コニカミノルタ株式会社
画像形成装置
9日前
コニカミノルタ株式会社
画像形成装置
19日前
コニカミノルタ株式会社
画像形成装置
1か月前
コニカミノルタ株式会社
画像形成装置
17日前
コニカミノルタ株式会社
情報処理装置
19日前
コニカミノルタ株式会社
液滴吐出装置
11日前
コニカミノルタ株式会社
画像形成方法
26日前
コニカミノルタ株式会社
画像形成装置
1か月前
コニカミノルタ株式会社
超音波診断装置
17日前
コニカミノルタ株式会社
サンプル測定装置
1か月前
コニカミノルタ株式会社
画像形成システム
18日前
コニカミノルタ株式会社
放射線画像撮影装置
1か月前
コニカミノルタ株式会社
放射線画像撮影装置
1か月前
コニカミノルタ株式会社
放射線画像撮影装置
1か月前
コニカミノルタ株式会社
放射線画像撮影装置
1か月前
コニカミノルタ株式会社
放射線撮影システム
9日前
コニカミノルタ株式会社
放射線撮影システム
9日前
コニカミノルタ株式会社
画像形成装置、画像形成方法
24日前
コニカミノルタ株式会社
抗菌剤塗布装置および画像形成装置
16日前
コニカミノルタ株式会社
トナー収容容器および画像形成装置
3日前
コニカミノルタ株式会社
用紙搬送装置及び画像形成システム
18日前
コニカミノルタ株式会社
画像形成装置及び転写条件制御方法
1か月前
コニカミノルタ株式会社
画像形成装置及び用紙物性検知方法
1か月前
コニカミノルタ株式会社
画像読取装置及び画像形成システム
3日前
コニカミノルタ株式会社
用紙加湿装置及び画像形成システム
27日前
コニカミノルタ株式会社
開発システムおよび学習管理システム
16日前
コニカミノルタ株式会社
定着部材、定着装置および画像形成装置
17日前
コニカミノルタ株式会社
医療用検査装置、および医療用検査方法
16日前
コニカミノルタ株式会社
定着部材、定着装置および画像形成装置
25日前
コニカミノルタ株式会社
インクジェット記録装置及びプログラム
11日前
コニカミノルタ株式会社
画像形成装置、制御方法及びプログラム
3日前
コニカミノルタ株式会社
画像形成装置、補正方法及びプログラム
24日前
コニカミノルタ株式会社
仲介システム、仲介方法及びプログラム
16日前
続きを見る
他の特許を見る