TOP
|
特許
|
意匠
|
商標
特許ウォッチ
Twitter
他の特許を見る
10個以上の画像は省略されています。
公開番号
2025157806
公報種別
公開特許公報(A)
公開日
2025-10-16
出願番号
2024060054
出願日
2024-04-03
発明の名称
放射線画像撮影装置
出願人
コニカミノルタ株式会社
代理人
弁理士法人光陽国際特許事務所
主分類
G01T
7/00 20060101AFI20251008BHJP(測定;試験)
要約
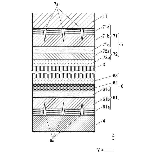
【課題】放射線検出部と支持体との貼り付けにおいて、空気だまりを防止し、且つ十分な粘着力を確保できる放射線画像撮影装置を提供する。
【解決手段】放射線画像撮影装置100は、放射線を検出する放射線検出部3と、放射線検出部3を支持する支持体4と、放射線検出部3及び支持体4を収納する筐体110と、放射線検出部3を少なくとも支持体に固定する貼り付け部材(第1貼り付け部材6)と、を備える。貼り付け部材は、片面にのみ通気路(通気路6a)が設けられている。
【選択図】図7
特許請求の範囲
【請求項1】
放射線を検出する放射線検出部と、
前記放射線検出部を支持する支持体と、
前記放射線検出部及び前記支持体を収納する筐体と、
前記放射線検出部を少なくとも前記支持体に固定する貼り付け部材と、
を備え、
前記貼り付け部材は、片面にのみ通気路が設けられている放射線画像撮影装置。
続きを表示(約 570 文字)
【請求項2】
前記放射線検出部及び前記支持体を含む内部モジュールは、前記貼り付け部材により前記筐体に固定されている請求項1に記載の放射線画像撮影装置。
【請求項3】
前記通気路のピッチは、2.5mm~25mmである請求項1または2に記載の放射線画像撮影装置。
【請求項4】
前記通気路のピッチは、5mm~20mmである請求項3に記載の放射線画像撮影装置。
【請求項5】
前記放射線検出部は、可撓性を有する基板と、前記基板の撮像面に形成された半導体素子と、を有する請求項1に記載の放射線画像撮影装置。
【請求項6】
前記支持体は、金属により形成されている請求項1に記載の放射線画像撮影装置。
【請求項7】
前記支持体は、発泡体により形成されている請求項1に記載の放射線画像撮影装置。
【請求項8】
前記貼り付け部材は、積層構造である請求項1または2に記載の放射線画像撮影装置。
【請求項9】
前記貼り付け部材は、導電性を有する層を含む請求項8に記載の放射線画像撮影装置。
【請求項10】
前記貼り付け部材は、両面テープを含む請求項1または2に記載の放射線画像撮影装置。
(【請求項11】以降は省略されています)
発明の詳細な説明
【技術分野】
【0001】
本発明は、放射線画像撮影装置に関する。
続きを表示(約 2,200 文字)
【背景技術】
【0002】
近年、撮影台からの分離及び持ち運びを可能とした可搬型(カセッテ型等ともいう。)の放射線画像撮影装置が開発され、実用化されている。このような放射線画像撮影装置は、パネル状をしていることから、FPD(Flat Panel Detector)と呼ばれることがある。FPDは、内部に、放射線を検出する放射線検出部、放射線検出部を支持する支持体等を備える。放射線検出部と支持体とは、接着剤による接着、または両面テープ等の粘着テープにより固定される。
【0003】
放射線検出部及び支持体は、比較的大面積である平板状の部材である。そのため、放射線検出部と支持体とを両面テープにより貼り合わせる場合、比較的大面積である平板状の部材同士を貼り合わせることとなる。そのため、両面テープの粘着剤と放射線検出部との間、または両面テープの粘着剤と支持体との間に空気が残留する(空気だまりができる)場合がある。
空気だまりは、FPDに荷重が負荷されると体積が小さくなり、当該荷重が除去されると体積が元に戻る。この場合、両面テープの粘着剤と放射線検出部との間、または両面テープの粘着剤と支持体との間において接触剥離を繰り返すことにより帯電が発生する。これにより発生した電荷がFPDで生成される画像に悪影響を及ぼす場合がある。
FPDを使用しているうちに、FPDに荷重及び/または振動が加えられることにより、空気だまりが移動して、空気だまり周辺部分から両面テープの粘着剤の剥離が発生するおそれがある。両面テープが剥がれることにより、放射線検出部が支持体によって支持されなくなると、放射線検出部が破損したり変形したりする可能性がある。
【0004】
上記問題に対し、以下の両面テープにより、放射線検出部を支持体に固定する技術が開示されている(例えば、特許文献1)。具体的には、当該両面テープは、粘着剤が両面にマトリクス状に配置されていることによって貼り合わせる際に粘着剤の間の隙間(通気路)を通って空気が抜けて、空気だまりを防止できる両面テープである。
【先行技術文献】
【特許文献】
【0005】
国際公開第2011/043133号
【発明の概要】
【発明が解決しようとする課題】
【0006】
しかしながら、従来の両面テープにおける両面においてマトリクス状に配置された粘着剤では通気路が多く、単位面積あたりに存在する粘着剤が少ないため、両面テープとしての粘着力が小さいという問題がある。特許文献1には、1インチ当たりの凹凸(通気路)の数をメッシュ数とし、メッシュ数が20、48または65の例が記載されている。両面テープの粘着力が小さいと、FPDの使用中においてFPDに外部からの衝撃及び/または振動が加わった場合、両面テープの粘着剤の剥離が発生するおそれがある。支持体を金属等の剛性の高い材料で形成する場合、支持体の製造時に発生した反りによって放射線検出部との間に隙間ができる部分が存在する。これにより、放射線検出部と支持体とを貼り合わせた後に剥離する方向に力が働く。そのため、両面テープの粘着力が小さいと、両面テープの粘着剤の剥離が発生する可能性が高くなる。
固定された放射線検出部及び支持体を内部モジュールとし、内部モジュールをFPDの筐体内面に両面テープにより固定することで、外乱による移動を抑制して内部モジュールの各部品の破損を防止する構造のFPDが存在する。このFPDの場合、筐体に内部モジュールを貼り付ける両面テープの粘着力が小さいと、筐体から内部モジュールが剥がれてしまい、外乱により破損するおそれがある。
両面テープの粘着剤を改良することにより粘着力を大きくする方法もあるが、粘着剤がマトリクス状であるため、粘着力を向上できる範囲に限界がある。そのように粘着力を向上させた粘着剤は特殊であるため、コスト、耐久性等において市販製品に使用するには不適である。
【0007】
本発明は、上記課題に鑑みてなされたものであり、放射線検出部と支持体との貼り付けにおいて、空気だまりを防止し、且つ十分な粘着力を確保できる放射線画像撮影装置を提供することを目的とする。
【課題を解決するための手段】
【0008】
上記課題を解決するため、請求項1に記載の発明の放射線撮画像影装置は、
放射線を検出する放射線検出部と、
前記放射線検出部を支持する支持体と、
前記放射線検出部及び前記支持体を収納する筐体と、
前記放射線検出部を少なくとも前記支持体に固定する貼り付け部材と、
を備え、
前記貼り付け部材は、片面にのみ通気路が設けられている。
【0009】
請求項2に記載の発明は、請求項1に記載の放射線画像撮影装置において、
前記放射線検出部及び前記支持体を含む内部モジュールは、前記貼り付け部材により前記筐体に固定されている。
【0010】
請求項3に記載の発明は、請求項1または2に記載の放射線画像撮影装置において、
前記通気路のピッチは、2.5mm~25mmである。
(【0011】以降は省略されています)
この特許をJ-PlatPat(特許庁公式サイト)で参照する
関連特許
コニカミノルタ株式会社
画像形成装置
3日前
日本精機株式会社
検出装置
18日前
個人
採尿及び採便具
24日前
個人
計量機能付き容器
13日前
個人
高精度同時多点測定装置
1か月前
個人
アクセサリー型テスター
1か月前
甲神電機株式会社
電流検出装置
18日前
株式会社カクマル
境界杭
3日前
株式会社ミツトヨ
測定器
1か月前
アズビル株式会社
電磁流量計
1か月前
ダイキン工業株式会社
監視装置
1か月前
大成建設株式会社
風洞実験装置
13日前
日本特殊陶業株式会社
ガスセンサ
11日前
双庸電子株式会社
誤配線検査装置
19日前
大和製衡株式会社
組合せ計量装置
27日前
大和製衡株式会社
組合せ計量装置
27日前
愛知電機株式会社
軸部材の外観検査装置
27日前
長崎県
形状計測方法
1か月前
個人
計量具及び計量機能付き容器
13日前
ローム株式会社
半導体装置
1か月前
ローム株式会社
半導体装置
1か月前
個人
非接触による電磁パルスの測定方法
16日前
個人
システム、装置及び実験方法
1か月前
日本信号株式会社
距離画像センサ
16日前
愛知時計電機株式会社
ガスメータ
1か月前
株式会社デンソー
電流センサ
1か月前
日東精工株式会社
振動波形検査装置
19日前
日本特殊陶業株式会社
センサ
1か月前
日本特殊陶業株式会社
センサ
1か月前
個人
液位検視及び品質監視システム
11日前
トヨタ自動車株式会社
測定システム
1か月前
キーコム株式会社
画像作成システム
3日前
日本特殊陶業株式会社
センサ
1か月前
日本特殊陶業株式会社
センサ
1か月前
日本特殊陶業株式会社
センサ
1か月前
日本特殊陶業株式会社
センサ
1か月前
続きを見る
他の特許を見る