TOP
|
特許
|
意匠
|
商標
特許ウォッチ
Twitter
他の特許を見る
10個以上の画像は省略されています。
公開番号
2025171462
公報種別
公開特許公報(A)
公開日
2025-11-20
出願番号
2024076833
出願日
2024-05-09
発明の名称
トナー収容容器および画像形成装置
出願人
コニカミノルタ株式会社
代理人
個人
主分類
G03G
15/08 20060101AFI20251113BHJP(写真;映画;光波以外の波を使用する類似技術;電子写真;ホログラフイ)
要約
【課題】 トナーを外部に効率的に排出すること。
【解決手段】 トナー収容容器100Yは、トナーを収容する収容空間111と収容空間111を下方に開放する排出口115とを有する収容部と、収容空間111内で収容部により回転可能に支持される撹拌部材と、を備え、収容部は、底面213を有する底部211と、底面213から上方に延びる側面203を有する側壁201と、側面203に形成された第1傾斜面207または底面213に形成された第2傾斜面217と、を備え、第1傾斜面207および第2傾斜面217は、撹拌部の回転軸と平行な軸方向および回転軸の周りに回転する撹拌部の周方向にそれぞれ交差しかつ排出口115を向く。
【選択図】図5
特許請求の範囲
【請求項1】
トナーを収容する収容空間と前記収容空間を下方に開放する排出口とを有する収容部と、
前記収容空間内で前記収容部により回転可能に支持される撹拌部と、を備え、
前記収容部は、底面を有する底部と、
前記底面から上方に延びる側面を有する側壁と、
前記底面または前記側面のいずれかに形成された傾斜面と、を備え、
前記傾斜面は、前記撹拌部の回転軸と平行な軸方向および前記回転軸の周りに回転する前記撹拌部の周方向にそれぞれ交差しかつ前記排出口を向く、トナー収容容器。
続きを表示(約 840 文字)
【請求項2】
前記傾斜面は、前記側面に形成され、前記周方向における前記排出口からの距離が前記軸方向における前記排出口との間の距離が小さいほど長い、請求項1に記載のトナー収容容器。
【請求項3】
前記傾斜面は、前記底面に形成され、前記軸方向に前記排出口から離れるほど前記周方向の下流側に位置する、請求項2に記載のトナー収容容器。
【請求項4】
前記傾斜面は、前記底面に形成され、前記軸方向に前記排出口から離れるほど前記周方向の下流側に位置する、請求項1に記載のトナー収容容器。
【請求項5】
前記傾斜面の前記軸方向における前記排出口との距離が最も短い端部が前記周方向において前記排出口と重なる、請求項3または4に記載のトナー収容容器。
【請求項6】
前記排出口は、前記底部の前記軸方向の一部に形成される、請求項1~4のいずれかに記載のトナー収容容器。
【請求項7】
前記傾斜面は第1傾斜面と第2傾斜面とを有する、請求項1~4のいずれかに記載のトナー収容容器。
【請求項8】
前記軸方向に垂直な断面において、前記傾斜面が前記底面または前記側面となす角は、90度よりも大きい、請求項1~4のいずれかに記載のトナー収容容器。
【請求項9】
前記軸方向に垂直な断面において、前記傾斜面が前記底面または前記側面からの高さが前記軸方向に異なる複数の位置で異なる、請求項1~4のいずれかに記載のトナー収容容器。
【請求項10】
前記撹拌部は、前記回転軸と平行な方向に延びる外周撹拌部と、
前記外周撹拌部から径方向に延びる可撓性の撹拌シートと、を含み、
前記撹拌シートは、前記外周撹拌部が前記回転軸の周りに回転する一周期の一部の期間に前記傾斜面に接触する、請求項1~4のいずれかに記載のトナー収容容器。
(【請求項11】以降は省略されています)
発明の詳細な説明
【技術分野】
【0001】
この発明は、画像形成装置に着脱可能なトナー収容容器およびそのトナー収容容器を備えた画像形成装置に関する。
続きを表示(約 1,900 文字)
【背景技術】
【0002】
MFP(Multi Function Peripheral)で代表される画像形成装置は、感光体ドラムに形成された静電潜像をトナーにて現像する現像器と、その現像器に供給するトナーを収容するトナー収容容器とを備えている。トナー収容容器は、画像形成装置に着脱自在である。さらに、トナー収容容器は、それに収容されているトナーを排出するための排出口が設けられており、その排出口から現像機に供給されるトナーが排出される。
【0003】
例えば、特開2013-205439号公報には、容器本体内に収納された現像剤を、該容器本体内に配置され、回転軸の回りに回転することにより攪拌しながら排出口に搬送する回転攪拌部材と、前記回転攪拌部材に設けられ、基端が前記回転軸と一体的に回転し、自由端が前記容器本体の内壁に近接して配置され、且つ、前記回転軸の長手方向に渡って複数の開口が形成された格子状の回転支持部材と、前記回転軸を中心とした、前記回転支持部材における前記自由端近傍の円周上に設けられ、且つ、前記回転軸の長手方向において所定の間隔をもって複数設けられた輪状部材と、前記輪状部材の外周面から前記回転軸の遠心方向に前記容器本体の内壁に近接するように突出して設けられた突出羽根部材と、前記回転支持部材の前記自由端部に基端部が保持され、先端が前記容器本体の内壁に少なくとも接触することで前記現像剤を前記排出口へと搬送する可撓性羽根部材と、を備える現像剤収納容器が記載されている。
【0004】
しかしながら、特開2013-205439号公報に記載の現像剤収容容器は、容器本体内に回転軸の回りに回転することにより攪拌しながら現像材を排出口に搬送する回転攪拌部材が配置される。回転する回転攪拌部材の回転軸と平行な方向に現像材を搬送する。このため、回転攪拌部材の構造が複雑になる。また、回転攪拌部材が容器本体と接触しない部分に位置するトナーを搬送することができない場合がある。このため、容器本体内に収容されたトナーの一部が容器本体内に残留する場合があるといった問題がある。
【先行技術文献】
【特許文献】
【0005】
特開2013-205439号公報
【発明の概要】
【発明が解決しようとする課題】
【0006】
この発明は上述した問題点を解決するためになされたもので、この発明の目的の1つは、トナーを外部に効率的に排出することが可能なトナー収容容器を提供することある。
【0007】
この発明の他の目的は、トナーを効率的に消費することが可能な画像形成装置を提供することである。
【課題を解決するための手段】
【0008】
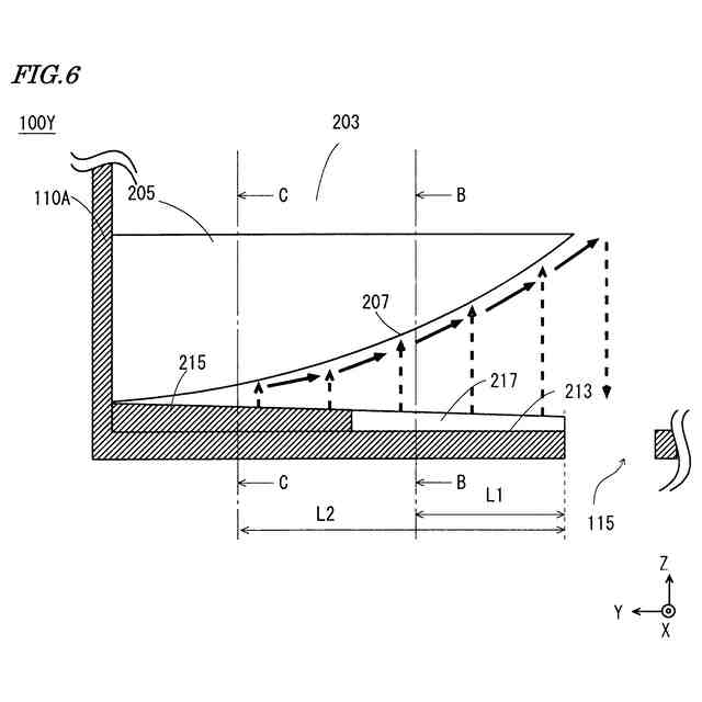
この発明のある局面によれば、トナー収容容器は、トナーを収容する収容空間と収容空間を下方に開放する排出口とを有する収容部と、収容空間内で収容部により回転可能に支持される撹拌部と、を備え、収容部は、底面を有する底部と、底面から上方に延びる側面を有する側壁と、底面または側面のいずれかに形成された傾斜面と、を備え、傾斜面は、撹拌部の回転軸と平行な軸方向および回転軸の周りに回転する撹拌部の周方向にそれぞれ交差しかつ排出口を向く。
【0009】
この発明の他の局面によれば、画像形成装置は、上記のトナー収容容器を備える。
【図面の簡単な説明】
【0010】
本発明の実施の形態の1つにおけるMFPの外観を示す第1の斜視図である。
本発明の実施の形態の1つにおけるMFPの外観を示す第2の斜視図である。
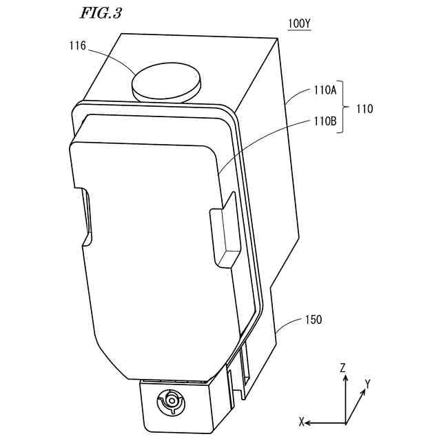
トナー収容容器の斜視図である。
トナー収容容器の内部構成の一例を示す第1の斜視図である。
トナー収容容器の内部構成の一例を示す第2の斜視図である。
図5のトナー収容容器の一部をA-A線を通りY軸に平行な面で切断した断面を拡大して示す図である。
トナー収容容器の内部を上方から見た図である。
図6のB-B線断面図である。
図6のC-C線断面図である。
撹拌部材と可撓性シートとの位置関係の一例を示す第1の図である。
撹拌部材と可撓性シートとの位置関係の一例を示す第2の図である。
第1の変形例におけるトナー収容容器の一部の断面を拡大して示す図である。
第2の変形例におけるトナー収容容器の断面図である。
【発明を実施するための形態】
(【0011】以降は省略されています)
この特許をJ-PlatPat(特許庁公式サイト)で参照する
関連特許
コニカミノルタ株式会社
緩衝材
16日前
コニカミノルタ株式会社
パレット
24日前
コニカミノルタ株式会社
光計測装置
3日前
コニカミノルタ株式会社
画像形成装置
19日前
コニカミノルタ株式会社
情報処理装置
19日前
コニカミノルタ株式会社
液滴吐出装置
11日前
コニカミノルタ株式会社
画像形成装置
17日前
コニカミノルタ株式会社
画像形成装置
1か月前
コニカミノルタ株式会社
画像形成装置
1か月前
コニカミノルタ株式会社
画像形成装置
9日前
コニカミノルタ株式会社
画像形成方法
26日前
コニカミノルタ株式会社
超音波診断装置
17日前
コニカミノルタ株式会社
画像形成システム
18日前
コニカミノルタ株式会社
サンプル測定装置
1か月前
コニカミノルタ株式会社
放射線画像撮影装置
1か月前
コニカミノルタ株式会社
放射線撮影システム
9日前
コニカミノルタ株式会社
放射線撮影システム
9日前
コニカミノルタ株式会社
放射線画像撮影装置
1か月前
コニカミノルタ株式会社
放射線画像撮影装置
1か月前
コニカミノルタ株式会社
放射線画像撮影装置
1か月前
コニカミノルタ株式会社
画像形成装置、画像形成方法
24日前
コニカミノルタ株式会社
用紙加湿装置及び画像形成システム
27日前
コニカミノルタ株式会社
画像読取装置及び画像形成システム
3日前
コニカミノルタ株式会社
抗菌剤塗布装置および画像形成装置
16日前
コニカミノルタ株式会社
トナー収容容器および画像形成装置
3日前
コニカミノルタ株式会社
画像形成装置及び用紙物性検知方法
1か月前
コニカミノルタ株式会社
用紙搬送装置及び画像形成システム
18日前
コニカミノルタ株式会社
開発システムおよび学習管理システム
16日前
コニカミノルタ株式会社
仲介システム、仲介方法及びプログラム
16日前
コニカミノルタ株式会社
定着部材、定着装置および画像形成装置
17日前
コニカミノルタ株式会社
医療用検査装置、および医療用検査方法
16日前
コニカミノルタ株式会社
インクジェット記録装置及びプログラム
11日前
コニカミノルタ株式会社
画像形成装置、補正方法及びプログラム
24日前
コニカミノルタ株式会社
定着部材、定着装置および画像形成装置
25日前
コニカミノルタ株式会社
画像形成装置、制御方法及びプログラム
3日前
コニカミノルタ株式会社
抽出装置、抽出方法および抽出プログラム
24日前
続きを見る
他の特許を見る