TOP
|
特許
|
意匠
|
商標
特許ウォッチ
Twitter
他の特許を見る
公開番号
2025166692
公報種別
公開特許公報(A)
公開日
2025-11-06
出願番号
2024070886
出願日
2024-04-24
発明の名称
定着部材、定着装置および画像形成装置
出願人
コニカミノルタ株式会社
代理人
弁理士法人鷲田国際特許事務所
主分類
G03G
15/20 20060101AFI20251029BHJP(写真;映画;光波以外の波を使用する類似技術;電子写真;ホログラフイ)
要約
【課題】フッ素化合物およびシラン化合物を含むことなく、分離性を有する定着部材を提供すること。
【解決手段】定着部材は、樹脂を含み、フッ素化合物およびシラン化合物を含まない表層を有し、前記表層の表面の算術平均高さは、0.1μm以上20μm以下である。
【選択図】図2
特許請求の範囲
【請求項1】
樹脂を含み、フッ素化合物およびシラン化合物を含まない表層を有し、
前記表層の表面の算術平均高さは、0.1μm以上20μm以下である、
定着部材。
続きを表示(約 650 文字)
【請求項2】
前記表層は、数平均粒子径が0.5μm以上2.0μm以下の微粒子をさらに含む、請求項1に記載の定着部材。
【請求項3】
前記表層の150℃におけるヘキサデカン接触角は、25°超である、請求項1に記載の定着部材。
【請求項4】
前記微粒子は、シリコーン微粒子またはメラミン微粒子を含む、請求項2に記載の定着部材。
【請求項5】
前記微粒子は、衝撃吸収性の樹脂で被覆されている、請求項2に記載の定着部材。
【請求項6】
前記樹脂は、ポリメチルペンテンまたはポリフェニレンサルファイドを含む、請求項1に記載の定着部材。
【請求項7】
前記樹脂に対する前記微粒子の添加量は、5体積%以上20体積%以下である、請求項2に記載の定着部材。
【請求項8】
ポリイミドを含む基層と、
前記基層の上に配置されたシリコーンゴムを含む弾性層と、
前記弾性層の上に配置された前記表層と、
を有する、
請求項1に記載の定着部材。
【請求項9】
前記定着部材の形状は、無端状のベルト形状である、
請求項8に記載の定着部材。
【請求項10】
請求項9に記載の定着部材と、
前記定着部材を軸支する複数のローラと、
前記定着部材を加熱するための加熱部と、
を有する、
定着装置。
(【請求項11】以降は省略されています)
発明の詳細な説明
【技術分野】
【0001】
本発明は、定着部材、定着装置および画像形成装置に関する。
続きを表示(約 1,400 文字)
【背景技術】
【0002】
従来、複写機やレーザービームプリンターなどを含む電子写真方式の画像形成装置は、加熱された定着部材を、記録媒体に担持された未定着のトナー画像に接触させて、トナー画像を記録媒体に定着させる定着装置を有する(例えば、特許文献1参照)。このような定着装置は、搬送される記録媒体にトナー画像を熱圧着させるとともに、定着部材から記録媒体が剥がれるように構成されている。また、定着部材には、その表面がトナーやワックスにより汚れないこと、および定着部材の表面でトナーを溶融させるため、高融点な材料で構成されることが要求される。
【0003】
特許文献1には、加圧部材と、加圧ローラと、定着ベルトと、搬送用ロールを有する定着装置が記載されている。特許文献1に記載の定着装置における定着ベルトは、耐熱性シートと、耐熱性シートの上に配置された弾性体層と、弾性体層の上に配置されたフッ素樹脂を含む最外層とを有している。特許文献1に記載された定着装置では、定着ベルトがフッ素樹脂を含む最外層を有することにより、上記した機能を発揮している。
【先行技術文献】
【特許文献】
【0004】
特開2000-321908号公報
【発明の概要】
【発明が解決しようとする課題】
【0005】
ここで、フッ素樹脂は、化学的に非常に安定なため、フッ素樹脂が使用された製品の商品寿命後でも半永久的に残存する。また、一部のフッ素樹脂は、生物蓄積性や毒性の観点から、人体への影響が危惧されている。欧州などでは、有機フッ素樹脂の総称であるPFAS(Per and Polyfluoroalkylsubstances)の規制
がすすんでおり、今後、有機フッ素樹脂を使用することに対する規制がさらに強化されると考えられる。そこで、特許文献1に記載した定着装置を有する画像形成装置などでも、フッ素樹脂ではない樹脂を用いた定着部材を使用することが望まれている。
【0006】
そこで、本発明の目的は、フッ素化合物およびシラン化合物を含むことなく、分離性を有する定着部材を提供することである。また、本発明の別の目的は、当該定着部材を有する定着装置および画像形成装置を提供することである。
【課題を解決するための手段】
【0007】
本発明の一実施の形態に係る定着部材は、樹脂を含み、フッ素化合物およびシラン化合物を含まない表層を有し、前記表層の表面の算術平均高さは、0.1μm以上20μm以下である。
【0008】
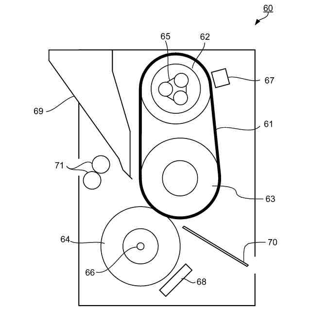
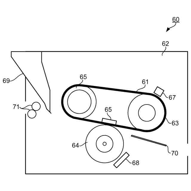
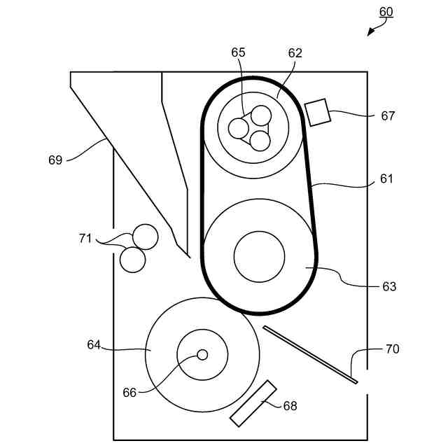
本発明の一実施の形態に係る定着装置は、本発明の定着部材と、前記定着部材を軸支する複数のローラと、前記定着部材を加熱するための加熱部と、を有する。
【0009】
本発明の一実施の形態に係る画像形成装置は、記録媒体上に電子写真方式によって形成された未定着のトナー画像を加熱および加圧によって前記記録媒体に定着させる、本発明の定着装置を有する。
【発明の効果】
【0010】
本発明によれば、分離性を有する定着部材、この定着部材を備えた定着装置および画像形成装置を提供できる。
【図面の簡単な説明】
(【0011】以降は省略されています)
この特許をJ-PlatPat(特許庁公式サイト)で参照する
関連特許
コニカミノルタ株式会社
緩衝材
16日前
コニカミノルタ株式会社
パレット
24日前
コニカミノルタ株式会社
光計測装置
3日前
コニカミノルタ株式会社
画像形成装置
9日前
コニカミノルタ株式会社
画像形成装置
19日前
コニカミノルタ株式会社
画像形成装置
1か月前
コニカミノルタ株式会社
画像形成装置
17日前
コニカミノルタ株式会社
情報処理装置
19日前
コニカミノルタ株式会社
液滴吐出装置
11日前
コニカミノルタ株式会社
画像形成方法
26日前
コニカミノルタ株式会社
画像形成装置
1か月前
コニカミノルタ株式会社
超音波診断装置
17日前
コニカミノルタ株式会社
サンプル測定装置
1か月前
コニカミノルタ株式会社
画像形成システム
18日前
コニカミノルタ株式会社
放射線画像撮影装置
1か月前
コニカミノルタ株式会社
放射線画像撮影装置
1か月前
コニカミノルタ株式会社
放射線画像撮影装置
1か月前
コニカミノルタ株式会社
放射線画像撮影装置
1か月前
コニカミノルタ株式会社
放射線撮影システム
9日前
コニカミノルタ株式会社
放射線撮影システム
9日前
コニカミノルタ株式会社
画像形成装置、画像形成方法
24日前
コニカミノルタ株式会社
抗菌剤塗布装置および画像形成装置
16日前
コニカミノルタ株式会社
トナー収容容器および画像形成装置
3日前
コニカミノルタ株式会社
用紙搬送装置及び画像形成システム
18日前
コニカミノルタ株式会社
画像形成装置及び転写条件制御方法
1か月前
コニカミノルタ株式会社
画像形成装置及び用紙物性検知方法
1か月前
コニカミノルタ株式会社
画像読取装置及び画像形成システム
3日前
コニカミノルタ株式会社
用紙加湿装置及び画像形成システム
27日前
コニカミノルタ株式会社
開発システムおよび学習管理システム
16日前
コニカミノルタ株式会社
定着部材、定着装置および画像形成装置
17日前
コニカミノルタ株式会社
医療用検査装置、および医療用検査方法
16日前
コニカミノルタ株式会社
定着部材、定着装置および画像形成装置
25日前
コニカミノルタ株式会社
インクジェット記録装置及びプログラム
11日前
コニカミノルタ株式会社
画像形成装置、制御方法及びプログラム
3日前
コニカミノルタ株式会社
画像形成装置、補正方法及びプログラム
24日前
コニカミノルタ株式会社
仲介システム、仲介方法及びプログラム
16日前
続きを見る
他の特許を見る