TOP
|
特許
|
意匠
|
商標
特許ウォッチ
Twitter
他の特許を見る
10個以上の画像は省略されています。
公開番号
2025166694
公報種別
公開特許公報(A)
公開日
2025-11-06
出願番号
2024070891
出願日
2024-04-24
発明の名称
超音波診断装置
出願人
コニカミノルタ株式会社
代理人
弁理士法人光陽国際特許事務所
主分類
A61B
8/00 20060101AFI20251029BHJP(医学または獣医学;衛生学)
要約
【課題】超音波診断装置が移動しても、周辺機器のケーブルが周囲の機器等に引っ掛かることを防止し、周辺機器や施設内の他機器を破損させてしまうリスクを低減させる。
【解決手段】超音波診断装置1は、装置本体10を台車であるカート20に搭載して移動可能に構成された超音波診断装置1であって、カート20は、支柱部23と支柱部23から略水平方向に張り出す平板状の卓状部25とを有し、卓状部25の下面側には、少なくとも周辺機器の余長ケーブル51を収容可能な収容トレイ3が卓状部25に対して開閉自在に取り付けられている。
【選択図】図1
特許請求の範囲
【請求項1】
装置本体を台車に搭載して移動可能に構成された超音波診断装置であって、
前記台車は、支柱部と前記支柱部から略水平方向に張り出す平板状の卓状部とを有し、
前記卓状部の下面側には、少なくとも周辺機器の余長ケーブルを収容可能な収容トレイが前記卓状部に対して開閉自在に取り付けられている、
ことを特徴とする超音波診断装置。
続きを表示(約 750 文字)
【請求項2】
前記収容トレイによって形成される収容空間内には、周辺機器を収容するための空間が確保されている、
ことを特徴とする請求項1に記載の超音波診断装置。
【請求項3】
前記収容トレイによって形成される収容空間内には、周辺機器が接続されるコネクタ部が設けられている、
ことを特徴とする請求項1に記載の超音波診断装置。
【請求項4】
前記収容トレイは、一側が前記卓状部側に回動自在に取り付けられ、他側が下方向に回動可能となっており、
開状態において、前記収容トレイは、前記卓状部に対して略90度となる位置まで回動する、
ことを特徴とする請求項1に記載の超音波診断装置。
【請求項5】
前記収容トレイは、前記卓状部の最外側縁よりも内側に設けられている、
ことを特徴とする請求項1に記載の超音波診断装置。
【請求項6】
前記卓状部の最外側縁よりも外側には、装置移動用の取っ手が設けられている、
ことを特徴とする請求項1に記載の超音波診断装置。
【請求項7】
前記収容トレイは、前記余長ケーブルを巻き掛け可能な突出部を内部に備えている、
ことを特徴とする請求項1に記載の超音波診断装置。
【請求項8】
前記収容トレイは、トレイ側の係止手段を備え、
前記卓状部は、前記収容トレイが閉状態であるときに前記トレイ側の係止手段に対応する位置に卓状部側の係止手段を備え、
前記トレイ側の係止手段と前記卓状部側の係止手段とが係合状態となることで前記収容トレイの閉状態が維持される、
ことを特徴とする請求項1に記載の超音波診断装置。
発明の詳細な説明
【技術分野】
【0001】
本発明は、超音波診断装置に関する。
続きを表示(約 1,800 文字)
【背景技術】
【0002】
従来、超音波診断装置本体を台車に搭載して使用する超音波診断装置が知られている。このような超音波診断装置では、施設内の複数部屋間を移動しながら使用することも想定される。
例えば、特許文献1には、超音波探触子(プローブ)と超音波診断装置本体とを接続するプローブケーブルを収納する収納部を備える超音波診断装置が開示されている。
【先行技術文献】
【特許文献】
【0003】
特開2011-36302号公報
【発明の概要】
【発明が解決しようとする課題】
【0004】
しかしながら、超音波診断装置には、超音波探触子(プローブ)だけでなく、各種の周辺機器が接続され、超音波診断装置とともに使用されることがある。この場合、超音波診断装置は、多くの周辺機器ケーブルが接続された状態で移動することが想定される。
このため、超音波診断装置を移動したときに周辺機器のケーブルが施設内の各所に引っ掛かり、周辺機器が接続されているコネクタ部等が破損するおそれがある。さらに、周辺機器のケーブルが施設内の他機器に接触したり引っ掛かることで、他機器を破損させてしまうおそれもある。
【0005】
本発明は、上記課題に鑑みてなされたもので、超音波診断装置が移動しても、周辺機器のケーブルが周囲の機器等に引っ掛かることを防止し、周辺機器や施設内の他機器を破損させてしまうリスクを低減させることを目的とする。
【課題を解決するための手段】
【0006】
上記課題を解決するため、本発明に係る超音波診断装置は、
装置本体を台車に搭載して移動可能に構成された超音波診断装置であって、
前記台車は、支柱部と前記支柱部から略水平方向に張り出す平板状の卓状部とを有し、
前記卓状部の下面側には、少なくとも周辺機器の余長ケーブルを収容可能な収容トレイが前記卓状部に対して開閉自在に取り付けられている、
ことを特徴とする。
【発明の効果】
【0007】
本発明によれば、超音波診断装置が移動しても、周辺機器のケーブルが周囲の機器等に引っ掛かることを防止し、周辺機器や施設内の他機器を破損させてしまうリスクを低減させることができる。
【図面の簡単な説明】
【0008】
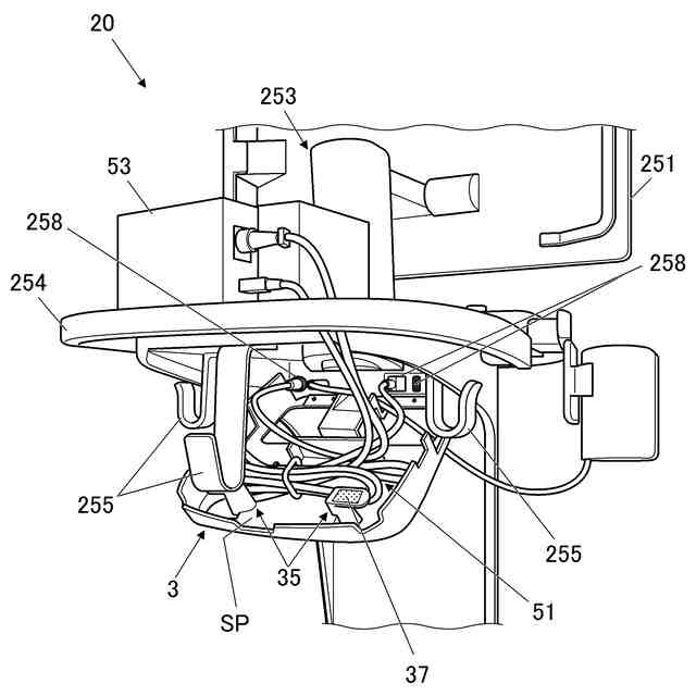
超音波診断装置の外観を示す斜視図である。
超音波診断装置を卓状部の下側から見た要部斜視図である。
収容トレイが開状態となった超音波診断装置の収容空間内を示す要部斜視図である。
超音波診断装置から取り外された収容トレイを示す斜視図である。
図3に示す収容空間内に余長ケーブルや周辺機器を搭載した状態を示す要部斜視図である。
卓状部周辺を後方から見た要部斜視図である。
図6の支持部にカメラ取付ユニットを取り付けた状態を側面から見た要部斜視図である。
収容トレイが開状態となった超音波診断装置の収容空間内に余長ケーブルや周辺機器を搭載した状態を斜め後方から見た要部斜視図である。
図8に示す状態の収容トレイが閉状態となった状態を斜め後方から見た要部斜視図である。
図3に示す収容空間内に予備プローブを搭載した状態を示す要部斜視図である。
【発明を実施するための形態】
【0009】
以下、本発明の一実施形態について図面を参照しながら説明する。ただし、本発明の技術的範囲は、以下の実施の形態及び図示例に限定されるものではない。
【0010】
<超音波診断装置の構成>
まず、本実施形態に係る超音波診断装置1の構成について説明する。
超音波診断装置1は、病院等の医療機関の診察室等に設置され、超音波を送受信する超音波探触子(プローブ、図1等において図示せず)を、医師、技師等のユーザが被検体(患者)に当てて使用される。超音波診断装置1は、超音波探触子から超音波を送受信し、被検体からのエコーに応じたエコー信号から超音波画像を生成する装置である。本実施形態の超音波診断装置1は、病院等の医療機関の施設内を移動できるように、移動可能な構成を有している。
(【0011】以降は省略されています)
この特許をJ-PlatPat(特許庁公式サイト)で参照する
関連特許
コニカミノルタ株式会社
緩衝材
16日前
コニカミノルタ株式会社
パレット
24日前
コニカミノルタ株式会社
光計測装置
3日前
コニカミノルタ株式会社
画像形成装置
1か月前
コニカミノルタ株式会社
画像形成装置
19日前
コニカミノルタ株式会社
情報処理装置
19日前
コニカミノルタ株式会社
液滴吐出装置
11日前
コニカミノルタ株式会社
画像形成装置
1か月前
コニカミノルタ株式会社
画像形成方法
26日前
コニカミノルタ株式会社
画像形成装置
9日前
コニカミノルタ株式会社
画像形成装置
17日前
コニカミノルタ株式会社
超音波診断装置
17日前
コニカミノルタ株式会社
サンプル測定装置
1か月前
コニカミノルタ株式会社
画像形成システム
18日前
コニカミノルタ株式会社
放射線画像撮影装置
1か月前
コニカミノルタ株式会社
放射線撮影システム
9日前
コニカミノルタ株式会社
放射線画像撮影装置
1か月前
コニカミノルタ株式会社
放射線撮影システム
9日前
コニカミノルタ株式会社
放射線画像撮影装置
1か月前
コニカミノルタ株式会社
放射線画像撮影装置
1か月前
コニカミノルタ株式会社
画像形成装置、画像形成方法
24日前
コニカミノルタ株式会社
用紙加湿装置及び画像形成システム
27日前
コニカミノルタ株式会社
用紙搬送装置及び画像形成システム
18日前
コニカミノルタ株式会社
画像形成装置及び用紙物性検知方法
1か月前
コニカミノルタ株式会社
画像読取装置及び画像形成システム
3日前
コニカミノルタ株式会社
トナー収容容器および画像形成装置
3日前
コニカミノルタ株式会社
抗菌剤塗布装置および画像形成装置
16日前
コニカミノルタ株式会社
開発システムおよび学習管理システム
16日前
コニカミノルタ株式会社
定着部材、定着装置および画像形成装置
17日前
コニカミノルタ株式会社
医療用検査装置、および医療用検査方法
16日前
コニカミノルタ株式会社
仲介システム、仲介方法及びプログラム
16日前
コニカミノルタ株式会社
定着部材、定着装置および画像形成装置
25日前
コニカミノルタ株式会社
画像形成装置、制御方法及びプログラム
3日前
コニカミノルタ株式会社
画像形成装置、補正方法及びプログラム
24日前
コニカミノルタ株式会社
インクジェット記録装置及びプログラム
11日前
コニカミノルタ株式会社
抽出装置、抽出方法および抽出プログラム
24日前
続きを見る
他の特許を見る