TOP
|
特許
|
意匠
|
商標
特許ウォッチ
Twitter
他の特許を見る
10個以上の画像は省略されています。
公開番号
2025171488
公報種別
公開特許公報(A)
公開日
2025-11-20
出願番号
2024076895
出願日
2024-05-10
発明の名称
光計測装置
出願人
コニカミノルタ株式会社
代理人
弁理士法人光陽国際特許事務所
主分類
G01M
11/00 20060101AFI20251113BHJP(測定;試験)
要約
【課題】近接する二つの計測領域における計測の正確性が向上した光計測装置を提供する。
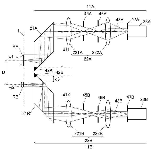
【解決手段】互いに隔てた複数の計測領域をそれぞれ計測する少なくとも二つのプローブを備えた光計測装置において、前記二つのプローブは、それぞれ、光学部材と、レンズ系と、導光部と、測光部とを有し、前記光学部材は、前記計測領域からの光を偏向し、前記二つのプローブにおいて、前記レンズ系の光軸間隔は、前記計測領域の中心間距離よりも広く、前記二つのプローブの前記計測領域の面積は、互いに異なり、前記二つのプローブの計測角は、同じである。
【選択図】図4
特許請求の範囲
【請求項1】
互いに隔てた複数の計測領域をそれぞれ計測する少なくとも二つのプローブを備えた光計測装置であって、
前記二つのプローブは、それぞれ、光学部材と、レンズ系と、導光部と、測光部とを有し、
前記光学部材は、前記計測領域からの光を偏向し、
前記二つのプローブにおいて、前記レンズ系の光軸間隔は、前記計測領域の中心間距離よりも広く、
前記二つのプローブの前記計測領域の面積は、互いに異なり、
前記二つのプローブの計測角は、同じである、光計測装置。
続きを表示(約 1,000 文字)
【請求項2】
前記二つのプローブは、前記レンズ系の全長の差が10mm以内である、請求項1に記載の光計測装置。
【請求項3】
前記二つのプローブの前記レンズ系は、同一であり、
前記二つのプローブは、それぞれ、被計測面と前記レンズ系に関して共役な位置に視野絞りを有し、
前記二つのプローブの前記視野絞りの開口面積は、互いに異なる、請求項1又は請求項2に記載の光計測装置。
【請求項4】
前記レンズ系の光軸方向における前記二つのプローブの前記視野絞りの位置は、互いに異なる、請求項3に記載の光計測装置。
【請求項5】
前記二つのプローブのワーキングディスタンスは、互いに異なる、請求項1又は請求項2に記載の光計測装置。
【請求項6】
前記二つのプローブの前記レンズ系は、それぞれ、正のパワーを持つレンズ群を有し、
前記二つのプローブは、それぞれ、前記レンズ群の後ろ側焦点位置に開口絞りを有する、請求項1又は請求項2に記載の光計測装置。
【請求項7】
前記二つのプローブの前記レンズ系は、それぞれ、いずれも正のパワーを持つ前方レンズ群と後方レンズ群を有し、
前記二つのプローブは、それぞれ、前記前方レンズ群の後ろ側焦点位置に開口絞りを有する、請求項1又は請求項2に記載の光計測装置。
【請求項8】
前記二つのプローブの前記レンズ系は、それぞれ、いずれも正のパワーを持つ前方レンズ群と後方レンズ群を有し、
前記二つのプローブは、それぞれ、前記後方レンズ群に関して前記前方レンズ群の後ろ側焦点位置と共役な位置に開口絞りを有する、請求項1又は請求項2に記載の光計測装置。
【請求項9】
前記二つのプローブの前記レンズ系は、それぞれ、いずれも正のパワーを持つ前方レンズ群と後方レンズ群を有し、
前記二つのプローブは、それぞれ視野絞りを有し、
前記前方レンズ群に関して被計測面と共役な位置と、前記後方レンズ群の前側焦点位置と、前記視野絞りの位置が一致する、請求項1又は請求項2に記載の光計測装置。
【請求項10】
前記導光部は、バンドルファイバーを有する、請求項1又は請求項2に記載の光計測装置。
(【請求項11】以降は省略されています)
発明の詳細な説明
【技術分野】
【0001】
本発明は、光計測装置に関する。
続きを表示(約 1,600 文字)
【背景技術】
【0002】
発光体からの光を計測する光計測装置が知られている。例えば、光計測装置の一つである色彩輝度計は、ディスプレイの光学特性を計測でき、その計測結果を基に、ディスプレイの色調整ができる。
【0003】
ディスプレイが小さいと、光学特性を計測する計測領域も小さくなる。一般的に、被計測物におけるある計測領域から発せられる光量は、計測領域の面積が小さくなるほど減少する。そのため、小さな計測領域からより多くの光量を取り入れて光学特性を計測する光計測装置が知られている(特許文献1~3)。
【先行技術文献】
【特許文献】
【0004】
国際公開第2011/121896号
国際公開第2018/230177号
特開2003-247891号公報
【発明の概要】
【発明が解決しようとする課題】
【0005】
近年、ディスプレイの分野において、Under Screen Camera(USC)と呼ばれる技術が開発されている。USCは、ディスプレイの背面にカメラモジュールを配置する技術であり、USCを採用したデバイスは、ディスプレイ越しにカメラを視認しづらい構成を有する。このようなデバイスでは、カメラと重なるディスプレイの部分(USC部)と、カメラと重ならないディスプレイの通常の部分(通常部)とは、異なる構造を有する。例えばディスプレイのγ調整では、USC部と通常部との各々に対してγ調整が必要である。
【0006】
γ調整におけるタクトタイムを短縮するためには、USC部と通常部のそれぞれの輝度を同時に計測する必要がある。また、ディスプレイの面内の発光分布の影響を低減する観点から、USC部の計測領域と通常部の計測領域は近接することが好ましい。
【0007】
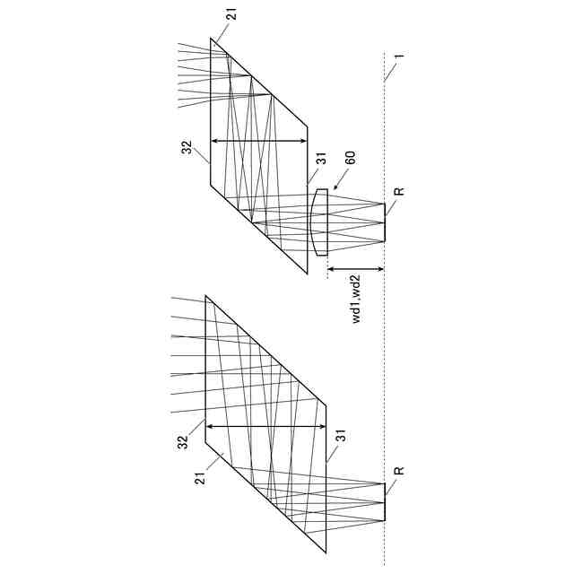
ディスプレイにおけるUSC部の領域は非常に狭く、USC部の計測領域も非常に狭い。一方、ディスプレイにおける通常部の領域は広いため、通常部の計測領域は必ずしもUSC部の計測領域ほど狭くする必要はない。また、計測に十分な光量が得られ正確性が向上する観点から、通常部の計測領域はある程度広いことが好ましい。輝度を計測するプローブ内のレンズ等の各部材の形状、位置等を変更することにより、USC部と通常部とそれぞれの適した計測領域に変更することができる。
【0008】
一方、γ調整では、ディスプレイのUSC部と通常部との輝度の差異に着目する観点から、USC部と通常部とで計測条件は同一であることが好ましい。USC部を計測するプローブと通常部を計測するプローブとにおいて、各部材の形状、位置等を大きく変更すると、各プローブの計測条件が変化する。その結果、ディスプレイのUSC部と通常部との輝度の差異を正確に計測しづらい。
【0009】
本発明の解決課題は、近接する二つの計測領域における計測の正確性が向上した光計測装置を提供することである。
【課題を解決するための手段】
【0010】
上記課題を解決するため、本発明の光計測装置は、
互いに隔てた複数の計測領域をそれぞれ計測する少なくとも二つのプローブを備えた光計測装置であって、
前記二つのプローブは、それぞれ、光学部材と、レンズ系と、導光部と、測光部とを有し、
前記光学部材は、前記計測領域からの光を偏向し、
前記二つのプローブにおいて、前記レンズ系の光軸間隔は、前記計測領域の中心間距離よりも広く、
前記二つのプローブの前記計測領域の面積は、互いに異なり、
前記二つのプローブの計測角は、同じである。
(【0011】以降は省略されています)
この特許をJ-PlatPat(特許庁公式サイト)で参照する
関連特許
コニカミノルタ株式会社
緩衝材
16日前
コニカミノルタ株式会社
パレット
24日前
コニカミノルタ株式会社
光計測装置
3日前
コニカミノルタ株式会社
画像形成装置
9日前
コニカミノルタ株式会社
画像形成装置
19日前
コニカミノルタ株式会社
画像形成装置
1か月前
コニカミノルタ株式会社
画像形成装置
17日前
コニカミノルタ株式会社
情報処理装置
19日前
コニカミノルタ株式会社
液滴吐出装置
11日前
コニカミノルタ株式会社
画像形成方法
26日前
コニカミノルタ株式会社
画像形成装置
1か月前
コニカミノルタ株式会社
超音波診断装置
17日前
コニカミノルタ株式会社
サンプル測定装置
1か月前
コニカミノルタ株式会社
画像形成システム
18日前
コニカミノルタ株式会社
放射線画像撮影装置
1か月前
コニカミノルタ株式会社
放射線画像撮影装置
1か月前
コニカミノルタ株式会社
放射線画像撮影装置
1か月前
コニカミノルタ株式会社
放射線画像撮影装置
1か月前
コニカミノルタ株式会社
放射線撮影システム
9日前
コニカミノルタ株式会社
放射線撮影システム
9日前
コニカミノルタ株式会社
画像形成装置、画像形成方法
24日前
コニカミノルタ株式会社
抗菌剤塗布装置および画像形成装置
16日前
コニカミノルタ株式会社
トナー収容容器および画像形成装置
3日前
コニカミノルタ株式会社
用紙搬送装置及び画像形成システム
18日前
コニカミノルタ株式会社
画像形成装置及び転写条件制御方法
1か月前
コニカミノルタ株式会社
画像形成装置及び用紙物性検知方法
1か月前
コニカミノルタ株式会社
画像読取装置及び画像形成システム
3日前
コニカミノルタ株式会社
用紙加湿装置及び画像形成システム
27日前
コニカミノルタ株式会社
開発システムおよび学習管理システム
16日前
コニカミノルタ株式会社
定着部材、定着装置および画像形成装置
17日前
コニカミノルタ株式会社
医療用検査装置、および医療用検査方法
16日前
コニカミノルタ株式会社
定着部材、定着装置および画像形成装置
25日前
コニカミノルタ株式会社
インクジェット記録装置及びプログラム
11日前
コニカミノルタ株式会社
画像形成装置、制御方法及びプログラム
3日前
コニカミノルタ株式会社
画像形成装置、補正方法及びプログラム
24日前
コニカミノルタ株式会社
仲介システム、仲介方法及びプログラム
16日前
続きを見る
他の特許を見る