TOP
|
特許
|
意匠
|
商標
特許ウォッチ
Twitter
他の特許を見る
10個以上の画像は省略されています。
公開番号
2025147481
公報種別
公開特許公報(A)
公開日
2025-10-07
出願番号
2024047745
出願日
2024-03-25
発明の名称
画像形成装置及び転写条件制御方法
出願人
コニカミノルタ株式会社
代理人
弁理士法人光陽国際特許事務所
,
弁理士法人信友国際特許事務所
主分類
G03G
15/16 20060101AFI20250930BHJP(写真;映画;光波以外の波を使用する類似技術;電子写真;ホログラフイ)
要約
【課題】平均粒径の異なるトナーを重ね合わせて画像形成を行う際、用紙先端における放電による画質不良の発生を防止する。
【解決手段】画像形成装置1は、転写条件に基づいて、記録材にトナー画像を2次転写する2次転写部133と、平均粒径の異なるトナーを用いるトナー層を重ね合わせる画像形成において、記録材の物性値に応じて、転写条件を変更する制御部16と、を備える。
【選択図】 図11
特許請求の範囲
【請求項1】
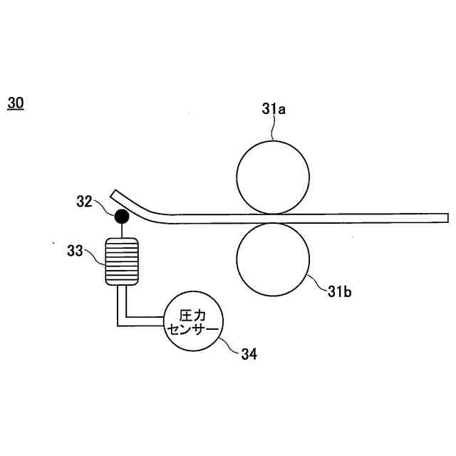
転写条件に基づいて、記録材にトナー画像を2次転写する2次転写部と、
平均粒径の異なるトナーを用いるトナー層を重ね合わせる画像形成において、前記記録材の物性値に応じて、前記転写条件を変更する制御部と、を備える
画像形成装置。
続きを表示(約 850 文字)
【請求項2】
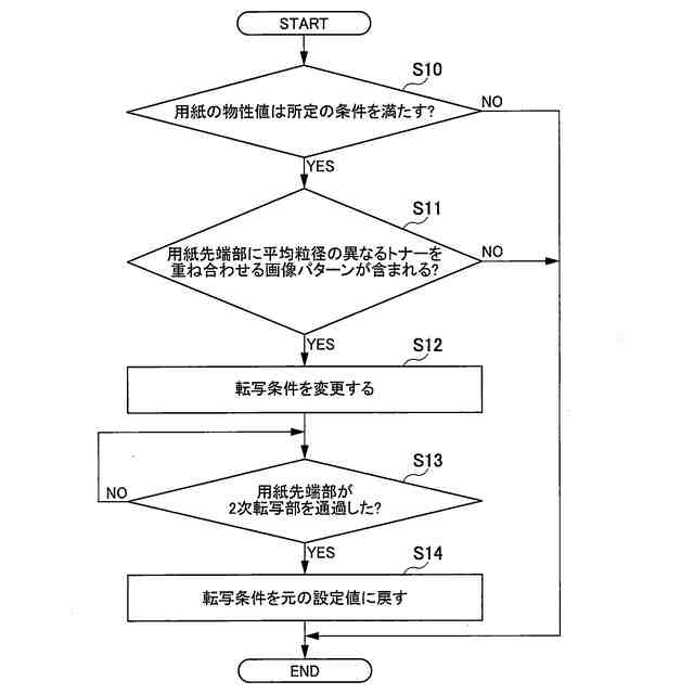
前記制御部は、前記記録材の先端部に、前記平均粒径の異なるトナーを用いるトナー層を重ね合わせる画像パターンが含まれる場合、前記記録材の前記物性値に応じて、前記転写条件を変更する
請求項1に記載の画像形成装置。
【請求項3】
前記制御部は、前記記録材の前記物性値が所定の条件に満たす場合、前記転写条件を変更する
請求項2に記載の画像形成装置。
【請求項4】
前記制御部は、前記記録材の先端部に対する前記転写条件の設定値を元の設定値より小さくなるように変更し、前記記録材の先端部が前記2次転写部を通過した後、前記転写条件の設定値を元の設定値に戻す
請求項3に記載の画像形成装置。
【請求項5】
前記物性値は、前記記録材の抵抗を評価する特性値、前記記録材の剛度を評価する特性値の少なくとも1つ以上を含む
請求項4に記載の画像形成装置。
【請求項6】
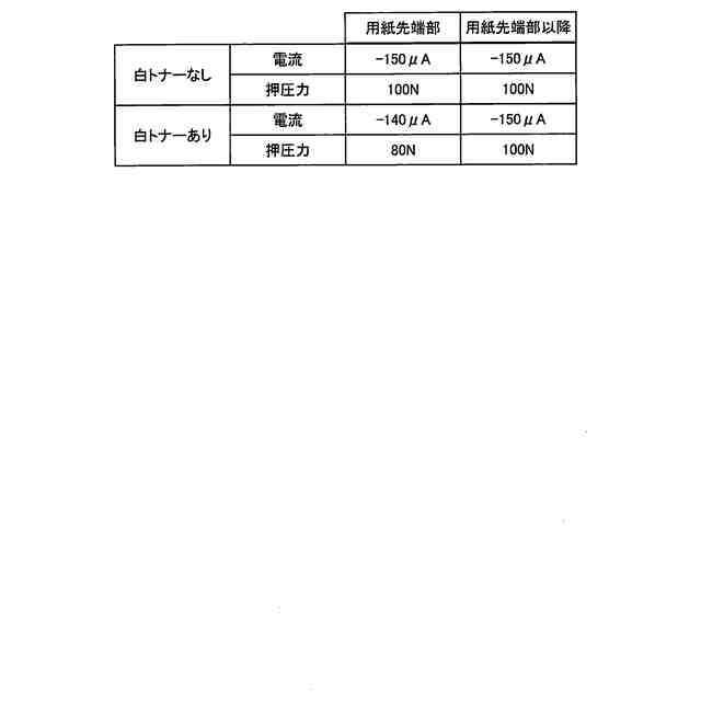
前記転写条件は、前記2次転写部における転写電流及び転写押圧力を含み、
前記制御部は、前記転写電流及び前記転写押圧力の少なくとも1つ以上を変更する
請求項4に記載の画像形成装置。
【請求項7】
前記平均粒径の異なるトナーは、前記平均粒径の差異が所定値以上である、白トナーとカラートナーとである
請求項1に記載の画像形成装置。
【請求項8】
前記平均粒径の異なるトナーは、異なる製造方法で製造されるトナーである
請求項1に記載の画像形成装置。
【請求項9】
前記平均粒径の異なるトナーは、トナー円形度の差異が所定の値以上であるトナーである
請求項1に記載の画像形成装置。
【請求項10】
前記平均粒径の異なるトナーは、トナー比重が一定値以上であるトナーである
請求項1に記載の画像形成装置。
(【請求項11】以降は省略されています)
発明の詳細な説明
【技術分野】
【0001】
本発明は、画像形成装置及び転写条件制御方法に関する。
続きを表示(約 1,500 文字)
【背景技術】
【0002】
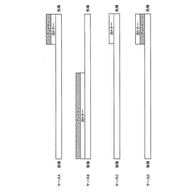
従来、電子写真方式の画像形成装置は、帯電した感光体ドラムに対して画像データに基づいて、レーザー光を照射することにより静電潜像を形成する。そして、画像形成装置は、静電潜像にトナーを付着させることで静電潜像を可視化してトナー像を形成する。画像形成装置において、粉砕トナーである白トナーとカラートナーとを重ね合わせて画像形成が行われる場合、用紙先端の画像濃度が薄くなることが発生する。これは、用紙先端が転写部突入時にたわんで、用紙とベルト上のトナー画像との間にギャップができ、放電が発生するためである。抵抗の高い用紙や、剛度が一定値以上の用紙が転写部に通紙される場合、用紙先端がたわんで放電が発生しやすい。用紙先端に放電が発生する場合、白トナーとカラートナーとの平均粒径の差異により、白トナーとカラートナーとの混ざり合いが起こって、用紙先端の画像濃度が薄くなる。
【0003】
上述の用紙先端における放電を防ぐため、用紙先端に対して、転写押圧力を変更する技術として、例えば、特許文献1に記載の技術が開示されている。また、上述の用紙先端における放電を防ぐため、用紙先端が転写ニップに突入する際、転写電圧を下げる技術として、例えば、特許文献2に記載の技術が開示されている。
【0004】
特許文献1には、制御部は、記録用紙の坪量が所定坪量以上の場合、記録用紙に付与される転写圧がデフォルトの転写圧に対して大きくなるように制御することが記載されている。また、制御部は、記録用紙の剛度に応じて、記録用紙に付与される転写圧を変更することが記載されている。
【0005】
特許文献2には、シートの搬送方向先端が接触部に突入する時から所定時間経過時までの間、規定の電圧よりも所定値だけ低い突入時電圧を出力させることが記載されている。
【先行技術文献】
【特許文献】
【0006】
特開2014-63035号公報
特開2006-208497号公報
【発明の概要】
【発明が解決しようとする課題】
【0007】
上述のように、従来、用紙先端における放電を防ぐため、用紙先端に対して転写押圧力を変更する技術、及び転写電圧を下げる技術が開示されている。しかし、特許文献1及び特許文献2に記載の技術は、平均粒径の異なるトナーを重ね合わせて画像形成を行う際に、用紙先端における放電による画質不良について言及していない。
【0008】
本発明は上記状況を鑑みて成されたものであり、本発明の目的は、平均粒径の異なるトナーを重ね合わせて画像形成を行う際、用紙先端における放電による画質不良の発生を防止することである。
【課題を解決するための手段】
【0009】
上記課題を解決するため、本発明の画像形成装置は、転写条件に基づいて、記録材にトナー画像を2次転写する2次転写部と、平均粒径の異なるトナーを用いるトナー層を重ね合わせる画像形成において、記録材の物性値に応じて、転写条件を変更する制御部と、を備える。
なお、上記の画像形成装置は本発明の一態様であり、本発明の一側面を反映した転写条件制御方法についても、上記の画像形成装置と同様に構成される。
【発明の効果】
【0010】
上記構成の本発明によれば、平均粒径の異なるトナーを重ね合わせて画像形成を行う際、用紙先端における放電による画質不良の発生を防止することができる。
上記以外の課題、構成及び効果は、以下の実施の形態の説明により明らかにされる。
【図面の簡単な説明】
(【0011】以降は省略されています)
この特許をJ-PlatPat(特許庁公式サイト)で参照する
関連特許
個人
表示装置
1か月前
個人
雨用レンズカバー
1か月前
キヤノン株式会社
撮像装置
1か月前
日本精機株式会社
車両用投射装置
1か月前
キヤノン株式会社
撮像装置
1か月前
キヤノン株式会社
撮像装置
1か月前
株式会社リコー
画像形成装置
24日前
株式会社リコー
画像形成装置
24日前
株式会社リコー
画像形成装置
27日前
株式会社リコー
画像形成装置
18日前
株式会社リコー
画像形成装置
9日前
キヤノン株式会社
画像形成装置
26日前
キヤノン株式会社
トナー
1か月前
キヤノン株式会社
トナー
1か月前
キヤノン株式会社
画像形成装置
3日前
キヤノン株式会社
画像形成装置
1か月前
キヤノン株式会社
トナー
1か月前
アイホン株式会社
カメラシステム
1か月前
キヤノン株式会社
現像装置
1か月前
沖電気工業株式会社
画像形成装置
1か月前
沖電気工業株式会社
画像形成装置
24日前
スタンレー電気株式会社
照明装置
1か月前
レーザーテック株式会社
光源装置
11日前
キヤノン株式会社
レンズキャップ
1か月前
株式会社電気印刷研究所
静電印刷用積層体
1か月前
ブラザー工業株式会社
画像形成装置
1か月前
古野電気株式会社
装置
1か月前
ブラザー工業株式会社
画像形成装置
1か月前
キヤノン株式会社
画像形成装置
9日前
キヤノン株式会社
画像形成装置
24日前
キヤノン株式会社
画像形成装置
9日前
キヤノン株式会社
画像形成装置
9日前
キヤノン株式会社
画像形成装置
1か月前
キヤノン株式会社
画像形成装置
1か月前
キヤノン株式会社
画像形成装置
18日前
コニカミノルタ株式会社
画像形成装置
1か月前
続きを見る
他の特許を見る