TOP
|
特許
|
意匠
|
商標
特許ウォッチ
Twitter
他の特許を見る
10個以上の画像は省略されています。
公開番号
2025171289
公報種別
公開特許公報(A)
公開日
2025-11-20
出願番号
2024076468
出願日
2024-05-09
発明の名称
画像形成装置、制御方法及びプログラム
出願人
コニカミノルタ株式会社
代理人
弁理士法人光陽国際特許事務所
主分類
G03G
21/00 20060101AFI20251113BHJP(写真;映画;光波以外の波を使用する類似技術;電子写真;ホログラフイ)
要約
【課題】像担持体上の滑剤量に起因する画像不良を抑制する。
【解決手段】画像形成装置1の制御部10は、耐久初期における滑剤ブラシ47aに滑剤棒47bを初期押圧力により押圧した状態での滑剤ブラシ47aの初期擦過力F1、及び滑剤の削れやすさKに基づいて算出した、耐久初期における像担持体(感光体41)の表面速度に対する滑剤ブラシの表面速度比である線速比θ1により像担持体及び滑剤ブラシ47aを制御し、耐久補正係数γ、初期擦過力F1、耐久末期において滑剤ブラシ47aに滑剤棒47bを初期押圧力より弱い押圧力により押圧した状態での滑剤ブラシ47aの擦過力である末期擦過力F2、及び画像形成部4による印刷枚数に基づいて算出した、線速比の補正値Δθにより線速比θを補正し、耐久末期における滑剤ブラシ47aと滑剤棒47bとの押圧力は、末期擦過力F2と比例関係である。
【選択図】図2
特許請求の範囲
【請求項1】
トナー像を担持する像担持体と、前記像担持体に滑剤を塗布する滑剤塗布部と、を有する画像形成部と、
前記画像形成部を制御する制御部と、を備える画像形成装置であって、
前記滑剤塗布部は、固形化された滑剤棒と、前記滑剤棒から滑剤を掻き取り前記像担持体に供給する滑剤ブラシと、前記滑剤ブラシに滑剤棒を押圧する滑剤押圧部と、を備え、
前記制御部は、
耐久初期において前記滑剤ブラシに前記滑剤棒を初期押圧力により押圧した状態での前記滑剤ブラシの擦過力である初期擦過力、及び前記滑剤の削れやすさに基づいて算出した、耐久初期における前記像担持体の表面速度に対する前記滑剤ブラシの表面速度比である線速比により前記像担持体及び前記滑剤ブラシを制御し、
前記滑剤の削れやすさによって決定される前記滑剤ブラシの耐久変化による耐久補正係数、前記初期擦過力、耐久末期において前記滑剤ブラシに前記滑剤棒を初期押圧力より弱い押圧力により押圧した状態での前記滑剤ブラシの擦過力である末期擦過力、及び前記画像形成部による印刷枚数に基づいて算出した、前記線速比の補正値により前記線速比を補正し、
耐久末期における前記滑剤ブラシと前記滑剤棒との押圧力は、前記末期擦過力と比例関係である、画像形成装置。
続きを表示(約 1,500 文字)
【請求項2】
前記制御部は、下記式(1)により耐久初期における線速比θ1を算出し、下記式(2)により前記線速比の補正値Δθを算出する、請求項1に記載の画像形成装置。
θ1 = α/(F1×K) ・・・(1)
Δθ = α/{(F1-F2)/(P/P0)×γ} ・・・(2)
αは印刷枚数に対する滑剤消費量における目標値、F1は初期擦過力、F2は末期擦過力、Kは滑剤の削れやすさ、Pは印刷枚数、P0は耐久末期における印刷枚数、γは線速比に対する耐久補正係数である。
【請求項3】
前記制御部は、所定の印刷枚数ごとに、前記補正値を算出して、前記補正値により前記線速比を補正する、請求項1に記載の画像形成装置。
【請求項4】
トナー像を担持する像担持体と、前記像担持体に滑剤を塗布する滑剤塗布部と、を有する画像形成部と、を備え、
前記滑剤塗布部は、固形化された滑剤棒と、前記滑剤棒から滑剤を掻き取り前記像担持体に供給する滑剤ブラシと、前記滑剤ブラシに滑剤棒を押圧する滑剤押圧部と、を備える画像形成装置が実行する制御方法であって、
前記画像形成部を制御する制御ステップを含み、
前記制御ステップにおいて、
耐久初期において前記滑剤ブラシに前記滑剤棒を初期押圧力により押圧した状態での前記滑剤ブラシの擦過力である初期擦過力、及び前記滑剤の削れやすさに基づいて算出した、耐久初期における前記像担持体の表面速度に対する前記滑剤ブラシの表面速度比である線速比により前記像担持体及び前記滑剤ブラシを制御し、
前記滑剤の削れやすさによって決定される前記滑剤ブラシの耐久変化による耐久補正係数、前記初期擦過力、耐久末期において前記滑剤ブラシに前記滑剤棒を初期押圧力より弱い押圧力により押圧した状態での前記滑剤ブラシの擦過力である末期擦過力、及び前記画像形成部による印刷枚数に基づいて算出した、前記線速比の補正値により前記線速比を補正し、
耐久末期における前記滑剤ブラシと前記滑剤棒との押圧力は、前記末期擦過力と比例関係である、制御方法。
【請求項5】
トナー像を担持する像担持体と、前記像担持体に滑剤を塗布する滑剤塗布部と、を有する画像形成部と、を備え、
前記滑剤塗布部は、固形化された滑剤棒と、前記滑剤棒から滑剤を掻き取り前記像担持体に供給する滑剤ブラシと、前記滑剤ブラシに滑剤棒を押圧する滑剤押圧部と、を備える画像形成装置のコンピューターを、
前記画像形成部を制御する制御部として機能させ、
前記制御部は、
耐久初期において前記滑剤ブラシに前記滑剤棒を初期押圧力により押圧した状態での前記滑剤ブラシの擦過力である初期擦過力、及び前記滑剤の削れやすさに基づいて算出した、耐久初期における前記像担持体の表面速度に対する前記滑剤ブラシの表面速度比である線速比により前記像担持体及び前記滑剤ブラシを制御し、
前記滑剤の削れやすさによって決定される前記滑剤ブラシの耐久変化による耐久補正係数、前記初期擦過力、耐久末期において前記滑剤ブラシに前記滑剤棒を初期押圧力より弱い押圧力により押圧した状態での前記滑剤ブラシの擦過力である末期擦過力、及び前記画像形成部による印刷枚数に基づいて算出した、前記線速比の補正値により前記線速比を補正し、
耐久末期における前記滑剤ブラシと前記滑剤棒との押圧力は、前記末期擦過力と比例関係である、プログラム。
発明の詳細な説明
【技術分野】
【0001】
本発明は、画像形成装置、制御方法及びプログラムに関するものである。
続きを表示(約 2,100 文字)
【背景技術】
【0002】
一般に、電子写真プロセスを利用した画像形成装置では、感光体(像担持体)上のトナー像を中間転写ベルトに転写する際、一部のトナー粒子が転写されずに感光体上に残る。そのため、画像形成装置は、感光体上の残留トナー等の残留物を除去するクリーニング装置を備える。しかし、トナー粒子と感光体との付着力が大きい場合、クリーニング装置は感光体上の残留物を十分に除去しきれない。これにより、クリーニング不良が発生する。
上記問題に対し、感光体上に滑剤を塗布し、トナー粒子と感光体との付着力を低下させ、クリーニング不良を抑制する技術が知られている。しかし、滑剤の塗布量が少ない箇所では、感光体上の残留物を十分にクリーニングできない。その結果、トナー粒子がクリーニングブレードからすり抜けて、形成される画像上に縦スジ状の画像不良(縦スジ)が発生する。そのため、滑剤は、感光体上に適正量を均一に塗布されることが求められる。つまり、画像形成装置の稼働時において、印刷枚数に対する滑剤消費量(=滑剤の重量における変化量/滑剤の摺動距離)は一定であることが求められる。滑剤の摺動距離は、画像形成装置における印刷枚数に対応する。
【0003】
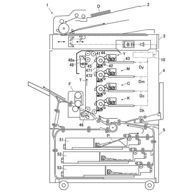
滑剤を感光体上に塗布する滑剤塗布機構の具体例を説明する。滑剤塗布機構は、滑剤を固形化した滑剤棒を滑剤ブラシに押圧し、滑剤ブラシを回転させることで滑剤棒から滑剤を掻き取り、感光体に供給する。
画像形成装置は、印刷枚数に対する滑剤消費量を一定に保つように、滑剤ブラシの表面速度に対する感光体の表面速度比である線速比を制御する。具体的には、画像形成装置は、耐久時において、滑剤ブラシと滑剤棒との押圧力の耐久変化に応じて当該線速比を補正する。
【0004】
画像形成装置における耐久時の補正に関して、特許文献1には、感光体の第1補正情報と、現像ユニットの第2補正情報とに基づいてプロセス条件を補正する画像形成装置が記載されている。
【先行技術文献】
【特許文献】
【0005】
特開2019-128588号公報
【発明の概要】
【発明が解決しようとする課題】
【0006】
しかし、耐久時における滑剤ブラシの滑剤に対する擦過力は、滑剤の削れやすさに応じて変化するため、上記線速比において適切な補正ができないことがあった。これにより、印刷枚数に対する滑剤消費量を一定に保てず、縦スジが発生する場合があった。
【0007】
本発明の目的は、像担持体上の滑剤量に起因する画像不良を抑制できる画像形成装置、制御方法及びプログラムを提供することである。
【課題を解決するための手段】
【0008】
上記課題を解決するため、請求項1に記載の画像形成装置は、
トナー像を担持する像担持体と、前記像担持体に滑剤を塗布する滑剤塗布部と、を有する画像形成部と、
前記画像形成部を制御する制御部と、を備える画像形成装置であって、
前記滑剤塗布部は、固形化された滑剤棒と、前記滑剤棒から滑剤を掻き取り前記像担持体に供給する滑剤ブラシと、前記滑剤ブラシに滑剤棒を押圧する滑剤押圧部と、を備え、
前記制御部は、
耐久初期において前記滑剤ブラシに前記滑剤棒を初期押圧力により押圧した状態での前記滑剤ブラシの擦過力である初期擦過力、及び前記滑剤の削れやすさに基づいて算出した、耐久初期における前記像担持体の表面速度に対する前記滑剤ブラシの表面速度比である線速比により前記像担持体及び前記滑剤ブラシを制御し、
前記滑剤の削れやすさによって決定される前記滑剤ブラシの耐久変化による耐久補正係数、前記初期擦過力、耐久末期において前記滑剤ブラシに前記滑剤棒を初期押圧力より弱い押圧力により押圧した状態での前記滑剤ブラシの擦過力である末期擦過力、及び前記画像形成部による印刷枚数に基づいて算出した、前記線速比の補正値により前記線速比を補正し、
耐久末期における前記滑剤ブラシと前記滑剤棒との押圧力は、前記末期擦過力と比例関係である。
【0009】
請求項2に記載の発明は、請求項1に記載の画像形成装置において、
前記制御部は、下記式(1)により耐久初期における線速比θ1を算出し、下記式(2)により前記線速比の補正値Δθを算出する。
θ1 = α/(F1×K) ・・・(1)
Δθ = α/{(F1-F2)/(P/P0)×γ} ・・・(2)
αは印刷枚数に対する滑剤消費量における目標値、F1は初期擦過力、F2は末期擦過力、Kは滑剤の削れやすさ、Pは印刷枚数、P0は耐久末期における印刷枚数、γは線速比に対する耐久補正係数である。
【0010】
請求項3に記載の発明は、請求項1に記載の画像形成装置において、
前記制御部は、所定の印刷枚数ごとに、前記補正値を算出して、前記補正値により前記線速比を補正する。
(【0011】以降は省略されています)
この特許をJ-PlatPat(特許庁公式サイト)で参照する
関連特許
個人
表示装置
1か月前
個人
雨用レンズカバー
1か月前
株式会社シグマ
絞りユニット
2か月前
キヤノン株式会社
撮像装置
1か月前
キヤノン株式会社
撮像装置
1か月前
キヤノン株式会社
撮像装置
1か月前
キヤノン株式会社
撮像装置
2か月前
キヤノン株式会社
撮像装置
1か月前
日本精機株式会社
車両用投射装置
1か月前
株式会社リコー
画像形成装置
9日前
株式会社リコー
画像形成装置
18日前
株式会社リコー
画像形成装置
2か月前
株式会社リコー
画像形成装置
1か月前
株式会社リコー
画像形成装置
27日前
株式会社リコー
画像形成装置
24日前
株式会社リコー
画像形成装置
24日前
キヤノン株式会社
画像形成装置
1か月前
キヤノン株式会社
画像形成装置
3日前
キヤノン株式会社
トナー
1か月前
キヤノン株式会社
画像形成装置
26日前
キヤノン株式会社
トナー
1か月前
株式会社オプトル
プロジェクタ
1か月前
キヤノン株式会社
トナー
1か月前
キヤノン株式会社
現像装置
1か月前
レーザーテック株式会社
光源装置
11日前
アイホン株式会社
カメラシステム
1か月前
スタンレー電気株式会社
照明装置
1か月前
沖電気工業株式会社
画像形成装置
1か月前
沖電気工業株式会社
画像形成装置
24日前
キヤノン株式会社
レンズキャップ
1か月前
ブラザー工業株式会社
画像形成装置
2か月前
ブラザー工業株式会社
画像形成装置
1か月前
ブラザー工業株式会社
画像形成装置
2か月前
株式会社電気印刷研究所
静電印刷用積層体
1か月前
ブラザー工業株式会社
画像形成装置
2か月前
古野電気株式会社
装置
1か月前
続きを見る
他の特許を見る