TOP
|
特許
|
意匠
|
商標
特許ウォッチ
Twitter
他の特許を見る
10個以上の画像は省略されています。
公開番号
2025169593
公報種別
公開特許公報(A)
公開日
2025-11-14
出願番号
2024074425
出願日
2024-05-01
発明の名称
画像形成装置
出願人
コニカミノルタ株式会社
代理人
弁理士法人光陽国際特許事務所
主分類
B41J
29/00 20060101AFI20251107BHJP(印刷;線画機;タイプライター;スタンプ)
要約
【課題】非用紙積載装置の用紙搬送方向下流側に位置する用紙積載装置における用紙の積載不揃いの発生を抑制する。
【解決手段】画像形成装置100は、画像形成装置本体2の用紙搬送方向下流側に隣接して、画像形成装置本体2から出力された用紙に後処理を施す非用紙積載装置3A~3Bを有し、さらに非用紙積載装置3A~3Cの用紙搬送方向下流側に用紙積載装置3D及び用紙積載装置3Eを有する。画像形成装置100において、少なくとも用紙積載装置3Dの用紙搬送方向上流側に隣接して除電装置4が配置されている。
【選択図】図1
特許請求の範囲
【請求項1】
画像形成装置本体の用紙搬送方向下流側に隣接して前記画像形成装置本体から出力された用紙に後処理を施す非用紙積載装置を有し、さらに前記非用紙積載装置の用紙搬送方向下流側に一又は複数の用紙積載装置を有する画像形成装置であって、
少なくとも一つの前記用紙積載装置の用紙搬送方向上流側に隣接して除電装置が配置されていることを特徴とする画像形成装置。
続きを表示(約 890 文字)
【請求項2】
画像形成装置本体の用紙搬送方向下流側に隣接して前記画像形成装置本体から出力された用紙に後処理を施す非用紙積載装置を有し、さらに前記非用紙積載装置の用紙搬送方向下流側に複数の用紙積載装置を有する画像形成装置であって、
複数の前記用紙積載装置のそれぞれの用紙搬送方向上流側に隣接して除電装置が配置されていることを特徴とする画像形成装置。
【請求項3】
前記非用紙積載装置間、前記非用紙積載装置と前記用紙積載装置の間、又は前記用紙積載装置間に除電装置が挿入可能に構成されていることを特徴とする請求項1又は2に記載の画像形成装置。
【請求項4】
前記除電装置は、当該除電装置を前面から挿入することにより前記除電装置の両側に位置する前記非用紙積載装置又は前記用紙積載装置に備えられた接続部に接続される接続部材を有することを特徴とする請求項3に記載の画像形成装置。
【請求項5】
前記除電装置の周囲に絶縁体のカバーが備えられていることを特徴とする請求項1又は2に記載の画像形成装置。
【請求項6】
前記除電装置において前記用紙が通過する用紙経路の下側に絶縁体のガイド板を有することを特徴とする請求項1又は2に記載の画像形成装置。
【請求項7】
前記非用紙積載装置が前記用紙の積載部を備える後処理装置である場合、当該非用紙積載装置の用紙搬送方向上流側に隣接して除電装置が配置されていることを特徴とする請求項1又は2に記載の画像形成装置。
【請求項8】
前記用紙が通過する用紙経路の上側と下側のそれぞれに前記除電装置が配置されていることを特徴とする請求項1又は2に記載の画像形成装置。
【請求項9】
前記除電装置は、非接触型のイオン式であることを特徴とする請求項1又は2に記載の画像形成装置。
【請求項10】
前記除電装置は、放射式、無風式、エアー式、ガン式のいずれかである請求項9に記載の画像形成装置。
(【請求項11】以降は省略されています)
発明の詳細な説明
【技術分野】
【0001】
本発明は、画像形成装置に関する。
続きを表示(約 2,000 文字)
【背景技術】
【0002】
従来、用紙同士の貼りつきを抑制するため、互いに反発するような電荷を与えることが可能な電荷調整装置(除電装置)を画像形成部の直後に配置する画像形成装置が提案されている(例えば、特許文献1参照)。
また、用紙に対し、非接触な状態で配置された放電電極で、用紙搬送速度に応じた適正電圧を印加可能な除電装置が提案されている(例えば、特許文献2参照)。
【先行技術文献】
【特許文献】
【0003】
特開2016-157011号公報
特開2021-111527号公報
【発明の概要】
【発明が解決しようとする課題】
【0004】
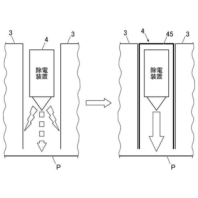
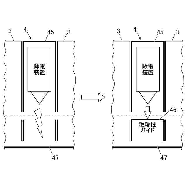
しかし、用紙を特許文献1又は特許文献2に記載の装置にて除電処理後、さらに、用紙に後処理を施す非用紙積載装置を通過させて用紙積載装置へ積載するとき、用紙は非用紙積載装置の通過時にローラーからの剥離放電及び通紙ガイド面との摩擦で再帯電する。そのため、非用紙積載装置よりも用紙搬送方向下流側に位置する用紙積載装置に搬送される用紙の帯電量は高くなる(図7A参照)。さらに、用紙積載装置の用紙積載トレイ上に積載した用紙の上面に非用紙積載装置で再帯電した用紙が重なることで、積載された用紙の残留電荷が累積増加するため、用紙の積載不揃い(積載ズレ)が発生する。
【0005】
本発明の課題は、非用紙積載装置の用紙搬送方向下流側に位置する用紙積載装置における用紙の積載不揃いの発生を抑制することである。
【課題を解決するための手段】
【0006】
上記課題を解決するため、本発明に係る画像形成装置は、
画像形成装置本体の用紙搬送方向下流側に隣接して前記画像形成装置本体から出力された用紙に後処理を施す非用紙積載装置を有し、さらに前記非用紙積載装置の用紙搬送方向下流側に一又は複数の用紙積載装置を有する画像形成装置であって、
少なくとも一つの前記用紙積載装置の用紙搬送方向上流側に隣接して除電装置が配置されていることを特徴とする。
【0007】
また、本発明に係る画像形成装置は、
画像形成装置本体の用紙搬送方向下流側に隣接して前記画像形成装置本体から出力された用紙に後処理を施す非用紙積載装置を有し、さらに前記非用紙積載装置の用紙搬送方向下流側に複数の用紙積載装置を有する画像形成装置であって、
複数の前記用紙積載装置のそれぞれの用紙搬送方向上流側に隣接して除電装置が配置されていることを特徴とする。
【発明の効果】
【0008】
本発明によれば、非用紙積載装置の用紙搬送方向下流側に位置する用紙積載装置における用紙の積載不揃いの発生を抑制できる。
【図面の簡単な説明】
【0009】
本発明の1つまたは複数の実施形態によって提供される利点および特徴は、以下の詳細な説明および添付の図面からより完全に理解されるであろう。しかし、これらの図面は例示のみを目的としており、本発明の範囲を限定することを意図するものではない。
本発明の実施形態における画像形成装置の全体構成例を示す図である。
除電装置の周囲を絶縁体のカバーで覆うことの効果を模式的に示す図である。
除電装置の用紙経路の下側を絶縁体のガイド板で塞ぐことの効果を模式的に示す図である。
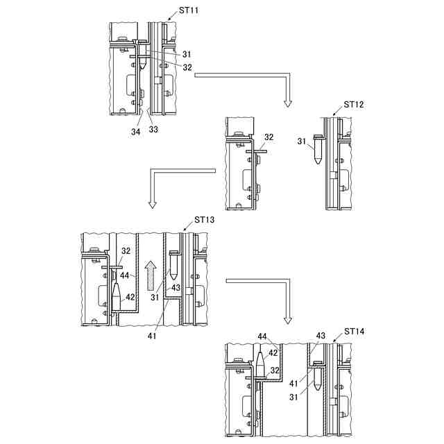
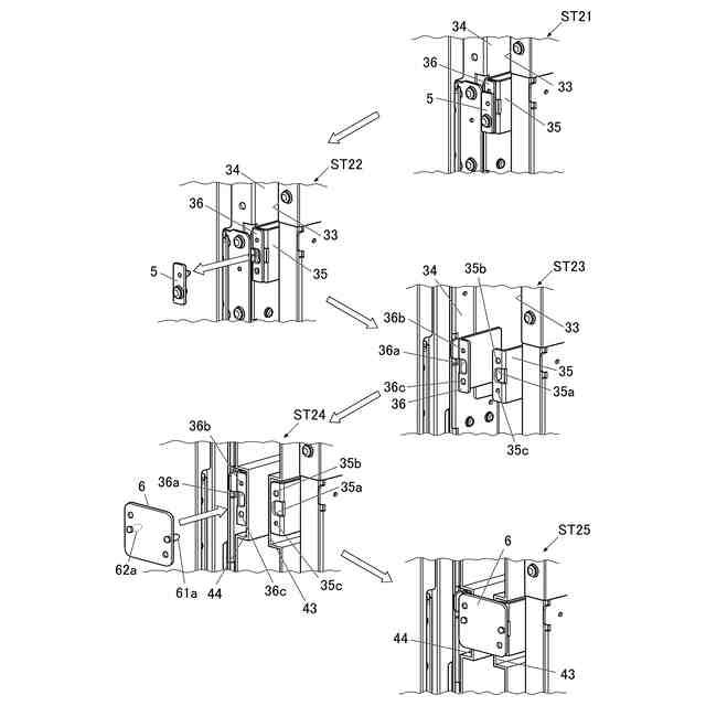
2つの後処理装置間に除電装置を装着する様子を示す図である。
2つの後処理装置間に除電装置を装着する際の接続部を上から見た状態を示す図である。
2つの後処理装置間に除電装置を装着する際のロック機構を示す図である。
除電装置を備えない従来の画像形成装置における通紙中の用紙1枚の帯電量の変化を示すグラフである。
用紙積載装置の用紙搬送方向上流側に隣接して除電装置が配置された画像形成装置における、通紙中の用紙1枚の帯電量の変化を示すグラフである。
2つの用紙積載装置のそれぞれの用紙搬送方向上流側に隣接して除電装置が配置された画像形成装置における、通紙中の用紙1枚の帯電量の変化を示すグラフである。
2つの用紙積載装置のそれぞれの用紙搬送方向上流側に隣接して除電装置が配置された画像形成装置の構成例を示す図である。
図7A~図7Cに帯電量の変化を示した各画像形成装置の用紙積載装置において用紙を1枚~100枚積載したときの累積帯電量の変化を示したグラフである。
用紙経路の上側と下側のそれぞれに除電装置を配置した状態を模式的に示す図である。
【発明を実施するための形態】
【0010】
以下、図面を参照して本発明の実施形態について説明する。ただし、発明の範囲は、図示例に限定されない。
(【0011】以降は省略されています)
この特許をJ-PlatPat(特許庁公式サイト)で参照する
関連特許
コニカミノルタ株式会社
緩衝材
16日前
コニカミノルタ株式会社
パレット
24日前
コニカミノルタ株式会社
光計測装置
3日前
コニカミノルタ株式会社
画像形成装置
19日前
コニカミノルタ株式会社
液滴吐出装置
11日前
コニカミノルタ株式会社
画像形成方法
26日前
コニカミノルタ株式会社
画像形成装置
9日前
コニカミノルタ株式会社
画像形成装置
17日前
コニカミノルタ株式会社
情報処理装置
19日前
コニカミノルタ株式会社
超音波診断装置
17日前
コニカミノルタ株式会社
画像形成システム
18日前
コニカミノルタ株式会社
放射線撮影システム
9日前
コニカミノルタ株式会社
放射線撮影システム
9日前
コニカミノルタ株式会社
画像形成装置、画像形成方法
24日前
コニカミノルタ株式会社
用紙搬送装置及び画像形成システム
18日前
コニカミノルタ株式会社
抗菌剤塗布装置および画像形成装置
16日前
コニカミノルタ株式会社
画像読取装置及び画像形成システム
3日前
コニカミノルタ株式会社
トナー収容容器および画像形成装置
3日前
コニカミノルタ株式会社
用紙加湿装置及び画像形成システム
27日前
コニカミノルタ株式会社
開発システムおよび学習管理システム
16日前
コニカミノルタ株式会社
画像形成装置、補正方法及びプログラム
24日前
コニカミノルタ株式会社
定着部材、定着装置および画像形成装置
25日前
コニカミノルタ株式会社
定着部材、定着装置および画像形成装置
17日前
コニカミノルタ株式会社
画像形成装置、制御方法及びプログラム
3日前
コニカミノルタ株式会社
医療用検査装置、および医療用検査方法
16日前
コニカミノルタ株式会社
インクジェット記録装置及びプログラム
11日前
コニカミノルタ株式会社
仲介システム、仲介方法及びプログラム
16日前
コニカミノルタ株式会社
抽出装置、抽出方法および抽出プログラム
24日前
コニカミノルタ株式会社
動態画像解析装置、方法、及びプログラム。
9日前
コニカミノルタ株式会社
動態画像解析装置、方法、及びプログラム。
9日前
コニカミノルタ株式会社
ブラシ、ブラシの製造方法および画像形成装置
17日前
コニカミノルタ株式会社
インクジェット記録装置及びノズル面清掃方法
1か月前
コニカミノルタ株式会社
ブラシ、ブラシの製造方法および画像形成装置
17日前
コニカミノルタ株式会社
情報処理装置、情報処理方法、及び、プログラム
24日前
コニカミノルタ株式会社
画像形成装置、測色方法、および測色プログラム
1か月前
コニカミノルタ株式会社
画像形成装置、キャリア排出方法及びプログラム
19日前
続きを見る
他の特許を見る