TOP
|
特許
|
意匠
|
商標
特許ウォッチ
Twitter
他の特許を見る
10個以上の画像は省略されています。
公開番号
2025165648
公報種別
公開特許公報(A)
公開日
2025-11-05
出願番号
2024069847
出願日
2024-04-23
発明の名称
用紙搬送装置及び画像形成システム
出願人
コニカミノルタ株式会社
代理人
弁理士法人鷲田国際特許事務所
主分類
B65H
31/00 20060101AFI20251028BHJP(運搬;包装;貯蔵;薄板状または線条材料の取扱い)
要約
【課題】重送紙をトレイに搬出する場合に、トレイに用紙を安定的に積載すること。
【解決手段】用紙搬送装置は、トレイの入口側に設けられ、重送紙をトレイに排出する排紙部と、重送紙を前記トレイに排出する際に、重送紙を構成する用紙の下側からトレイの載置面に沿う方向にエアを吹き付ける送風部と、重送に関する情報を検知する重送検知部からの検知結果に基づいて、風量を可変するように、送風部を制御する制御部と、を備える。
【選択図】図3A
特許請求の範囲
【請求項1】
トレイの入口側に設けられ、重送紙を前記トレイに排出する排紙部と、
重送紙を前記トレイに排出する際に、重送紙を構成する用紙の下側から前記トレイの載置面に沿う方向にエアを吹き付ける送風部と、
重送に関する情報を検知する重送検知部からの検知結果に基づいて、風量を可変するように、前記送風部を制御する制御部と、を備える、
用紙搬送装置。
続きを表示(約 1,300 文字)
【請求項2】
前記制御部は、
重送紙のうちの1枚目の用紙の後端が前記排紙部を通過するタイミングに基づいて、風量を下げると共に、前記1枚目の用紙の後端が前記排紙部を通過した後であって、重送紙のうちの2枚目の用紙の後端が前記排紙部を通過する前に、風量を再度上げるように、前記送風部を制御する、
請求項1に記載の用紙搬送装置。
【請求項3】
前記制御部は、
前記1枚目の用紙の先端が前記排紙部を通過するタイミングに基づいて、風量を上げるように、前記送風部を制御する、
請求項2に記載の用紙搬送装置。
【請求項4】
前記制御部は、
重送紙のうちの最後尾の用紙の後端が前記排紙部を通過するタイミングに基づいて、風量を下げるように、前記送風部を制御する、
請求項3に記載の用紙搬送装置。
【請求項5】
前記制御部は、
前記1枚目の用紙の先端が前記排紙部を通過したタイミングと、用紙のサイズとに基づいて、前記1枚目の用紙の後端が前記排紙部を通過するタイミングを算出する、
請求項2に記載の用紙搬送装置。
【請求項6】
前記制御部は、
前記重送検知部によって検知された前記重送に関する情報としての重送紙の重なり量と、前記1枚目の用紙の後端が前記排紙部を通過したタイミングと、用紙のサイズとに基づいて、前記送風部の風量を再度上げるタイミングを決定する、
請求項2に記載の用紙搬送装置。
【請求項7】
前記制御部は、
重送紙が2枚の用紙からなる場合に、重送紙のうちの1枚目の用紙の先端が前記排紙部を通過するタイミングに基づいて、前記送風部の送風動作を開始して風量を上げ、前記1枚目の用紙の後端が前記排紙部を通過するタイミングに基づいて、前記送風部の送風動作を停止して風量を下げ、前記1枚目の用紙の後端が前記排紙部を通過した後であって、重送紙のうちの2枚目の用紙の後端が前記排紙部を通過する前に、前記送風部の送風動作を再開して風量を再度上げ、前記2枚目の用紙の後端が前記排紙部を通過するタイミングに基づいて、前記送風部の送風動作を停止して風量を下げるように、前記送風部を制御する、
請求項1に記載の用紙搬送装置。
【請求項8】
前記1枚目の用紙の先端が前記送風部を通過後に最初に上げる前記送風部の風量は、前記2枚目の用紙の後端が前記排紙部を通過する前に再度上げる前記送風部の風量よりも大きい、
請求項3に記載の用紙搬送装置。
【請求項9】
重送紙を反転させて前記トレイに排出するための反転搬送路を更に備える、
請求項1に記載の用紙搬送装置。
【請求項10】
前記制御部は、
重送紙が3枚以上の用紙からなる場合に、3枚目以上の用紙に先行する用紙が前記排紙部を通過した後であって、前記3枚目以上の用紙の後端が前記排紙部を通過する前に、風量を上げると共に、前記3枚目以上の用紙の後端が前記排紙部を通過するタイミングに基づいて、風量を下げるように、前記送風部を制御する、
請求項4に記載の用紙搬送装置。
(【請求項11】以降は省略されています)
発明の詳細な説明
【技術分野】
【0001】
本発明は、用紙搬送装置及び画像形成システムに関する。
続きを表示(約 1,800 文字)
【背景技術】
【0002】
画像形成装置の分野においては、用紙をトレイに搬出する際に、用紙の下側からトレイの載置面に沿う方向にエアを吹き付けることが知られている(特許文献1参照)。
【0003】
特許文献1に記載の技術において、排紙部(特許文献1では排出手段と称される)の近傍に、用紙の下側からトレイの載置面に沿う方向にエアを吹き付ける送風部が設けられている。送風部が用紙の裏面にエアを吹き付けることで、用紙の先端側を持ち上げて、トレイ上における用紙同士の貼り付きを抑制することができる。また、用紙の後端が排紙部を通過する直前に、送風部の送風動作を停止することで、用紙をトレイ上の所定の位置に落下させることができる。
【先行技術文献】
【特許文献】
【0004】
特開2011-57313号公報
【発明の概要】
【発明が解決しようとする課題】
【0005】
ところで、特許文献1に記載の技術は、所謂重送紙をトレイに排出することを想定していない。そのため、重送紙のうちの1枚目の用紙の後端が排紙部を通過する直前に、送風部の送風動作を停止すると、重送紙のうちの2枚目の用紙の先端側の垂れ下がりを抑えることができず、2枚目の用紙の排出状態が不安定になる。その結果、トレイ上における用紙同士の貼り付け又は用紙の整合不良が生じて、トレイに用紙を安定的に積載することが困難になる。
【0006】
そこで、本発明の目的は、重送紙をトレイに搬出する場合に、トレイに用紙を安定的に積載することができる、用紙搬送装置及び画像形成システムを提供することである。
【課題を解決するための手段】
【0007】
本発明の一態様に係る用紙搬送装置は、
トレイの入口側に設けられ、重送紙を前記トレイに排出する排紙部と、
重送紙を前記トレイに排出する際に、重送紙を構成する用紙の下側から前記搬出トレイの載置面に沿う方向にエアを吹き付ける送風部と、
重送に関する情報を検知する重送検知部からの検知結果に基づいて、風量を可変するように、前記送風部を制御する制御部と、を備える。
【0008】
本発明の一態様に係る画像形成システムは、
用紙に画像を形成する画像形成装置と、
前記画像形成装置の上流側に設置され、前記画像形成装置側に用紙を給紙する給紙装置と、
前記画像形成装置と前記給紙装置との間に設置され、前記給紙装置から給紙された用紙を前記画像形成装置に搬送する前記用紙搬送装置と、を備える。
【発明の効果】
【0009】
本発明によれば、重送紙をトレイに搬出する場合に、トレイに用紙を安定的に積載することができる。
【図面の簡単な説明】
【0010】
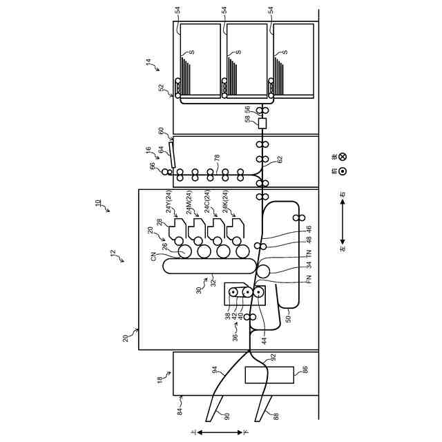
図1は、本実施形態に係る画像形成システムを示す模式的な図である。
図2Aは、給紙装置の給紙搬送路に位置する重送紙を上方向から見た模式的な図である。
図2Bは、給紙装置の給紙搬送路に位置する重送紙を前方向から見た模式的な図である。
図3Aは、排紙部によって重送紙を排紙トレイに排出する様子を示す模式的な図である。
図3Bは、重送紙の排紙中に、第2タイミングで送風ファンの風力を下げる様子を示す模式的な図である。
図4Aは、重送紙の排紙中に、第3タイミングで送風ファンの風力を再度上げる様子を示す模式的な図である。
図4Bは、重送紙の排紙中に、第4タイミングで送風ファンの風力を下げる様子を示す模式的な図である。
図5は、重送紙の排紙中に、第5タイミングで送風ファンの送風動作を停止する様子を示す模式的な図である。
図6は、本実施形態に係る画像形成システムの制御ブロック図である。
図7Aは、送風ファンの送風動作開始後における時間と送風ファンの風量との関係を示す図である。
図7Bは、送風ファンの送風動作開始後における時間と送風ファンの風量との関係を示す図である。
図8は、送風ファンの送風動作開始後における時間と送風ファンの風量との関係を示す図である。
【発明を実施するための形態】
(【0011】以降は省略されています)
この特許をJ-PlatPat(特許庁公式サイト)で参照する
関連特許
コニカミノルタ株式会社
緩衝材
16日前
コニカミノルタ株式会社
光計測装置
3日前
コニカミノルタ株式会社
情報処理装置
19日前
コニカミノルタ株式会社
画像形成装置
17日前
コニカミノルタ株式会社
画像形成装置
9日前
コニカミノルタ株式会社
画像形成装置
19日前
コニカミノルタ株式会社
液滴吐出装置
11日前
コニカミノルタ株式会社
超音波診断装置
17日前
コニカミノルタ株式会社
画像形成システム
18日前
コニカミノルタ株式会社
放射線撮影システム
9日前
コニカミノルタ株式会社
放射線撮影システム
9日前
コニカミノルタ株式会社
画像形成装置、画像形成方法
24日前
コニカミノルタ株式会社
抗菌剤塗布装置および画像形成装置
16日前
コニカミノルタ株式会社
用紙搬送装置及び画像形成システム
18日前
コニカミノルタ株式会社
画像読取装置及び画像形成システム
3日前
コニカミノルタ株式会社
トナー収容容器および画像形成装置
3日前
コニカミノルタ株式会社
開発システムおよび学習管理システム
16日前
コニカミノルタ株式会社
画像形成装置、補正方法及びプログラム
24日前
コニカミノルタ株式会社
医療用検査装置、および医療用検査方法
16日前
コニカミノルタ株式会社
仲介システム、仲介方法及びプログラム
16日前
コニカミノルタ株式会社
画像形成装置、制御方法及びプログラム
3日前
コニカミノルタ株式会社
インクジェット記録装置及びプログラム
11日前
コニカミノルタ株式会社
定着部材、定着装置および画像形成装置
17日前
コニカミノルタ株式会社
抽出装置、抽出方法および抽出プログラム
24日前
コニカミノルタ株式会社
動態画像解析装置、方法、及びプログラム。
9日前
コニカミノルタ株式会社
動態画像解析装置、方法、及びプログラム。
9日前
コニカミノルタ株式会社
ブラシ、ブラシの製造方法および画像形成装置
17日前
コニカミノルタ株式会社
ブラシ、ブラシの製造方法および画像形成装置
17日前
コニカミノルタ株式会社
情報処理装置、情報処理方法、及び、プログラム
24日前
コニカミノルタ株式会社
情報処理装置、情報表示システム及びプログラム
3日前
コニカミノルタ株式会社
画像形成装置、キャリア排出方法及びプログラム
19日前
コニカミノルタ株式会社
プログラム、情報処理システム及び情報処理方法
9日前
コニカミノルタ株式会社
シート処理装置、画像形成システム、及び制御方法
18日前
コニカミノルタ株式会社
放射線画像処理装置及び放射線画像処理プログラム
9日前
コニカミノルタ株式会社
断裁装置、画像形成システム及び断裁位置決定方法
3日前
コニカミノルタ株式会社
インクジェットヘッド及びインクジェット記録装置
16日前
続きを見る
他の特許を見る