TOP
|
特許
|
意匠
|
商標
特許ウォッチ
Twitter
他の特許を見る
10個以上の画像は省略されています。
公開番号
2025164276
公報種別
公開特許公報(A)
公開日
2025-10-30
出願番号
2024068105
出願日
2024-04-19
発明の名称
画像形成装置、補正方法及びプログラム
出願人
コニカミノルタ株式会社
代理人
弁理士法人光陽国際特許事務所
主分類
G03G
15/01 20060101AFI20251023BHJP(写真;映画;光波以外の波を使用する類似技術;電子写真;ホログラフイ)
要約
【課題】転写部の転写電圧を高精度に補正できる画像形成装置、補正方法及びプログラムを提供する。
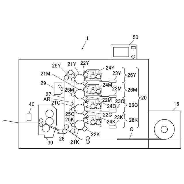
【解決手段】画像形成装置1は、被転写体(中間転写ベルト27)の走行方向に沿って直列に配置され、複数色のトナー像を被転写体にそれぞれ転写する複数の画像形成ユニット26を有し、記録媒体Qに複数色からなる画像を形成する画像形成部20と、画像形成部20によって形成された画像の色を検出する検出部40と、検出部40により検出された色に基づいて、画像形成ユニット26における一次転写電圧の補正値を算出する算出部(制御部10)と、を備え、検出部40により検出された色は、二次色以上の第一の色と、二次色以上の第二の色と、三次色の第三の色とを含む。
【選択図】図2
特許請求の範囲
【請求項1】
被転写体の走行方向に沿って直列に配置され、複数色のトナー像を前記被転写体にそれぞれ転写する複数の画像形成ユニットを有し、記録媒体に複数色からなる画像を形成する画像形成部と、
前記画像形成部によって形成された画像の色を検出する検出部と、
前記検出部により検出された前記色に基づいて、前記画像形成ユニットにおける一次転写電圧の補正値を算出する算出部と、
を備え、
前記検出部により検出された前記色は、二次色以上の第一の色と、二次色以上の第二の色と、三次色の第三の色とを含む、画像形成装置。
続きを表示(約 1,300 文字)
【請求項2】
前記算出部は、前記検出部により検出された前記色の構成色に対応する前記画像形成ユニットのうち前記走行方向の最下流に位置する第1画像形成ユニットにおける一次転写電圧、前記第1画像形成ユニットよりも前記走行方向の下流側に位置する第2画像形成ユニットにおける一次転写電圧、及び前記被転写体に転写されたトナーの逆転写による減少率と、に基づいて、前記一次転写電圧の補正値を算出する、請求項1に記載の画像形成装置。
【請求項3】
前記減少率は、前記第1画像形成ユニットにより前記被転写体に転写されたトナーの前記第1画像形成ユニットにおける逆転写による減少率である第1減少率と、前記第1画像形成ユニットにより前記被転写体に転写されたトナーの前記第2画像形成ユニットにおける逆転写による減少率である第2減少率と、を含む請求項2に記載の画像形成装置。
【請求項4】
前記第1減少率は、前記第2減少率よりも小さい、請求項3に記載の画像形成装置。
【請求項5】
前記減少率を記憶する記憶部を備える、請求項2に記載の画像形成装置。
【請求項6】
前記算出部は、前記検出部により検出された前記色の色座標における変化に基づいて、前記一次転写電圧の補正値を算出する、請求項2に記載の画像形成装置。
【請求項7】
前記検出部により検出された前記色の変化量と、前記一次転写電圧との対応関係を記憶する記憶部を備える、請求項2に記載の画像形成装置。
【請求項8】
前記検出部により検出された前記色の変化量と、前記一次転写電圧との対応関係を算出する算出モードを備える、請求項2に記載の画像形成装置。
【請求項9】
被転写体の走行方向に沿って直列に配置され、複数色のトナー像を前記被転写体にそれぞれ転写する複数の画像形成ユニットを有し、記録媒体に複数色からなる画像を形成する画像形成部と、
前記画像形成部によって形成された画像の色を検出する検出部と、
を備える画像形成装置が実行する補正方法であって、
前記検出部により検出された前記色に基づいて、前記画像形成ユニットにおける一次転写電圧の補正値を算出する算出ステップを含み、
前記検出部により検出された前記色は、二次色以上の第一の色と、二次色以上の第二の色と、三次色の第三の色とを含む、補正方法。
【請求項10】
被転写体の走行方向に沿って直列に配置され、複数色のトナー像を前記被転写体にそれぞれ転写する複数の画像形成ユニットを有し、記録媒体に複数色からなる画像を形成する画像形成部と、
前記画像形成部によって形成された画像の色を検出する検出部と、
を備える画像形成装置のコンピューターを、
前記検出部により検出された前記色に基づいて、前記画像形成ユニットにおける一次転写電圧の補正値を算出する算出部として機能させ、
前記検出部により検出された前記色は、二次色以上の第一の色と、二次色以上の第二の色と、三次色の第三の色とを含む、プログラム。
発明の詳細な説明
【技術分野】
【0001】
本発明は、画像形成装置、補正方法及びプログラムに関する。
続きを表示(約 1,800 文字)
【背景技術】
【0002】
電子写真方式の画像形成装置では、例えば、複数の画像形成ユニットが中間転写ベルトの走行方向に沿って直列に配置されている。複数の画像形成ユニットは互いに異なる色のトナー像を形成し、当該トナー像を中間転写ベルトに転写する。
【0003】
このような画像形成装置では、連続プリント中に、画像形成装置の機内温度の変化によって各画像形成ユニットの転写部における抵抗値が変化する。これにより、転写部の転写電圧を一定値で出力していると、トナーの転写量が変化し、画像の色が基準の色から変化する。このような画像の色の変化を抑えるため、画像形成装置は、連続プリント中に、画像形成ユニットの抵抗を検知して、当該抵抗に基づいて転写部の転写電圧を補正する。
【0004】
しかしながら、ロール紙のような連続紙でのプリントでは、転写部には常にユーザーが指定した画像に基づくトナー像が存在している。そのため、転写部に存在するユーザーが指定した画像に基づくトナー像が、画像形成ユニットの抵抗を検知する際の誤差となるため、正確な抵抗を検知できない。したがって、連続紙でのプリントでは、抵抗検知による転写電圧の補正を行うことが難しい。連続紙でのプリントでは、画像形成装置の機内温度の変化に基づいて転写電圧を見込み補正したり、画像の色の変化に基づいて転写電圧を補正したりする技術が知られている。
【0005】
特許文献1の発明における画像形成装置は、用紙に形成された多次色のトナー画像における最下層の色成分の濃度よりも当該色成分のみからなる単色のトナー画像の濃度が高い場合には、転写不足または逆転写が発生していると判断する。用紙に形成された多次色のトナー画像における最下層の色成分は、中間転写ベルト上では最上層の色成分である。次に、画像形成装置は、当該色成分に対応する画像形成ユニットにおける転写電圧を補正する。
【先行技術文献】
【特許文献】
【0006】
特開2004-191827号公報
【発明の概要】
【発明が解決しようとする課題】
【0007】
多次色の画像を形成する場合、多次色を構成する色に対応する転写部、及び当該転写部よりも下流側に位置する転写部において逆転写が発生する。当該逆転写は、中間転写ベルトに転写されたトナーが像担持体上に再転写する現象である。
したがって、各色に対応する転写部における抵抗値の変化が色ごとに複雑に作用するため、転写部の転写電圧を最適値に補正することが困難であるという問題がある。
特許文献1の発明では、多次色を構成する色に対応する転写部よりも下流側に位置する転写部における逆転写の影響について言及されておらず、上記問題を解決できない。
【0008】
本発明の目的は、転写部の転写電圧を高精度に補正できる画像形成装置、補正方法及びプログラムを提供することである。
【課題を解決するための手段】
【0009】
請求項1に記載の画像形成装置は、上記目的を達成するためになされたものであり、
被転写体の走行方向に沿って直列に配置され、複数色のトナー像を前記被転写体にそれぞれ転写する複数の画像形成ユニットを有し、記録媒体に複数色からなる画像を形成する画像形成部と、
前記画像形成部によって形成された画像の色を検出する検出部と、
前記検出部により検出された前記色に基づいて、前記画像形成ユニットにおける一次転写電圧の補正値を算出する算出部と、
を備え、
前記検出部により検出された前記色は、二次色以上の第一の色と、二次色以上の第二の色と、三次色の第三の色とを含む。
【0010】
請求項2に記載の発明は、請求項1に記載の画像形成装置において、
前記算出部は、前記検出部により検出された前記色の構成色に対応する前記画像形成ユニットのうち前記走行方向の最下流に位置する第1画像形成ユニットにおける一次転写電圧、前記第1画像形成ユニットよりも前記走行方向の下流側に位置する第2画像形成ユニットにおける一次転写電圧、及び前記被転写体に転写されたトナーの逆転写による減少率と、に基づいて、前記一次転写電圧の補正値を算出する。
(【0011】以降は省略されています)
この特許をJ-PlatPat(特許庁公式サイト)で参照する
関連特許
個人
表示装置
1か月前
個人
雨用レンズカバー
1か月前
株式会社シグマ
絞りユニット
2か月前
キヤノン株式会社
撮像装置
2か月前
日本精機株式会社
車両用投射装置
1か月前
キヤノン株式会社
撮像装置
2か月前
キヤノン株式会社
撮像装置
1か月前
平和精機工業株式会社
雲台
3か月前
キヤノン株式会社
撮像装置
1か月前
キヤノン株式会社
撮像装置
2か月前
キヤノン株式会社
撮像装置
1か月前
株式会社リコー
画像形成装置
2か月前
株式会社リコー
画像形成装置
25日前
株式会社リコー
画像形成装置
2か月前
株式会社リコー
画像形成装置
25日前
株式会社リコー
画像形成装置
10日前
株式会社リコー
画像形成装置
1か月前
株式会社リコー
画像形成装置
3か月前
株式会社リコー
画像形成装置
28日前
株式会社リコー
画像形成装置
19日前
株式会社リコー
画像形成装置
3か月前
キヤノン株式会社
トナー
2か月前
キヤノン株式会社
画像形成装置
3か月前
キヤノン株式会社
画像形成装置
2か月前
キヤノン株式会社
トナー
1か月前
株式会社オプトル
プロジェクタ
3か月前
シャープ株式会社
画像形成装置
3か月前
キヤノン株式会社
画像形成装置
4日前
キヤノン株式会社
画像形成装置
3か月前
キヤノン株式会社
画像形成装置
1か月前
株式会社オプトル
プロジェクタ
1か月前
キヤノン株式会社
トナー
1か月前
キヤノン株式会社
トナー
1か月前
キヤノン株式会社
画像形成装置
27日前
キヤノン株式会社
レンズキャップ
1か月前
キヤノン株式会社
現像装置
1か月前
続きを見る
他の特許を見る