TOP
|
特許
|
意匠
|
商標
特許ウォッチ
Twitter
他の特許を見る
10個以上の画像は省略されています。
公開番号
2025167295
公報種別
公開特許公報(A)
公開日
2025-11-07
出願番号
2024071774
出願日
2024-04-25
発明の名称
抗菌剤塗布装置および画像形成装置
出願人
コニカミノルタ株式会社
代理人
弁理士法人磯野国際特許商標事務所
主分類
B05C
11/10 20060101AFI20251030BHJP(霧化または噴霧一般;液体または他の流動性材料の表面への適用一般)
要約
【課題】無機系抗菌剤を適切な濃度で含む抗菌液として印刷物に付与できる抗菌剤塗布装置を得る。
【解決手段】抗菌剤塗布装置は、着脱可能に装着されて抗菌液AWを貯留する貯留タンク11を備える。また、貯留タンク11から供給される抗菌液AWを、搬送される印刷物の表面に塗布する抗菌剤塗布ユニット2と、貯留タンク11内の抗菌液AWを攪拌する磁性式撹拌機13と、を備える。磁性式撹拌機13は、貯留タンク11の内部に保持される回転子33と、回転子33を所定位置で保持し、自身の内外に抗菌液を流通可能とする保持部材と、を有する。磁性式撹拌機13は、回転子33を回転させて貯留タンク11内の抗菌液AWを攪拌する。
【選択図】図1
特許請求の範囲
【請求項1】
着脱可能に装着されて抗菌液を貯留する貯留タンクと、
前記貯留タンクから供給される抗菌液を、搬送される印刷物の表面に塗布する塗布ユニットと、
前記貯留タンクの内部に保持される回転子と、
前記回転子を所定位置で保持し、自身の内外に前記抗菌液を流通可能とする保持部材と、
前記回転子を回転させて前記貯留タンク内の抗菌液を攪拌する磁性式撹拌機と、
を有する抗菌剤塗布装置。
続きを表示(約 660 文字)
【請求項2】
前記回転子は、前記貯留タンク内に複数設けられている、請求項1に記載の抗菌剤塗布装置。
【請求項3】
前記貯留タンク内に前記回転子を一対設け、前記両回転子間に往路と復路を分ける直線状の仕切りを設けた、請求項1に記載の抗菌剤塗布装置。
【請求項4】
前記仕切りは、往路および、復路のそれぞれの終端が狭くなるように前記回転子の回転外径の接線を結ぶ方向に沿って傾斜する傾斜仕切りである、請求項3に記載の抗菌剤塗布装置。
【請求項5】
前記磁性式撹拌機は、前記回転子の回転制御の開始から、放置時間により想定される沈殿量から所定の時間、回転する、請求項1に記載の抗菌剤塗布装置。
【請求項6】
前記貯留タンク内の下部に設置された濃度センサと、前記濃度センサによる濃度検知結果を基に前記磁性式撹拌機の駆動を制御する制御部と、を備えた請求項1に記載の抗菌剤塗布装置。
【請求項7】
前記制御部は、前記貯留タンク内の下部に設置された濃度センサの値が第一基準値以上になると前記磁性式撹拌機の駆動により前記回転子の回転を開始し、第二基準値以下になると前記回転子の回転を停止させる、請求項6に記載の抗菌剤塗布装置。
【請求項8】
抗菌剤の種類は、銀系、銅系、亜鉛系の非水溶性無機抗菌剤である、請求項1に記載の抗菌剤塗布装置。
【請求項9】
請求項1~8のうち、何れか一項に記載の抗菌剤塗布装置を備えた、画像形成装置。
発明の詳細な説明
【技術分野】
【0001】
本発明は、抗菌剤塗布装置および画像形成装置に関する。
続きを表示(約 2,400 文字)
【背景技術】
【0002】
従来、用紙搬送中に印刷物の表面に水で希釈した抗菌剤をローラで付与することが可能な後処理装置が提案されている(特許文献1参照)。
【先行技術文献】
【特許文献】
【0003】
特開2023-70377号公報
【発明の概要】
【発明が解決しようとする課題】
【0004】
一般に対象物を清潔な状態に保つ無機系抗菌剤として、銀系の無機系抗菌剤が多く利用されている。無機系抗菌剤は、有機系抗菌剤と比較して、抗菌効果の持続性や安全性が高い。また、無機系抗菌剤は、UV(紫外線)の影響も受け難いという利点がある。このため、画像処理装置で印刷される印刷物の抗菌剤として使用できるようにしたいという要請がある。
しかしながら、無機系抗菌剤は、非水溶性であるため、タンク内に長時間放置しておくと、抗菌剤の沈降が起きやすく、抗菌剤の濃度が安定しないという課題があった。
この課題を解決するため、たとえば、タンク内に攪拌用のスクリュー等を搭載することも考えられる。このような構成は、タンクの内外にスクリュー軸を挿通させるなど大幅なコスト増となるため、採用が困難であった。よって、さらなる改良が求められている。
【0005】
本発明は、このような背景を鑑みてなされたものである。すなわち、コストの上昇を抑制しつつ、無機系抗菌剤を適切な濃度で含む抗菌液を印刷物に塗布できる抗菌剤塗布装置および画像形成装置を提供することを課題とする。
【課題を解決するための手段】
【0006】
本発明の上記課題は、下記の構成により解決される。
(1)着脱可能に装着されて抗菌液を貯留する貯留タンクと、前記貯留タンクから供給される抗菌液を、搬送される印刷物の表面に塗布する塗布ユニットと、前記貯留タンクの内部に保持される回転子と、前記回転子を所定位置で保持し、自身の内外に前記抗菌液を流通可能とする保持部材と、前記回転子を回転させて前記貯留タンク内の抗菌液を攪拌する磁性式撹拌機と、を有する抗菌剤塗布装置。
(2)前記回転子は、前記貯留タンク内に複数設けられている、(1)に記載の抗菌剤塗布装置。
(3)前記貯留タンク内に前記回転子を一対設け、前記両回転子間に往路と復路を分ける直線状の仕切りを設けた、(1)記載の抗菌剤塗布装置。
(4)前記仕切りは、往路および、復路のそれぞれの終端が狭くなるように前記回転子の回転外径の接線を結ぶ方向に沿う傾斜角度を有する傾斜仕切りである、(3)に記載の抗菌剤塗布装置。
(5)前記磁性式撹拌機は、前記回転子の回転制御の開始から、放置時間により想定される沈殿量から所定の時間だけ回転する、(1)記載の抗菌塗布装置。
(6)前記貯留タンク内の下部に設置された濃度センサと、前記濃度センサによる濃度検知結果を基に前記磁性式撹拌機の駆動を制御する制御部と、を備えた(1)記載の抗菌塗布装置。
(7)前記制御部は、前記タンク内の下部に設置された濃度センサの値が第一基準値以上になると前記磁性式撹拌機の駆動により前記回転子の回転を開始し、第二基準値以下になると回転を停止させる、(6)に記載の抗菌剤塗布装置。
(8)抗菌剤の種類は、銀系、銅系、亜鉛系などの非水溶性無機抗菌剤である、(1)記載の抗菌剤塗布装置。
(9)(1)~(8)のうち、何れか一つに記載の抗菌剤塗布装置を備えた、画像形成装置。
【発明の効果】
【0007】
本発明によれば、コストの上昇を抑制しつつ、無機系抗菌剤を適切な濃度で含む抗菌液を印刷物に塗布できる。
【図面の簡単な説明】
【0008】
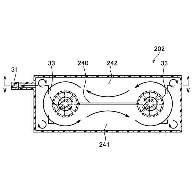
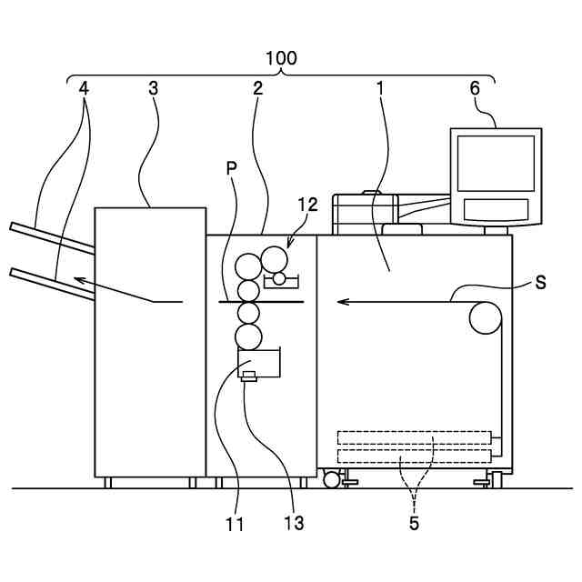
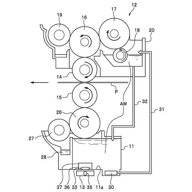
第一実施形態に係る抗菌剤塗布装置を有する画像生成装置の全体構成を示す側面図である。
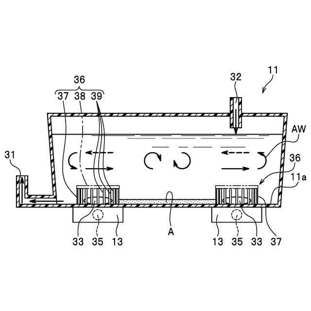
第一実施形態に係る抗菌剤塗布装置の構成を示す模式的な側面図である。
第一実施形態の抗菌剤塗布装置で図4中III-III線に沿う位置での断面図である。
第一実施形態の抗菌剤塗布装置で要部の構成を説明する水平断面図である。
第二実施形態の抗菌剤塗布装置で図6中V-V線に沿う位置での断面図である。
第二実施形態の抗菌剤塗布装置で要部の構成を説明する水平断面図である。
第三実施形態の抗菌剤塗布装置で図8中VII-VII線に沿う位置での断面図である。
第三実施形態の抗菌剤塗布装置で要部の構成を説明する水平断面図である。
抗菌剤塗布装置の放置時間と攪拌時間との関係を示すテーブルである。
抗菌剤塗布装置の撹拌機の制御を示すフローチャートである。
抗菌剤塗布装置で濃度センサによる制御を示すフローチャートである。
抗菌剤塗布装置の撹拌機がONとなる濃度条件を示すグラフである。
抗菌剤塗布装置の撹拌機がOFFとなる濃度条件を示すグラフである。
【発明を実施するための形態】
【0009】
以下は、添付図面を参照しながら、本開示の好適な実施形態について詳細に説明を行うものである。尚、本明細書及び図面において、実質的に同一の機能を有する構成要素については、同一の符号を付することにより重複説明を省略する。
【0010】
以下、ここでは、本発明を実施するための形態について各図を参照して詳細に説明する。各実施形態では、記録媒体としての用紙Pに対して抗菌剤を塗布し、用紙Pに対して抗菌性を保有させる態様を示している。
(【0011】以降は省略されています)
この特許をJ-PlatPat(特許庁公式サイト)で参照する
関連特許
コニカミノルタ株式会社
緩衝材
16日前
コニカミノルタ株式会社
パレット
24日前
コニカミノルタ株式会社
光計測装置
3日前
コニカミノルタ株式会社
画像形成装置
19日前
コニカミノルタ株式会社
液滴吐出装置
11日前
コニカミノルタ株式会社
画像形成方法
26日前
コニカミノルタ株式会社
画像形成装置
9日前
コニカミノルタ株式会社
画像形成装置
17日前
コニカミノルタ株式会社
情報処理装置
19日前
コニカミノルタ株式会社
超音波診断装置
17日前
コニカミノルタ株式会社
画像形成システム
18日前
コニカミノルタ株式会社
放射線撮影システム
9日前
コニカミノルタ株式会社
放射線撮影システム
9日前
コニカミノルタ株式会社
画像形成装置、画像形成方法
24日前
コニカミノルタ株式会社
用紙搬送装置及び画像形成システム
18日前
コニカミノルタ株式会社
抗菌剤塗布装置および画像形成装置
16日前
コニカミノルタ株式会社
画像読取装置及び画像形成システム
3日前
コニカミノルタ株式会社
トナー収容容器および画像形成装置
3日前
コニカミノルタ株式会社
用紙加湿装置及び画像形成システム
27日前
コニカミノルタ株式会社
開発システムおよび学習管理システム
16日前
コニカミノルタ株式会社
画像形成装置、補正方法及びプログラム
24日前
コニカミノルタ株式会社
定着部材、定着装置および画像形成装置
25日前
コニカミノルタ株式会社
定着部材、定着装置および画像形成装置
17日前
コニカミノルタ株式会社
画像形成装置、制御方法及びプログラム
3日前
コニカミノルタ株式会社
医療用検査装置、および医療用検査方法
16日前
コニカミノルタ株式会社
インクジェット記録装置及びプログラム
11日前
コニカミノルタ株式会社
仲介システム、仲介方法及びプログラム
16日前
コニカミノルタ株式会社
抽出装置、抽出方法および抽出プログラム
24日前
コニカミノルタ株式会社
動態画像解析装置、方法、及びプログラム。
9日前
コニカミノルタ株式会社
動態画像解析装置、方法、及びプログラム。
9日前
コニカミノルタ株式会社
ブラシ、ブラシの製造方法および画像形成装置
17日前
コニカミノルタ株式会社
インクジェット記録装置及びノズル面清掃方法
1か月前
コニカミノルタ株式会社
ブラシ、ブラシの製造方法および画像形成装置
17日前
コニカミノルタ株式会社
情報処理装置、情報処理方法、及び、プログラム
24日前
コニカミノルタ株式会社
画像形成装置、測色方法、および測色プログラム
1か月前
コニカミノルタ株式会社
画像形成装置、キャリア排出方法及びプログラム
19日前
続きを見る
他の特許を見る